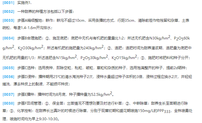
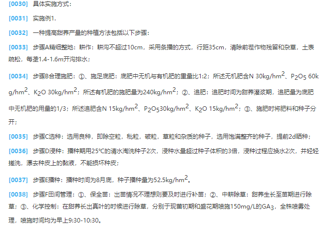
共16页 转到