科创中国
问题分诊室
具身智能与智慧医疗融合创新产业
高性能装备制造产业
智能机器人全产业链产业
中医药产业
人工智能产业
新一代信息技术产业
作物产业
量子科技与先进制造产业
海洋装备产业
煤炭开采及煤化工产业
特殊钢产业
节能环保产业
低空经济产业
光电产业
汽车产业
新能源产业
新材料产业
“以竹代塑”
成果发布厅
新型电力系统
化学领域
现代纺织
低空经济
信息通信
智慧公路
煤炭开采及煤化工
中医药
智能机器人全产业链
海洋装备
新一代信息技术
量子科技与先进制造
人工智能
高性能装备制造
具身智能与智慧医疗融合创新
作物
科创地方
科创北京
科创天津
科创内蒙古
科创辽宁
科创河北
科创湖南
科创宁夏
科创广东
科创江苏
科创广西
科创重庆
科创山东
科创河南
科创福建
科创黑龙江
科创湖北
科创浙江
科创山西
科创资讯
科创头条
科协活动
通知公告
科技政策
技术经理人
科技服务团
资源中心
项目库
问题库
案例库
开源库
学术资源
会议展览
品牌栏目
院士开讲
解码新质生产力
金融服务云课堂
企创云课堂
有问题想咨询
有成果想转化
我的交易
我的会议
我报名的路演会议
我的资讯
我的消息
我的动态
我的需求
我的成果
我的
个人资料编辑
退出登录
登录/注册
科创中国
需求发布
成果发布
科创案例库
揭榜挂帅
技术经理人
会议展览
科创联合体
科技服务团
科创资讯
科技政策
院士开讲
学术资源
城市站点
协作站点
搜索
问题库
项目库
开源库
English
我的交易
我的会议
我报名的路演会议
我的资讯
我的消息
我的动态
我的需求
我的成果
我的
个人资料编辑
退出登录
登录/注册
组织入驻
“科创中国”知识产权科技服务团
2023
专业科技服务团
“科创中国”知识产权科技服务团依托单位为盛询科技集团有限公司(下简称“盛询”)。盛询是一家从事知识产权服务、技术服务及推广、商标及版权代理、科技中介服务的公司。是保定市知识产权科普教育基地、科技工作者协同创新发展联盟成员单位。建有“科创中国”园区科技服务工作站、科技专家企业工作站、技术转移服务中心、知识产权保护服务中心、知识产权运营中心。2020年7月1日,公司科学技术协会正式成立。曾承办了保定市科协“科创中国”技术路演——生命健康(保定)专场项目路演,协助保定市知识产权协会开展了“科创中国”河北保定企业技术问题征集活动。 “科创中国”知识产权科技服务团由盛询资深专利代理师、专业技术经理人组成,重点针对试点城市——河北保定,面向生命健康、新一代信息技术、新材料、生物医药、高端装备等产业,采取走访调研、电话调研等形式,开展知识产权服务、技术诊断、科技成果转化等工作,解决技术问题,提升专利技术和科技成果转移转化能力。
收起
工作进展
活动开展
智库报告
宣讲培训
高端研讨
转化对接
组织机构
科技成果
专家人才
技术需求
服务需求
人才需求
一种苯、萘并噻咯衍生物有机光电材料及其制备方法
天津**
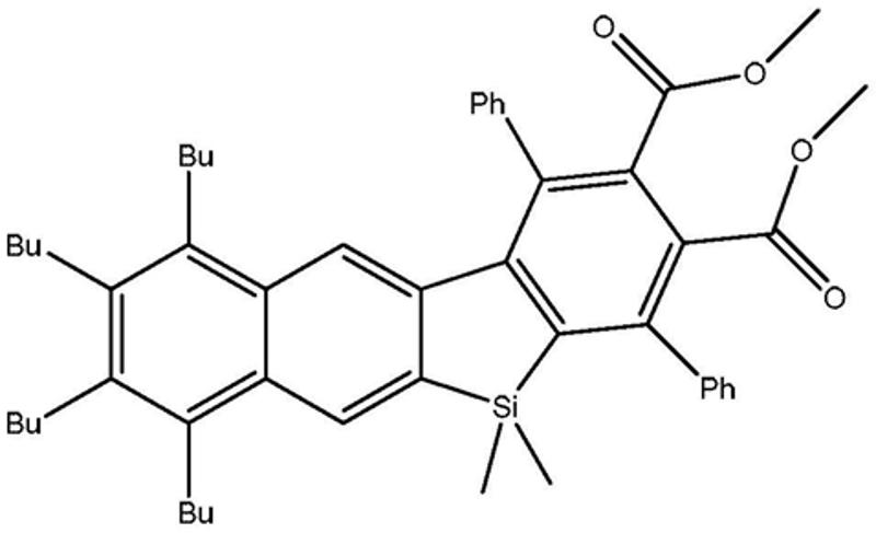
一种苯、蒽并噻咯衍生物有机光电材料及其合成方法
天津**
一种低噪音空调风机
北华****学院
一种适用于海积软土地基的微生物固化方法及灌排装置
北华****学院
一种用于娱乐的并联机构
北华****学院
一种基于太阳能式多功能PM2.5检测系统
北华****学院
多点操控旋转餐桌
北华****学院
带式给料机缓冲托辊
北华****学院
一种输送带的清洗装置
北华****学院
基于自适应滤波和泰勒级数的TIADC失配误差校准方法
北华****学院
基于最大相关最小冗余和改进花授粉算法的特征选择方法
河南**
一种并行采样系统的失配误差估计方法及系统
北华****学院
首页
1
2
3
4
下一页
尾页
共19页 转到
页