科创中国
问题分诊室
具身智能与智慧医疗融合创新产业
高性能装备制造产业
智能机器人全产业链产业
中医药产业
人工智能产业
新一代信息技术产业
作物产业
量子科技与先进制造产业
海洋装备产业
煤炭开采及煤化工产业
特殊钢产业
节能环保产业
低空经济产业
光电产业
汽车产业
新能源产业
新材料产业
“以竹代塑”
成果发布厅
新型电力系统
化学领域
现代纺织
低空经济
信息通信
智慧公路
煤炭开采及煤化工
中医药
智能机器人全产业链
海洋装备
新一代信息技术
量子科技与先进制造
人工智能
高性能装备制造
具身智能与智慧医疗融合创新
作物
科创地方
科创北京
科创天津
科创内蒙古
科创辽宁
科创江苏
科创广西
科创广东
科创重庆
科创宁夏
科创河北
科创山东
科创河南
科创福建
科创湖南
科创黑龙江
科创湖北
科创浙江
科创山西
科创资讯
科创头条
科协活动
通知公告
科技政策
技术经理人
科技服务团
资源中心
项目库
问题库
案例库
开源库
学术资源
会议展览
品牌栏目
院士开讲
解码新质生产力
金融服务云课堂
企创云课堂
有问题想咨询
有成果想转化
我的交易
我的会议
我报名的路演会议
我的资讯
我的消息
我的动态
我的需求
我的成果
我的
个人资料编辑
退出登录
登录/注册
科创中国
需求发布
成果发布
科创案例库
揭榜挂帅
技术经理人
会议展览
科创联合体
科技服务团
科创资讯
科技政策
院士开讲
学术资源
城市站点
协作站点
搜索
问题库
项目库
开源库
English
我的交易
我的会议
我报名的路演会议
我的资讯
我的消息
我的动态
我的需求
我的成果
我的
个人资料编辑
退出登录
登录/注册
组织入驻
“科创中国”贵州山地现代农业区域科技服务团
2022
区域科技服务团
以贵州省科协为牵头单位,在中国植物生理与植物分子生物学学会指导下,聚焦贵州山地现代农业,发挥贵州省植物生理与植物分子生物学学会以及全国学会的人才及资源优势,联合贵州省内高校和科研院所,充分整合和调动贵州科研力量,组建贵州山地现代农业区域科技服务团,根据国发2号文件“大力发展现代山地特色高效农业”的精神,积极推动现代种业种苗发展,无抗功能型饲料攻坚以及产业关键技术推广等,并围绕贵州脱贫攻坚成果与乡村振兴成果有效衔接工作,积极搭建科研人员与企业/农户间的桥梁,将科研论文写到大地上,发挥“科学技术是第一生产力”的功能和作用。
收起
工作进展
活动开展
智库报告
宣讲培训
高端研讨
转化对接
组织机构
科技成果
专家人才
技术需求
服务需求
人才需求
油茶育苗网袋
贵州*******公司
一种油茶育苗种子的筛选设备
贵州*******公司
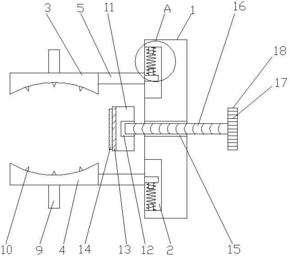
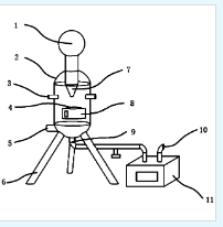
一种油茶嫁接苗种植装置
贵州*******公司
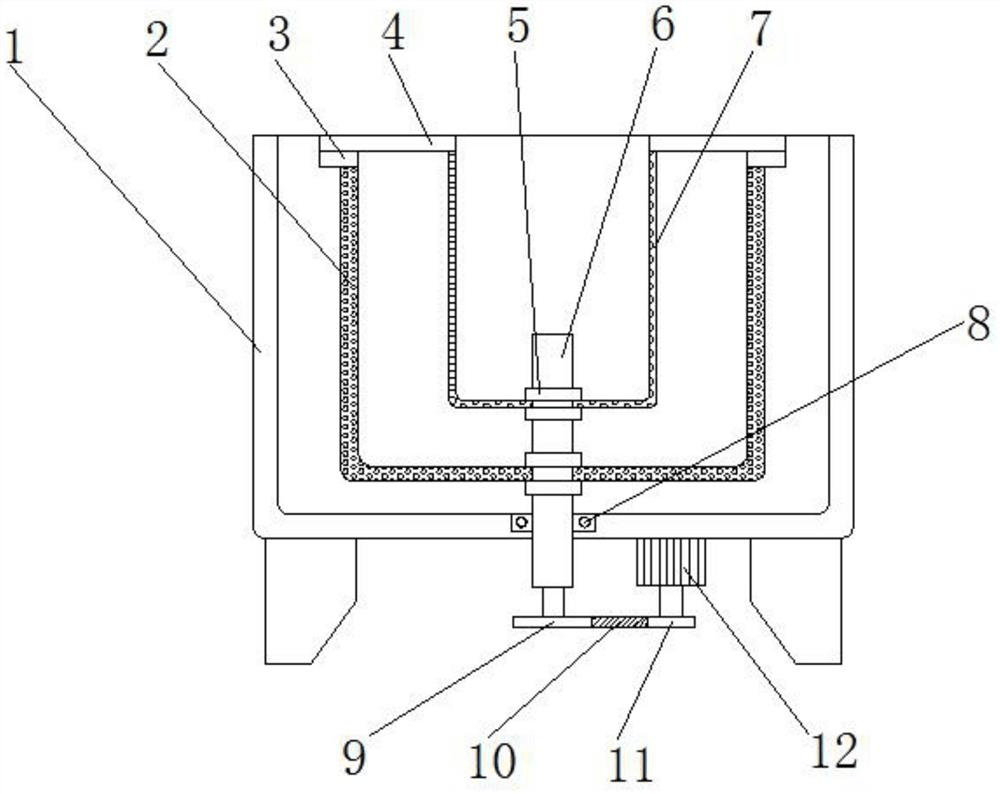
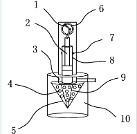
一种植物外植体液态组培装置
贵州*******公司
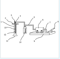
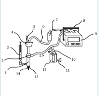
一种用于植物根际环境研究的根箱试验装置
贵州*******公司
一种水稻田间水质分析取样装置
贵州*******公司
2018217534635 一种水稻湿地淤泥取样装置
贵州*******公司
一种水稻种植根部呼吸监测装置
贵州*******公司
一种水稻种植土壤中磷元素测定装置
贵州*******公司
一种土壤微生物的分类培养装置
贵州*******公司
一种制备分析用土壤样品的装置
贵州*******公司
一种农田施肥装置
贵州*******公司
首页
上一页
4
5
6
7
8
9
10
下一页
尾页
共16页 转到
页