一种黄土充填回收房式煤柱的方法
中国矿业大学
一种光纤光栅地应力的获取方法
中国矿业大学
一种用于矿井防灭火的泡沫凝胶制备装置
中国矿业大学
基于光纤光栅传感的煤矿井筒冻结壁温度实时监测方法
中国矿业大学
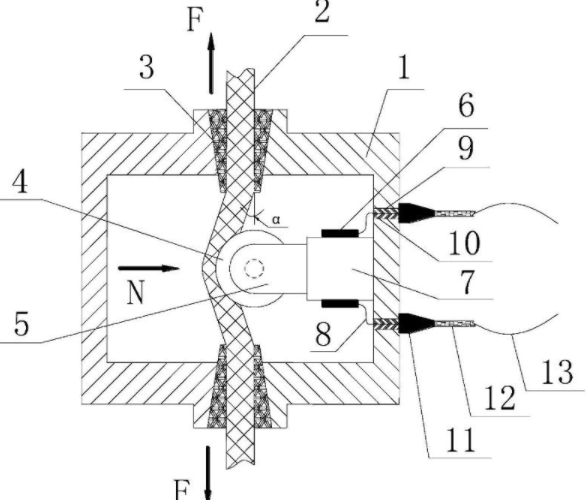
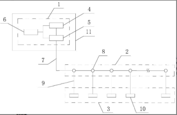
光纤光栅压缩式矿井提升设备钢丝绳张力监测装置及方法
中国矿业大学
基于光纤光栅的煤矿巷道顶板水压在线监测系统及方法
中国矿业大学
一种基于光纤光栅传感的煤矿膏体充填在线监测系统
中国矿业大学
一种矿用光纤光栅顶板离层监测装置及监测方法
中国矿业大学
煤矿井下重大危险源物联网动态监测预警方法
中国矿业大学
基于光纤光栅的巷道顶板离层动态监测系统及预警方法
中国矿业大学
光纤光栅拉伸式矿井提升设备钢丝绳张力监测装置及方法
中国矿业大学
一种大倾角煤巷整体支护装置及其使用方法
中国矿业大学
一种机械摇臂式垂直投料缓冲装置
中国矿业大学
一种超深矿井提升机多绳协同控制系统及方法
中国矿业大学
一种提升机摩擦衬垫的微滑移试验平台
中国矿业大学
一种矿用活性磁化水降尘装置
中国矿业大学
一种钢丝绳提升矿车取料机
中国矿业大学
一种悬吊驱动横置抓料机构
中国矿业大学
一种多功能煤岩单齿截割试验装置及方法
中国矿业大学
一种基于自适应滤波器同步电机低速段无传感器控制方法
中国矿业大学
共253页 转到