石灰性土壤中解磷细菌的初步研究
青海省生产力促进中心
一种复配农药
青海威德特种糖业技术有限公司
新型防除狼毒复配除草剂中间试验与示范
青海省生产力促进中心
超临界二氧化碳萃取枸杞籽油的方法
青海威德特种糖业技术有限公司
一种高吸油树脂及其制备方法
青海威德特种糖业技术有限公司
一种农作物的种植方法
青海威德特种糖业技术有限公司
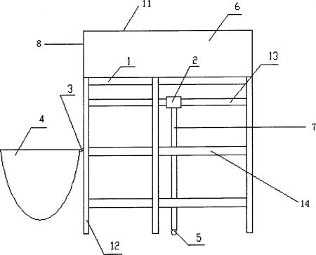
一种牦牛藏羊试验用简易围栏
青海省生产力促进中心
一种马铃薯收获机
青海省生产力促进中心
一种马铃薯杀秧机
青海省生产力促进中心
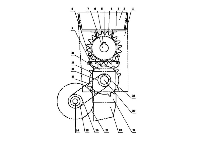
不完整齿轮间隙驱动螺旋槽排种轮式蚕豆排种器
青海省生产力促进中心
一种马铃薯种植机
青海省生产力促进中心
一种枸杞除草机
青海省生产力促进中心
一种深水圆形网箱盖网支架
青海省生产力促进中心
一种提高马铃薯富硒能力的叶面肥
青海省生产力促进中心
一种植物源农药及其制备方法
青海省生产力促进中心
一种杀菌杀虫农药烟熏剂及其制备方法
青海省生产力促进中心
一种组装式钢制网箱框架
青海省生产力促进中心
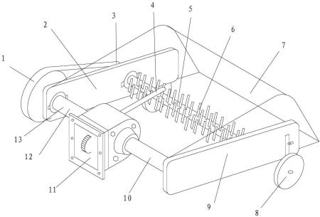
八棱柱半圆柱式窝眼拨籽轮蚕豆排种器
青海省生产力促进中心
高淀粉马铃薯资源的花药培养
青海省生产力促进中心
一种鱼卵孵化器
青海省生产力促进中心
共342页 转到