商用机器人(广东品骉机器人科技有限公司)
广东省机器人协会
早教机器人(广东品骉机器人科技有限公司)
广东省机器人协会
机器人智慧眼(东莞伟景智能科技有限公司)
广东省机器人协会
数字全息显微镜
中国兵工学会
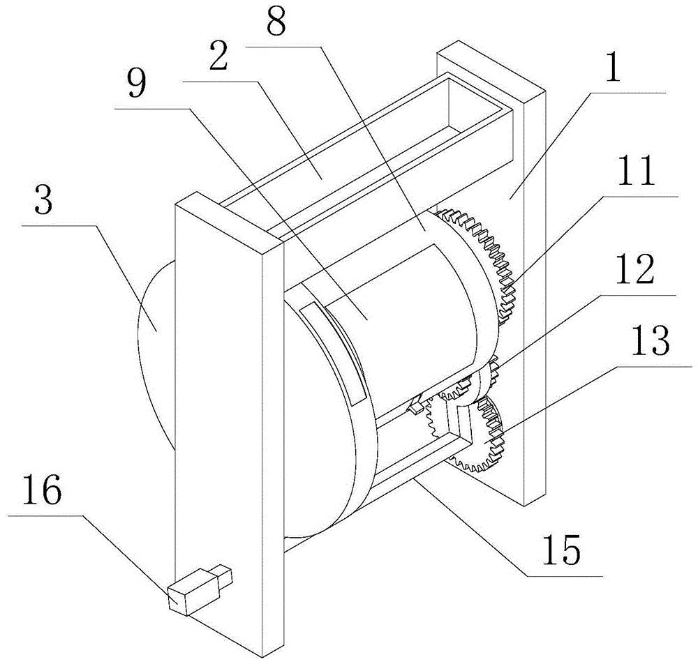
圆弧板翻边机的传动机构
江阴职业技术学院
便携式圆棍加工器及其加工方法
江阴职业技术学院
基于LED阵列的无透镜显微成像系统
中国兵工学会
高压/特高压开关断路器液压碟簧操动装置
泰安市泰和电力设备有限公司
扫地机器人:FREE MOVE 技术
深圳市云视机器人有限公司
一种柴油发动机电控高压共轨喷油系统用比例电磁阀
盛询科技集团
全流程智能制造管理平台
青岛一凌网集成有限公司
一种对零散件表面镀锌的滚筒装置
盛询科技集团
一种具有螺纹并旋转的单螺杆挤出机机筒
盛询科技集团
一种螺旋弹性管束太阳能真空集热管及真空集热系统
山东大学
水电设备虚拟运维仿真技术
河海大学电机工程院
激光定点清除技术
中国兵工学会
轻型高速水陆两栖车(系列)
盛询科技集团有限公司
八轴五联动车铣复合加工中心
山东省机械设计研究院
重型压力容器轻量化设计制造关键技术及工程应用
合肥通用机械研究院有限公司
高性能汽车多智能体底盘动态协调与智能控制关键技术及产业化
南京航空航天大学
共260页 转到