废旧石膏的高效利用及纳米绝缘技术
国科温州研究院
邻苯二甲腈改性苯并恶嗪与环氧树脂复合材料及制备与应用
国科温州研究院
一种富锂锰基固溶体/石墨烯复合材料及其制备方法
国科温州研究院
一种低温SCR蜂窝催化剂的制备方法
无锡立信环保科技有限公司
一种利用含铬废液制备陶瓷色釉料的方法
江苏拜富科技有限公司
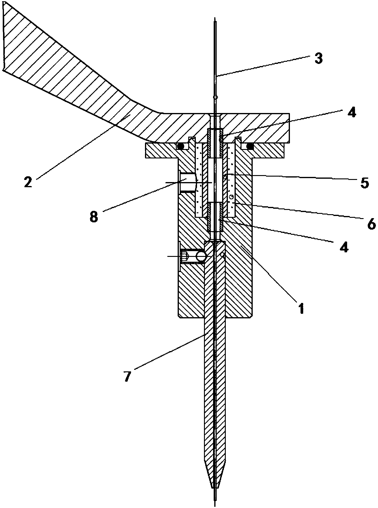
一种气动涨式电极丝常开夹子
无锡微研精微机械技术有限公司
涡轮转子精磨外圆的砂轮
无锡明珠增压器制造有限公司
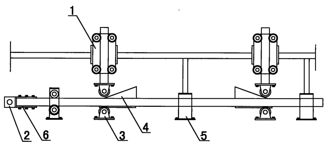
洗砂机的搅拌结构
无锡市诚信洗选设备有限公司
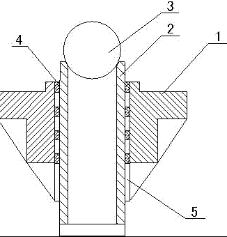
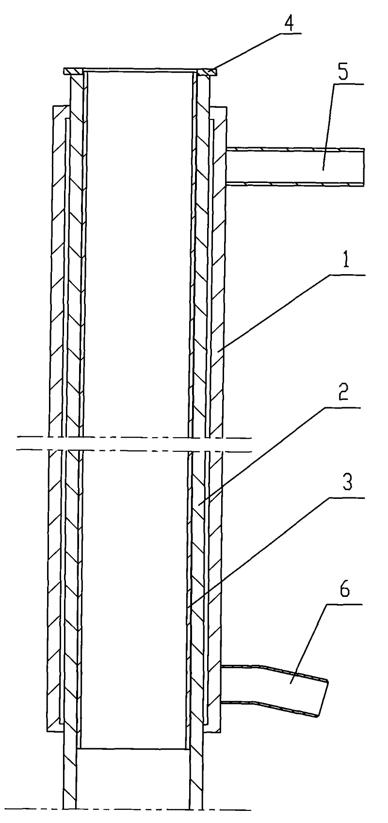
一种改进型水冷放渣管的防磨结构
无锡华光锅炉股份有限公司
一种高效稳定的氯化银光催化剂的制备方法
湖北文理学院
一种2-芳氨基乙酰胺类化合物的制备方法
湖北文理学院
应用于电化学储能装置的电极及其制备方法
湖北文理学院
多功能海装舰船维保系统
广东豪智科技有限公司
CoFeO/石墨烯复合纳米纤维的制备方法及应用
湖北文理学院
一种密封式焊接座
无锡明珠钢球有限公司
一种阴极移动推杆机构
无锡市星亿涂装环保设备有限公司
一种水解型无锡自抛光防污漆
无锡市海轮涂料有限公司
折边型塑料薄膜袋
无锡佳泰科技有限公司
防水型聚酰亚胺烧结膜包换位导线
无锡环宇电磁线有限公司
组合工艺去除水体重金属离子
天津联创科技发展有限公司
共210页 转到