移动单兵音视频系统和产品
浙江理工大学瓯海研究院
集成电路高频电磁 设计平台
浙江理工大学瓯海研究院
无线无源声表面波测温系统
浙江理工大学瓯海研究院
一种WAP环境下主动式信息供给方法
中国矿业大学
基于物联网数据的 3D 可视化技术
浙江理工大学瓯海研究院
面向大规模信息处理的 GPU 集群技术
浙江理工大学瓯海研究院
智慧社区平台及应用产品
浙江理工大学瓯海研究院
基于深度学习的监控视角人物识别方法
浙江理工大学瓯海研究院
物联网鱼塘终端监控系统
浙江理工大学瓯海研究院
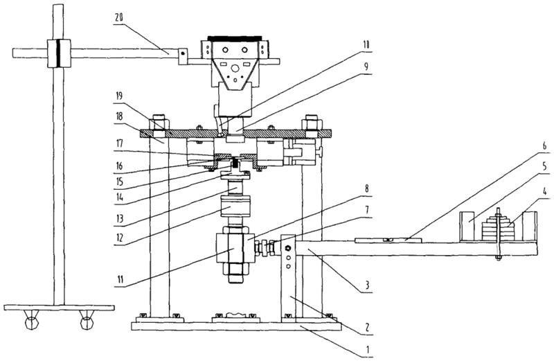
一种实时动态观测摩擦界面的端面扭动摩擦磨损试验机及方法
中国矿业大学
开关磁阻电动机分步续流无位置传感器控制方法
中国矿业大学
开关磁阻电机忆阻器线性建模方法
中国矿业大学
开关磁阻发电机无位置传感器控制方法
中国矿业大学
多功能物流装备多领域优化设计及控制系统
浙江理工大学瓯海研究院
三维数字娱乐和虚拟现实展示
常州龙城中高技术转移转化有限公司
自助金融机具开发平台
常州龙城中高技术转移转化有限公司
大数据跨界云服务及其在信息经济中的应用
浙江理工大学瓯海研究院
室内广域高精度组合导航与信号管控系统
浙江理工大学瓯海研究院
稀土永磁无刷直流电动机驱动系统
浙江理工大学瓯海研究院
一级A提标改造系统开发
江西省蓝源科技股份有限公司
共356页 转到