科创中国
问题分诊室
具身智能与智慧医疗融合创新产业
高性能装备制造产业
智能机器人全产业链产业
中医药产业
人工智能产业
新一代信息技术产业
作物产业
量子科技与先进制造产业
海洋装备产业
煤炭开采及煤化工产业
特殊钢产业
节能环保产业
低空经济产业
光电产业
汽车产业
新能源产业
新材料产业
“以竹代塑”
成果发布厅
新型电力系统
化学领域
现代纺织
低空经济
信息通信
智慧公路
煤炭开采及煤化工
中医药
智能机器人全产业链
海洋装备
新一代信息技术
量子科技与先进制造
人工智能
高性能装备制造
具身智能与智慧医疗融合创新
作物
科创地方
科创北京
科创天津
科创内蒙古
科创辽宁
科创河北
科创湖南
科创宁夏
科创广东
科创江苏
科创广西
科创重庆
科创山东
科创河南
科创福建
科创黑龙江
科创湖北
科创浙江
科创山西
科创资讯
科创头条
科协活动
通知公告
科技政策
技术经理人
科技服务团
资源中心
项目库
问题库
案例库
开源库
学术资源
会议展览
品牌栏目
院士开讲
解码新质生产力
金融服务云课堂
企创云课堂
有问题想咨询
有成果想转化
我的交易
我的会议
我报名的路演会议
我的资讯
我的消息
我的动态
我的需求
我的成果
我的
个人资料编辑
退出登录
登录/注册
科创中国
需求发布
成果发布
科创案例库
揭榜挂帅
技术经理人
会议展览
科创联合体
科技服务团
科创资讯
科技政策
院士开讲
学术资源
城市站点
协作站点
搜索
问题库
项目库
开源库
English
我的交易
我的会议
我报名的路演会议
我的资讯
我的消息
我的动态
我的需求
我的成果
我的
个人资料编辑
退出登录
登录/注册
组织入驻
隐藏工作区
全国
在线展厅
切换展厅
全国
北京市
天津市
河北省
山西省
内蒙古
辽宁省
吉林省
黑龙江省
上海市
江苏省
浙江省
安徽省
福建省
江西省
山东省
河南省
湖北省
湖南省
广东省
广西
海南省
重庆市
四川省
贵州省
云南省
西藏
陕西省
甘肃省
青海省
宁夏
新疆
新疆兵团
路演活动
科技成果
参观
人数
0
0
0
0
0
0
0
点赞
人数
0
0
0
0
0
0
0
技术领域
全部
新兴行业
|
新基建
|
电子信息
|
高端产业
|
生物医药
|
石化与新材料
|
智能机械与光机电一体化
|
节能环保
|
新能源
|
现代农业
|
高端技术服务业
|
农林牧副渔
|
城建规划
|
文化创意
|
矿山工程
|
冶金工程
|
企业管理
|
知识产权
|
智库咨询
|
旅游休闲娱乐
|
企业发展服务
|
电子商务
|
纺织
|
其他
|
更多
一种活塞总成组装系统
一汽解放汽车有限公司
一种棉质免烫凉感成衣的生产方法
江苏阳光集团有限公司
水动力噪声消声装置及其应用结构
中国船舶科学研究中心
8通道放大器模块及组合的多波束测深仪接收放大器
无锡市海鹰加科海洋技术有限责任公司
一种金属护栏高耐候性粉末涂料及其制备方法和应用
苏亿护栏有限公司
一种包含菲基三芳胺类化合物的有机电致发光装置及其应用
江苏三月科技股份有限公司
屏蔽栅结构沟槽型功率半导体器件及其制备方法
无锡先瞳半导体科技有限公司
一种石油污染土壤重金属处理剂及其制备方法
江苏暨之阳环保科技有限公司
双驱动卧式两用放线装置
无锡广盈集团有限公司
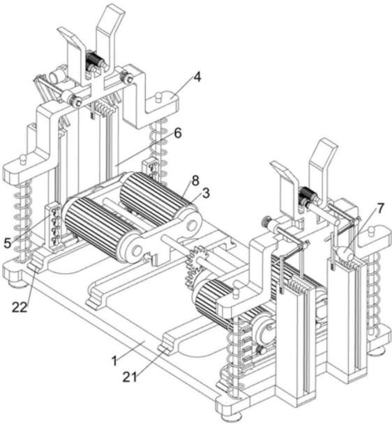
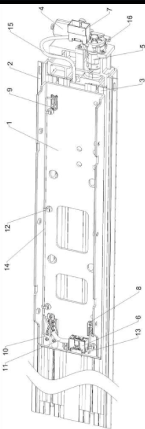
一种母排贴胶上料工作站
无锡易泽赛尔智能装备有限公司
一种车载冰箱移动平台
无锡全盛安仁机械有限公司
一种具定位功能的搬运夹爪及等距搬运机构
无锡沃格自动化科技股份有限公司
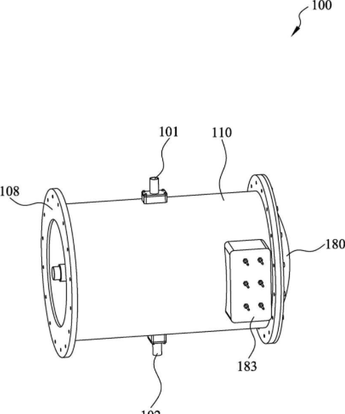
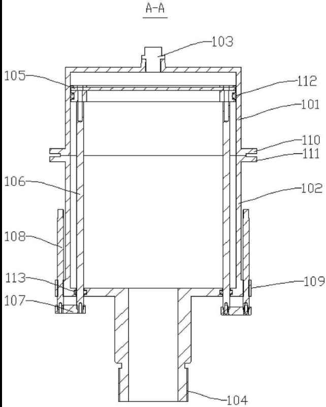
电机
江森自控科技公司
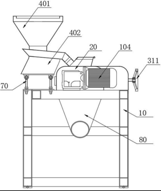
一种高效环保型对辊破碎机及其工作方法
无锡市鑫燕粉体机械有限公司
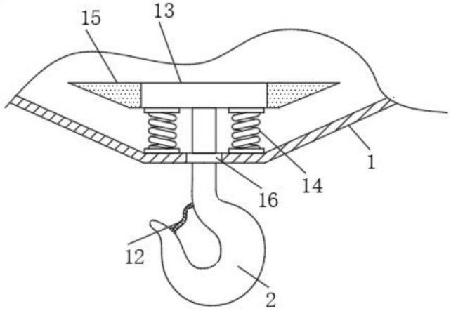
一种塔式起重机用高精度吊钩连接结构
徐州国联建机有限公司
一种换热器用铝合金板材及其制备方法
无锡市世达精密焊管制造有限公司
一种海上、岩石用大规格高强度风电紧固件钢及其制造方法
江阴兴澄特种钢铁有限公司
一种丝网印刷工艺用网板油墨清理设备及其使用工艺
中建材(宜兴)新能源有限公司
屏蔽栅沟槽型场效应晶体管及其制备方法
无锡先瞳半导体科技有限公司
鲜桑叶制备桑蚕人工饲料快速加工系统
无锡轻大食品装备有限公司
首页
上一页
22
23
24
25
26
27
28
下一页
尾页
共1490页 转到
页