科创中国
问题分诊室
具身智能与智慧医疗融合创新产业
高性能装备制造产业
智能机器人全产业链产业
中医药产业
人工智能产业
新一代信息技术产业
作物产业
量子科技与先进制造产业
海洋装备产业
煤炭开采及煤化工产业
特殊钢产业
节能环保产业
低空经济产业
光电产业
汽车产业
新能源产业
新材料产业
“以竹代塑”
成果发布厅
新型电力系统
化学领域
现代纺织
低空经济
信息通信
智慧公路
煤炭开采及煤化工
中医药
智能机器人全产业链
海洋装备
新一代信息技术
量子科技与先进制造
人工智能
高性能装备制造
具身智能与智慧医疗融合创新
作物
科创地方
科创北京
科创天津
科创内蒙古
科创辽宁
科创河北
科创湖南
科创宁夏
科创广东
科创江苏
科创广西
科创重庆
科创山东
科创河南
科创福建
科创黑龙江
科创湖北
科创浙江
科创山西
科创资讯
科创头条
科协活动
通知公告
科技政策
技术经理人
科技服务团
资源中心
项目库
问题库
案例库
开源库
会议展览
品牌栏目
院士开讲
解码新质生产力
金融服务云课堂
企创云课堂
有问题想咨询
有成果想转化
我的交易
我的会议
我报名的路演会议
我的资讯
我的消息
我的动态
我的需求
我的成果
我的
个人资料编辑
退出登录
登录/注册
科创中国
需求发布
成果发布
科创案例库
揭榜挂帅
技术经理人
会议展览
科创联合体
科技服务团
科创资讯
科技政策
院士开讲
学术资源
城市站点
协作站点
搜索
问题库
项目库
开源库
English
我的交易
我的会议
我报名的路演会议
我的资讯
我的消息
我的动态
我的需求
我的成果
我的
个人资料编辑
退出登录
登录/注册
组织入驻
隐藏工作区
全国
在线展厅
切换展厅
全国
北京市
天津市
河北省
山西省
内蒙古
辽宁省
吉林省
黑龙江省
上海市
江苏省
浙江省
安徽省
福建省
江西省
山东省
河南省
湖北省
湖南省
广东省
广西
海南省
重庆市
四川省
贵州省
云南省
西藏
陕西省
甘肃省
青海省
宁夏
新疆
新疆兵团
路演活动
科技成果
参观
人数
0
0
0
0
0
0
0
点赞
人数
0
0
0
0
0
0
0
技术领域
全部
新兴行业
|
新基建
|
电子信息
|
高端产业
|
生物医药
|
石化与新材料
|
智能机械与光机电一体化
|
节能环保
|
新能源
|
现代农业
|
高端技术服务业
|
农林牧副渔
|
城建规划
|
文化创意
|
矿山工程
|
冶金工程
|
企业管理
|
知识产权
|
智库咨询
|
旅游休闲娱乐
|
企业发展服务
|
电子商务
|
纺织
|
其他
|
更多
生态环保卫生间系列产品
兰石集团
一种曲线管棚施工用盾构隧道预制复合管片
山东大学
电动工具复合材料(塑料)齿轮
杭州电子科技大学
桥面支撑带行走装置的组装式立交道路系统
盛询科技集团
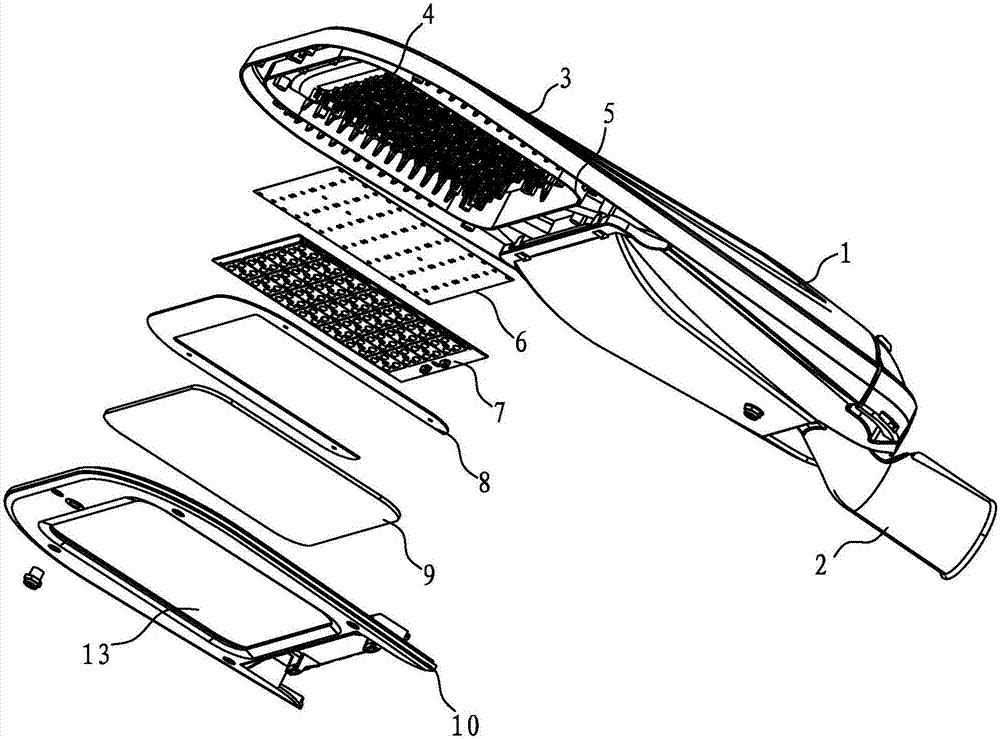
一种分段散热的LED路灯
盛询科技集团
修补胶带的硫化装置
盛询科技集团
书画拉抻装置
盛询科技集团
便携书画纸张拉抻器
盛询科技集团
一种可调密码锁
盛询科技集团
全自动洗甩拖布机
盛询科技集团
一种擦玻璃装置
盛询科技集团
农村污水一体化处理设备
甘肃省膜科学技术研究院有限公司
一种揪片刀
盛询科技集团
一种轮胎防滑套
盛询科技集团
用于减少胎儿出生缺陷的围孕期女性叶酸个体化精准补充服务平台的建立
无锡市妇幼保健院
高性能40000吨自卸船全自主研发
中船澄西船舶修造有限公司
小型切削液净化处理设备
无锡职业技术学院
新能源汽车轻量化动力系统用电缆的研发及产业化
远东电缆有限公司
基于移动互联⽹+技术的规范化饮⻝护理方案在消化道早癌ESD 术患者围术期管理中的应用
江南大学附属医院
新型心房颤动导管消融体系
无锡市人民医院
首页
上一页
1143
1144
1145
1146
1147
1148
1149
下一页
尾页
共4040页 转到
页