一种打胶粒钉的钉枪结构
广东省科学院佛山产业技术研究院
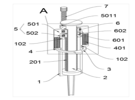
一种自动送钉钉枪装置
广东省科学院佛山产业技术研究院
光子辅助射频稳相传输方法与系统
湖南工学院
一种用于诊断阿尔茨海默病的诊断试剂
广东省科学院佛山产业技术研究院有限公司
一种利用绣球菌子实体提取高含量维生素D2的方法
广东省科学院佛山产业技术研究院有限公司
一种微乳面膜液、微乳面膜及其制备方法
广东省科学院佛山产业技术研究院有限公司
一种鱼籽小分子肽面膜液、面膜的制备方法
广东省科学院佛山产业技术研究院有限公司
新型冠状病毒(2019-nCoV)抗原检测试剂盒(胶体金法)
天津博奥赛斯生物科技股份有限公司
一种用于人体流感疫苗检测的控量添加装置
广东省科学院佛山产业技术研究院有限公司
一种保健品生产用化胶罐及其使用方法
广东省科学院佛山产业技术研究院有限公司
一种新型酒精炉
广东省科学院佛山产业技术研究院
一种余热预热功能的壁挂炉
广东省科学院佛山产业技术研究院
一种装修后家用的甲醛检测试剂盒
广东省科学院佛山产业技术研究院有限公司
电力参数远程监测装置
包头迈坦科技服务有限公司
一种林下套种南板蓝根连续高产的方法
广东省科学院佛山产业技术研究院有限公司
一种紫甘薯花青素合成提取方法
广东省科学院佛山产业技术研究院有限公司
一种冷冻黄精药膳鸡的制备方法
广东省科学院佛山产业技术研究院有限公司
一种黄粉虫高蛋白饲料生产方法
广东省科学院佛山产业技术研究院有限公司
一种用于壁挂炉的水冷燃烧器
广东省科学院佛山产业技术研究院
一种低碳烷烃脱氢制烯烃催化剂及其制备方法
广东省科学院佛山产业技术研究院有限公司
共15997页 转到