汽油浸泡后自动松弛的适用于捆扎阻隔防爆填充物的弹性捆带及其制备方法及捆扎方法
常州大学
红枣粉的制备方法
石河子大学
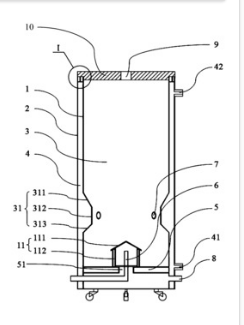
一种烘箱及其烘干方法
华北理工大学
一种间接竞争酶连适配体检测土霉素残留的方法
新疆农垦科学院
一种马弗炉及其使用方法
华北理工大学
铷硼碳氧碘氢和铷硼碳氧碘氢非线性光学晶体及制备方法和用途
中国科学院新疆理化技术研究所
铯铅碳氧碘双折射晶体及制备方法和用途
中国科学院新疆理化技术研究所
一种基于反射光强的多孔硅微腔生物传感器检测生物分子的方法
新疆大学
批量调度系统研究开发
包头迈坦科技服务有限公司
微生态制剂改善产品品质技术
福州大学
一种利用高炉高温熔渣显热在线处理含锌粉尘的方法及其应用
华北理工大学
一种提取分离万寿菊中叶黄素的方法
石河子大学
一种中频无芯感应电炉
湖北环亚汽车零部件有限公司
一株核桃枝枯病拮抗细菌及其应用
新疆农业大学
一种转向节分离支架
湖北环亚汽车零部件有限公司
一种履带式抛丸清理机
湖北环亚汽车零部件有限公司
植物乳杆菌WZMX-2与应用及其制备的乳清梨酒
新疆农业大学
一种转向节压铸模具
湖北环亚汽车零部件有限公司
一种电化学性能优良的负极材料及其制备方法和制品
新疆大学
宁夏酒庄葡萄酒清洁生产及废水废物管控(防控)研究
宁夏大学
共16046页 转到