科创中国
问题分诊室
具身智能与智慧医疗融合创新产业
高性能装备制造产业
智能机器人全产业链产业
中医药产业
人工智能产业
新一代信息技术产业
作物产业
量子科技与先进制造产业
海洋装备产业
煤炭开采及煤化工产业
特殊钢产业
节能环保产业
低空经济产业
光电产业
汽车产业
新能源产业
新材料产业
“以竹代塑”
成果发布厅
新型电力系统
化学领域
现代纺织
低空经济
信息通信
智慧公路
煤炭开采及煤化工
中医药
智能机器人全产业链
海洋装备
新一代信息技术
量子科技与先进制造
人工智能
高性能装备制造
具身智能与智慧医疗融合创新
作物
科创地方
科创北京
科创天津
科创内蒙古
科创辽宁
科创河北
科创湖南
科创宁夏
科创广东
科创江苏
科创广西
科创重庆
科创山东
科创河南
科创福建
科创黑龙江
科创湖北
科创浙江
科创山西
科创资讯
科创头条
科协活动
通知公告
科技政策
技术经理人
科技服务团
资源中心
项目库
问题库
案例库
开源库
会议展览
品牌栏目
院士开讲
解码新质生产力
金融服务云课堂
企创云课堂
有问题想咨询
有成果想转化
我的交易
我的会议
我报名的路演会议
我的资讯
我的消息
我的动态
我的需求
我的成果
我的
个人资料编辑
退出登录
登录/注册
科创中国
需求发布
成果发布
科创案例库
揭榜挂帅
技术经理人
会议展览
科创联合体
科技服务团
科创资讯
科技政策
院士开讲
学术资源
城市站点
协作站点
搜索
问题库
项目库
开源库
English
我的交易
我的会议
我报名的路演会议
我的资讯
我的消息
我的动态
我的需求
我的成果
我的
个人资料编辑
退出登录
登录/注册
组织入驻
隐藏工作区
全国
在线展厅
切换展厅
全国
北京市
天津市
河北省
山西省
内蒙古
辽宁省
吉林省
黑龙江省
上海市
江苏省
浙江省
安徽省
福建省
江西省
山东省
河南省
湖北省
湖南省
广东省
广西
海南省
重庆市
四川省
贵州省
云南省
西藏
陕西省
甘肃省
青海省
宁夏
新疆
新疆兵团
路演活动
科技成果
参观
人数
0
0
0
0
0
0
0
点赞
人数
0
0
0
0
0
0
0
技术领域
全部
新兴行业
|
新基建
|
电子信息
|
高端产业
|
生物医药
|
石化与新材料
|
智能机械与光机电一体化
|
节能环保
|
新能源
|
现代农业
|
高端技术服务业
|
农林牧副渔
|
城建规划
|
文化创意
|
矿山工程
|
冶金工程
|
企业管理
|
知识产权
|
智库咨询
|
旅游休闲娱乐
|
企业发展服务
|
电子商务
|
纺织
|
其他
|
更多
一种大豆多肽酶解装置
哈尔滨商业大学
罗望子种仁球蛋白-EGCG共价复合物的制备及其在乳化香肠中的应用
哈尔滨商业大学
差分脉冲伏安法对果蔬中亚硝酸盐和抗坏血酸的同时测定
哈尔滨商业大学
减轻风致振动的钢管避雷针
国网新疆电力公司电力科学研究院
智慧热力服务系统
郑大化工学院
富硒营养强化留胚米的制备工艺优化及其品质特性研究
哈尔滨商业大学
从环己醇精馏塔釜液中回收环己醇的方法
郑大化工学院
一种基于动态噪声估计时频域自适应语音检测方法
成都高新区菁蓉汇园区科协
宽频带背景噪声与语音分离检测系统及方法
成都高新区菁蓉汇园区科协
热休克转录因子1在调控15kDa硒蛋白表达中的应用
深圳博士创新技术转移有限公司
人工神经网络处理器集成电路及该集成电路的设计方法
成都高新区菁蓉汇园区科协
一种大豆蛋白粉的干燥装置
哈尔滨商业大学
15kDa硒蛋白基因的启动子及其核心区与应用
深圳博士创新技术转移有限公司
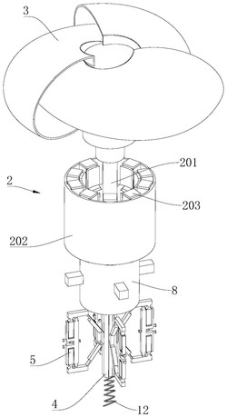
冲片、电机铁芯、电机系统及风力发电机组
新疆金风科技股份有限公司
一种基因定点多位点突变的方法
深圳博士创新技术转移有限公司
一种链板式留胚米用研磨生产装置及研磨方法
哈尔滨商业大学
一种抗震型装配式建筑
重庆建筑科技职业学院
一种豆粕内大豆蛋白的生产提取设备及提取方法
哈尔滨商业大学
一种公路路基边坡防护装置
重庆建筑科技职业学院
基于AOAC法对Englyst法测定粳米淀粉消化特性的优化
哈尔滨商业大学
首页
上一页
3811
3812
3813
3814
3815
3816
3817
下一页
尾页
共16046页 转到
页