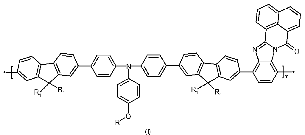
一种催化合成4-酰基芳烷基苯酚衍生物的方法
江苏理工学院
修复轴类钢零件表面螺纹专用铁基合金粉末及方法
南华大学
用混合菌浸取废弃印刷电路板中铜的方法
江苏理工学院
一种含铬铁铝的硫酸体系溶液中铬和铁铝的分离方法
江苏理工学院
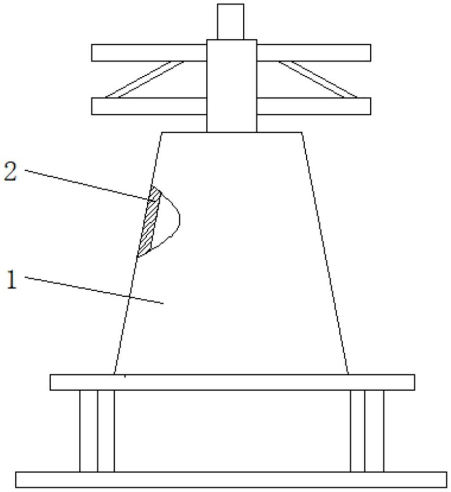
一种岩石力学室内试验稳定水压加载装置
南华大学
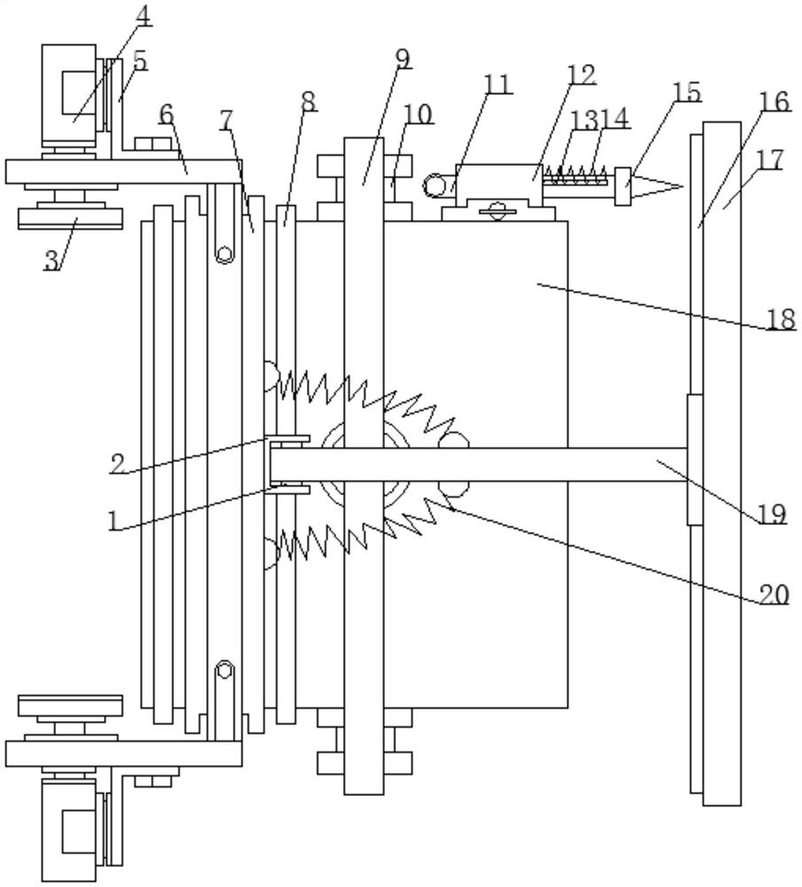
高精度金属钢带自动感应装置
广东省科学院佛山产业技术研究院有限公司
热电偶精确定位装置
广东省科学院佛山产业技术研究院有限公司
增韧填充母粒及其制备方法
江苏理工学院
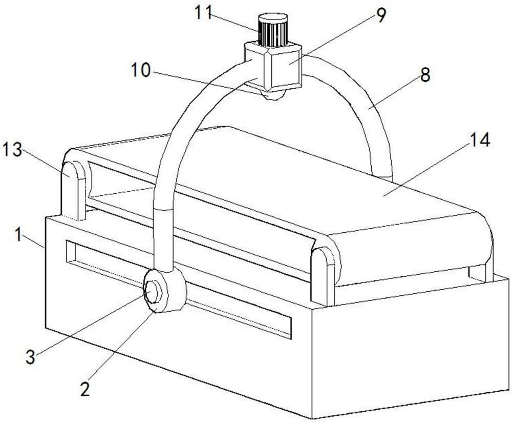
一种反压式卷烟包装打码装置
南华大学
无人机停放库
南华大学
编码器固定装置
广东省科学院佛山产业技术研究院有限公司
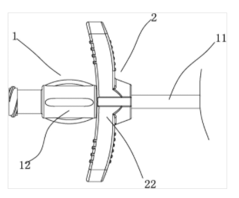
一种高精度平衡对中装置
广东省科学院佛山产业技术研究院有限公司
高硅镍铜合金精铸件
南开科协
钢带水冷淬火装置
广东省科学院佛山产业技术研究院有限公司
基于稀疏编码的监控车辆特征表示及分类方法
江苏理工学院
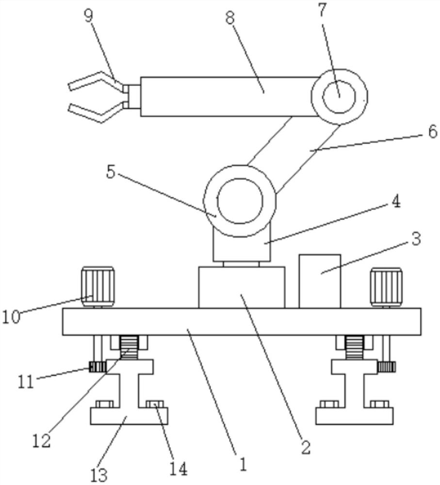
一种高精度机械手自动检测旋转吸料装置
广东省科学院佛山产业技术研究院有限公司
一种稳定线性电源调整管压降电路
江苏理工学院
抗热腐蚀DZ411定向合金与涡轮叶片
南开科协
一种镁铝合金成型热处理防变形紧锁夹具
广东省科学院佛山产业技术研究院有限公司
一种滑动式液压金属带材自动切刀装置
广东省科学院佛山产业技术研究院有限公司
共16046页 转到