种植牙用引导固定装置
哈尔滨医科大学
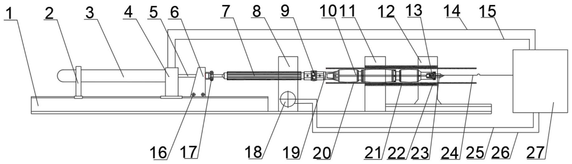
药物注射器辅助装置
哈尔滨医科大学
社会网中基于主题兴趣的影响最大化方法
黑龙江大学
一种新型掰瓶器
哈尔滨医科大学
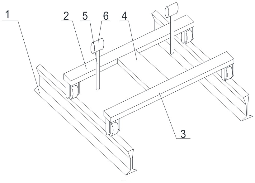
断路器相间隔板防掉落结构
黑龙江大学
外科术后病服
哈尔滨医科大学
供配电开关柜泄压装置
黑龙江大学
留置针固定带
哈尔滨医科大学
具有预防口腔阻塞的药物雾化吸入装置及吸入方法
黑龙江大学
一种超声波强度实时监测装置
哈尔滨医科大学
一种福尔马林固定组织非靶标代谢组学研究的样品前处理方法
哈尔滨医科大学
一种中文词汇讲解展示板
黑龙江大学
应用于主动临时起搏电极的转换器
哈尔滨医科大学
一种新型中文教学用教具
黑龙江大学
主动临时起搏电极
哈尔滨医科大学
电泳法负载庆大霉素的镁基钙磷/壳聚糖/纳米管载药膜层的制备方法
哈尔滨医科大学
一种中文古诗教学用辅助背诵展板
黑龙江大学
负载庆大霉素的镁基钙磷/壳聚糖/纳米管骨植入材料
哈尔滨医科大学
一株从人体肠道中分离的能产生抗癌活性代谢产物的细菌AD05及其用途
哈尔滨医科大学
立式药盒组收纳装置
黑龙江大学
共16046页 转到