科创中国
问题分诊室
具身智能与智慧医疗融合创新产业
高性能装备制造产业
智能机器人全产业链产业
中医药产业
人工智能产业
新一代信息技术产业
作物产业
量子科技与先进制造产业
海洋装备产业
煤炭开采及煤化工产业
特殊钢产业
节能环保产业
低空经济产业
光电产业
汽车产业
新能源产业
新材料产业
“以竹代塑”
成果发布厅
新型电力系统
化学领域
现代纺织
低空经济
信息通信
智慧公路
煤炭开采及煤化工
中医药
智能机器人全产业链
海洋装备
新一代信息技术
量子科技与先进制造
人工智能
高性能装备制造
具身智能与智慧医疗融合创新
作物
科创地方
科创北京
科创天津
科创内蒙古
科创辽宁
科创河北
科创湖南
科创宁夏
科创广东
科创江苏
科创广西
科创重庆
科创山东
科创河南
科创福建
科创黑龙江
科创湖北
科创浙江
科创山西
科创资讯
科创头条
科协活动
通知公告
科技政策
技术经理人
科技服务团
资源中心
项目库
问题库
案例库
开源库
会议展览
品牌栏目
院士开讲
解码新质生产力
金融服务云课堂
企创云课堂
有问题想咨询
有成果想转化
我的交易
我的会议
我报名的路演会议
我的资讯
我的消息
我的动态
我的需求
我的成果
我的
个人资料编辑
退出登录
登录/注册
科创中国
需求发布
成果发布
科创案例库
揭榜挂帅
技术经理人
会议展览
科创联合体
科技服务团
科创资讯
科技政策
院士开讲
学术资源
城市站点
协作站点
搜索
问题库
项目库
开源库
English
我的交易
我的会议
我报名的路演会议
我的资讯
我的消息
我的动态
我的需求
我的成果
我的
个人资料编辑
退出登录
登录/注册
组织入驻
隐藏工作区
全国
在线展厅
切换展厅
全国
北京市
天津市
河北省
山西省
内蒙古
辽宁省
吉林省
黑龙江省
上海市
江苏省
浙江省
安徽省
福建省
江西省
山东省
河南省
湖北省
湖南省
广东省
广西
海南省
重庆市
四川省
贵州省
云南省
西藏
陕西省
甘肃省
青海省
宁夏
新疆
新疆兵团
路演活动
科技成果
参观
人数
0
0
0
0
0
0
0
点赞
人数
0
0
0
0
0
0
0
技术领域
全部
新兴行业
|
新基建
|
电子信息
|
高端产业
|
生物医药
|
石化与新材料
|
智能机械与光机电一体化
|
节能环保
|
新能源
|
现代农业
|
高端技术服务业
|
农林牧副渔
|
城建规划
|
文化创意
|
矿山工程
|
冶金工程
|
企业管理
|
知识产权
|
智库咨询
|
旅游休闲娱乐
|
企业发展服务
|
电子商务
|
纺织
|
其他
|
更多
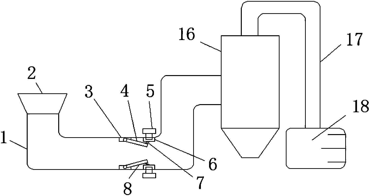
上装式智能无人装车设备
科学技术部火炬高技术产业开发中心技术市场与成果转化处
一种三氧化钨薄膜气敏传感器
黑龙江大学
电子制造用低熔点无铅封接玻璃材料与封接技术
哈尔滨工业大学(深圳)(哈尔滨工业大学深圳科技创新研究院)
高能量密度富锂型锂离子电池正极材料
哈尔滨工业大学(深圳)(哈尔滨工业大学深圳科技创新研究院)
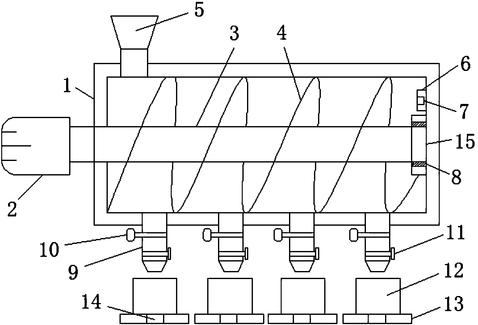
侧装式智能无人装车设备
科学技术部火炬高技术产业开发中心技术市场与成果转化处
一种无线传感器网络中加速vBNN-IBS认证方法
黑龙江大学
用于客户信息管理的机器人
黑龙江大学
保障司机及货物安全的系统开发
博士创新(深圳)科技服务有限公司
细胞培养用高端氨基酸生产菌株构建及产业化 天津科技成果
天津市南开区合作交流办公室
一种具有复合加强结构的人造石板材及其制备方法
佛山市翔海建材有限公司
一种减少泡沫产生的装置
佛山市巴苏尼机械有限公司
一种智能无托威化包装反拨装置
佛山市友谱机械设备有限公司
JXD双层拉幅定型机
科学技术部火炬高技术产业开发中心技术市场与成果转化处
洗碗机的软水器控制方法和装置以及洗碗机
佛山市顺德区美的洗涤电器制造有限公司
一种废旧沥青混合料冷冻破碎装置
佛山市交通科技有限公司
平原小麦产区农户储粮减损技术集成与示范
南开科协
养生杯
佛山市敏捷电器科技有限公司
保护性耕作技术集成研究与示范
南开科协
打磨生产线
湖北智莱科技有限公司
论证了多策略柔性能源调控管理系统在服务区的应用
中国水力发电工程学会
首页
上一页
3349
3350
3351
3352
3353
3354
3355
下一页
尾页
共16046页 转到
页