科创中国
问题分诊室
具身智能与智慧医疗融合创新产业
高性能装备制造产业
智能机器人全产业链产业
中医药产业
人工智能产业
新一代信息技术产业
作物产业
量子科技与先进制造产业
海洋装备产业
煤炭开采及煤化工产业
特殊钢产业
节能环保产业
低空经济产业
光电产业
汽车产业
新能源产业
新材料产业
“以竹代塑”
成果发布厅
新型电力系统
化学领域
现代纺织
低空经济
信息通信
智慧公路
煤炭开采及煤化工
中医药
智能机器人全产业链
海洋装备
新一代信息技术
量子科技与先进制造
人工智能
高性能装备制造
具身智能与智慧医疗融合创新
作物
科创地方
科创北京
科创天津
科创内蒙古
科创辽宁
科创江苏
科创广西
科创广东
科创重庆
科创宁夏
科创河北
科创山东
科创河南
科创福建
科创湖南
科创黑龙江
科创湖北
科创浙江
科创山西
科创资讯
科创头条
科协活动
通知公告
科技政策
技术经理人
科技服务团
资源中心
项目库
问题库
案例库
开源库
学术资源
会议展览
品牌栏目
院士开讲
解码新质生产力
金融服务云课堂
企创云课堂
有问题想咨询
有成果想转化
我的交易
我的会议
我报名的路演会议
我的资讯
我的消息
我的动态
我的需求
我的成果
我的
个人资料编辑
退出登录
登录/注册
科创中国
需求发布
成果发布
科创案例库
揭榜挂帅
技术经理人
会议展览
科创联合体
科技服务团
科创资讯
科技政策
院士开讲
学术资源
城市站点
协作站点
搜索
问题库
项目库
开源库
English
我的交易
我的会议
我报名的路演会议
我的资讯
我的消息
我的动态
我的需求
我的成果
我的
个人资料编辑
退出登录
登录/注册
组织入驻
隐藏工作区
全国
在线展厅
切换展厅
全国
北京市
天津市
河北省
山西省
内蒙古
辽宁省
吉林省
黑龙江省
上海市
江苏省
浙江省
安徽省
福建省
江西省
山东省
河南省
湖北省
湖南省
广东省
广西
海南省
重庆市
四川省
贵州省
云南省
西藏
陕西省
甘肃省
青海省
宁夏
新疆
新疆兵团
路演活动
科技成果
参观
人数
0
0
0
0
0
0
0
点赞
人数
0
0
0
0
0
0
0
技术领域
全部
新兴行业
|
新基建
|
电子信息
|
高端产业
|
生物医药
|
石化与新材料
|
智能机械与光机电一体化
|
节能环保
|
新能源
|
现代农业
|
高端技术服务业
|
农林牧副渔
|
城建规划
|
文化创意
|
矿山工程
|
冶金工程
|
企业管理
|
知识产权
|
智库咨询
|
旅游休闲娱乐
|
企业发展服务
|
电子商务
|
纺织
|
其他
|
更多
一种用于同时检测SDZ、SDM和SMP的核酸适配体及其试剂盒使用方法
重庆摆渡谷科技发展有限公司
一种检测呋喃妥因代谢物的核酸适配体及其试剂盒使用方法
重庆摆渡谷科技发展有限公司
一种基于GCN的深度无监督跨模态检索方法
重庆摆渡谷科技发展有限公司
一种可调节蜂脾距离的巢框和蜂箱
重庆摆渡谷科技发展有限公司
人脸加密图像的生成方法、装置、电子设备及存储介质
重庆摆渡谷科技发展有限公司
轮胎再生胶自动翻胶生产线
湖北华亿通橡胶有限公司
一种基于杂化发电机的自供能PM2.5净化及监测装置
重庆摆渡谷科技发展有限公司
一种种苗培育装置
重庆摆渡谷科技发展有限公司
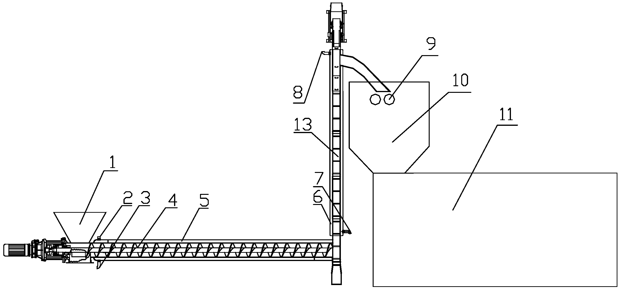
一种塑化机进料装置
湖北华亿通橡胶有限公司
有机农产品配送中心与出口物流工程
南开科协
可焊接自补偿钢塑复合管
宁波益加科创服务有限公司
电表健康状态的评价方法、装置、电子设备及存储介质
重庆摆渡谷科技发展有限公司
特色作物种质资源收集和分子鉴定技术研究
南开科协
调控玉米籽粒长度主效QTL的分子标记及其应用
宁波益加科创服务有限公司
一种基于卵巢导向肽的外源核酸投递方法及应用
重庆摆渡谷科技发展有限公司
一种音乐演出用乐谱架
重庆摆渡谷科技发展有限公司
小麦玉米节水高效起垄栽培模式及配套机械研制与应用
南开科协
一种乙酰胆碱及其类似物在促进微藻生长及微藻油脂积累中的应用
宁波益加科创服务有限公司
一种废旧轮胎自动化胶粉生产线
湖北华亿通橡胶有限公司
一种废旧鞋底胶粉活化方法及其应用
湖北华亿通橡胶有限公司
首页
上一页
3347
3348
3349
3350
3351
3352
3353
下一页
尾页
共15998页 转到
页