科创中国
问题分诊室
具身智能与智慧医疗融合创新产业
高性能装备制造产业
智能机器人全产业链产业
中医药产业
人工智能产业
新一代信息技术产业
作物产业
量子科技与先进制造产业
海洋装备产业
煤炭开采及煤化工产业
特殊钢产业
节能环保产业
低空经济产业
光电产业
汽车产业
新能源产业
新材料产业
“以竹代塑”
成果发布厅
新型电力系统
化学领域
现代纺织
低空经济
信息通信
智慧公路
煤炭开采及煤化工
中医药
智能机器人全产业链
海洋装备
新一代信息技术
量子科技与先进制造
人工智能
高性能装备制造
具身智能与智慧医疗融合创新
作物
科创地方
科创北京
科创天津
科创内蒙古
科创辽宁
科创河北
科创湖南
科创宁夏
科创广东
科创江苏
科创广西
科创重庆
科创山东
科创河南
科创福建
科创黑龙江
科创湖北
科创浙江
科创山西
科创资讯
科创头条
科协活动
通知公告
科技政策
技术经理人
科技服务团
资源中心
项目库
问题库
案例库
开源库
会议展览
品牌栏目
院士开讲
解码新质生产力
金融服务云课堂
企创云课堂
有问题想咨询
有成果想转化
我的交易
我的会议
我报名的路演会议
我的资讯
我的消息
我的动态
我的需求
我的成果
我的
个人资料编辑
退出登录
登录/注册
科创中国
需求发布
成果发布
科创案例库
揭榜挂帅
技术经理人
会议展览
科创联合体
科技服务团
科创资讯
科技政策
院士开讲
学术资源
城市站点
协作站点
搜索
问题库
项目库
开源库
English
我的交易
我的会议
我报名的路演会议
我的资讯
我的消息
我的动态
我的需求
我的成果
我的
个人资料编辑
退出登录
登录/注册
组织入驻
隐藏工作区
全国
在线展厅
切换展厅
全国
北京市
天津市
河北省
山西省
内蒙古
辽宁省
吉林省
黑龙江省
上海市
江苏省
浙江省
安徽省
福建省
江西省
山东省
河南省
湖北省
湖南省
广东省
广西
海南省
重庆市
四川省
贵州省
云南省
西藏
陕西省
甘肃省
青海省
宁夏
新疆
新疆兵团
路演活动
科技成果
参观
人数
0
0
0
0
0
0
0
点赞
人数
0
0
0
0
0
0
0
技术领域
全部
新兴行业
|
新基建
|
电子信息
|
高端产业
|
生物医药
|
石化与新材料
|
智能机械与光机电一体化
|
节能环保
|
新能源
|
现代农业
|
高端技术服务业
|
农林牧副渔
|
城建规划
|
文化创意
|
矿山工程
|
冶金工程
|
企业管理
|
知识产权
|
智库咨询
|
旅游休闲娱乐
|
企业发展服务
|
电子商务
|
纺织
|
其他
|
更多
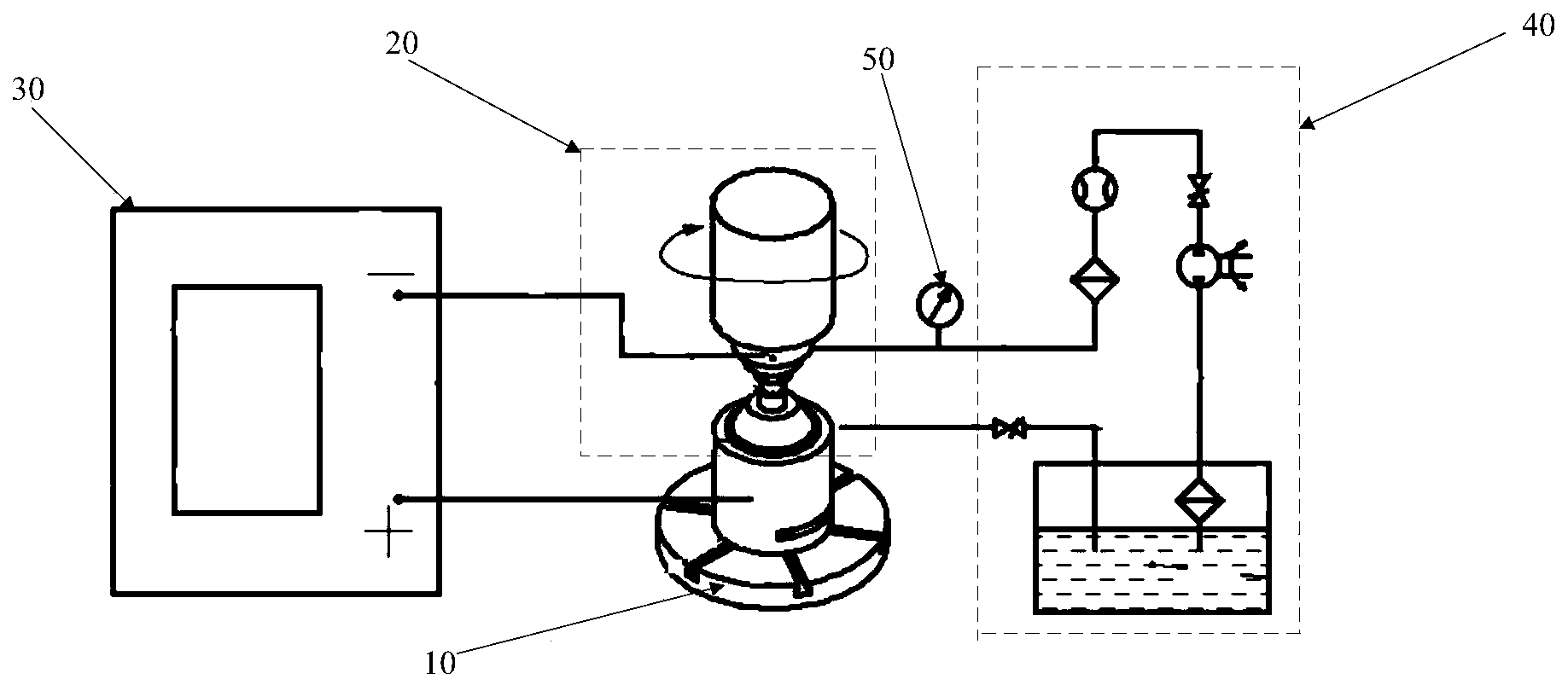
一种电解铝多功能机组收尘系统
广元中孚高精铝材有限公司
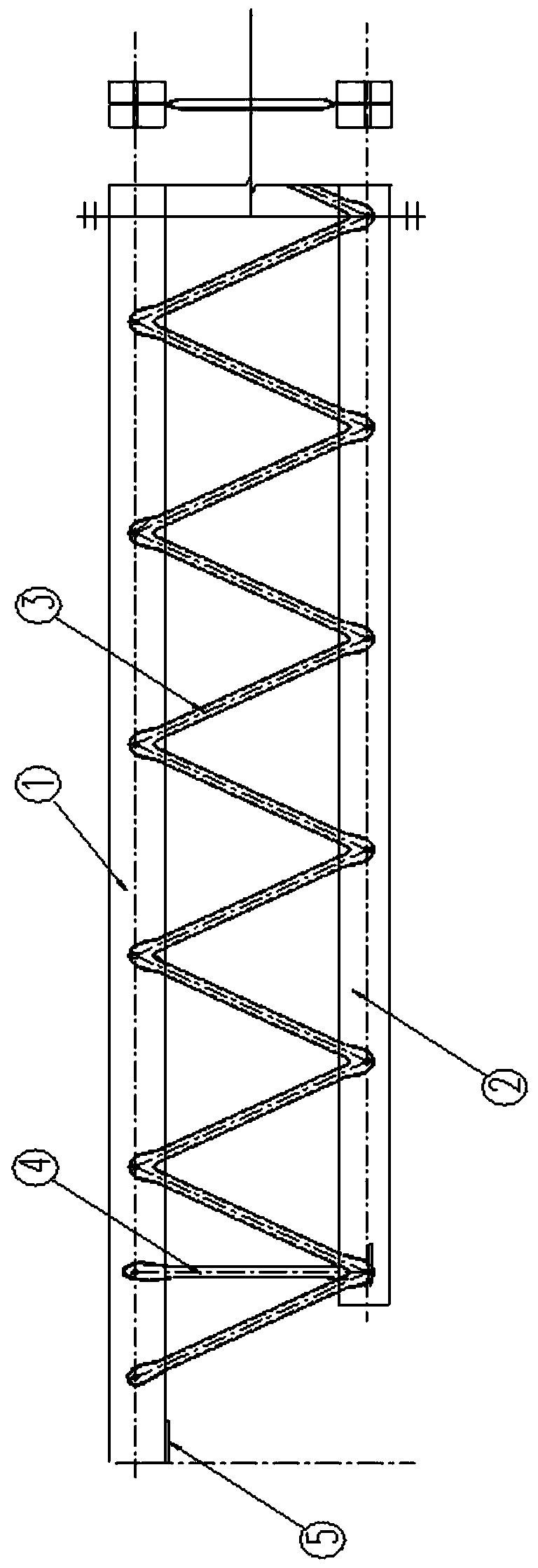
一种复合热沉的环路热管蒸发器及环路热管系统
宁波市科技创新协会
面向混合现实飞行仿真系统的虚实融合方法
中国民用航空飞行学院
一种天车吊钩
广元中孚高精铝材有限公司
一种工业设备智能运维系统及方法
四川鹏创智能科技集团有限公司
一种维生素E自乳化软膏
宁波市科技创新协会
铁氮化合物-碳纳米管复合材料、制备方法及应用
中国科学院生态环境研究中心
一种可控水翼滑行艇及其控制方法
宁波市科技创新协会
一种和弦弹奏辅助工具
常州大学
一种无人水面监测复合三体冲翼艇
宁波市科技创新协会
一种预制装配式格梁护坡结构及其施工方法
中国民用航空飞行学院
一种异型管材大角度双向弯曲成形装备研发
宁波市科技创新协会
可调节的道路侧模支撑体系施工技术
科学技术部火炬高技术产业开发中心技术市场与成果转化处
5G数字法院全在线智能诉讼平台
深圳市纵横云数信息科技有限公司
一种激光光刻银浆
宁波市科技创新协会
现场探伤射线检测防护技术
科学技术部火炬高技术产业开发中心技术市场与成果转化处
一种适用于测试污水泵抗堵塞性试验装置及实验方法
常州大学
一种软开关逆变式点焊机
宁波市科技创新协会
成果转化项目跟踪-《富硒青裸保健酒合作框架协议》
西藏自治区农牧科学院农产品开发与食品科学研究所
基于大数据自动配比技术的LED封装自动化管理系统
深圳市智华信息技术有限公司
首页
上一页
2886
2887
2888
2889
2890
2891
2892
下一页
尾页
共16046页 转到
页