科创中国
问题分诊室
具身智能与智慧医疗融合创新产业
高性能装备制造产业
智能机器人全产业链产业
中医药产业
人工智能产业
新一代信息技术产业
作物产业
量子科技与先进制造产业
海洋装备产业
煤炭开采及煤化工产业
特殊钢产业
节能环保产业
低空经济产业
光电产业
汽车产业
新能源产业
新材料产业
“以竹代塑”
成果发布厅
新型电力系统
化学领域
现代纺织
低空经济
信息通信
智慧公路
煤炭开采及煤化工
中医药
智能机器人全产业链
海洋装备
新一代信息技术
量子科技与先进制造
人工智能
高性能装备制造
具身智能与智慧医疗融合创新
作物
科创地方
科创北京
科创天津
科创内蒙古
科创辽宁
科创河北
科创湖南
科创宁夏
科创广东
科创江苏
科创广西
科创重庆
科创山东
科创河南
科创福建
科创黑龙江
科创湖北
科创浙江
科创山西
科创资讯
科创头条
科协活动
通知公告
科技政策
技术经理人
科技服务团
资源中心
项目库
问题库
案例库
开源库
会议展览
品牌栏目
院士开讲
解码新质生产力
金融服务云课堂
企创云课堂
有问题想咨询
有成果想转化
我的交易
我的会议
我报名的路演会议
我的资讯
我的消息
我的动态
我的需求
我的成果
我的
个人资料编辑
退出登录
登录/注册
科创中国
需求发布
成果发布
科创案例库
揭榜挂帅
技术经理人
会议展览
科创联合体
科技服务团
科创资讯
科技政策
院士开讲
学术资源
城市站点
协作站点
搜索
问题库
项目库
开源库
English
我的交易
我的会议
我报名的路演会议
我的资讯
我的消息
我的动态
我的需求
我的成果
我的
个人资料编辑
退出登录
登录/注册
组织入驻
隐藏工作区
全国
在线展厅
切换展厅
全国
北京市
天津市
河北省
山西省
内蒙古
辽宁省
吉林省
黑龙江省
上海市
江苏省
浙江省
安徽省
福建省
江西省
山东省
河南省
湖北省
湖南省
广东省
广西
海南省
重庆市
四川省
贵州省
云南省
西藏
陕西省
甘肃省
青海省
宁夏
新疆
新疆兵团
路演活动
科技成果
参观
人数
0
0
0
0
0
0
0
点赞
人数
0
0
0
0
0
0
0
技术领域
全部
新兴行业
|
新基建
|
电子信息
|
高端产业
|
生物医药
|
石化与新材料
|
智能机械与光机电一体化
|
节能环保
|
新能源
|
现代农业
|
高端技术服务业
|
农林牧副渔
|
城建规划
|
文化创意
|
矿山工程
|
冶金工程
|
企业管理
|
知识产权
|
智库咨询
|
旅游休闲娱乐
|
企业发展服务
|
电子商务
|
纺织
|
其他
|
更多
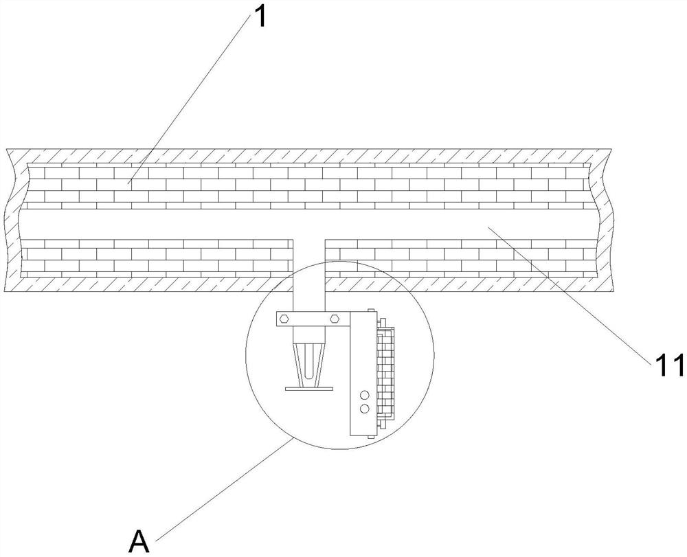
一种多功能的燃气轮机发电系统
东方电气集团东方汽轮机有限公司
木质素基生物全降解地膜
华东理工大学
二氧化碳发泡挤塑板生产设备的研发与应用
宁夏机械工程学会
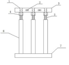
一种燃气轮机透平喷嘴密封结构
东方电气集团东方汽轮机有限公司
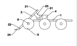
一种燃气轮机冷却气流道的结构
东方电气集团东方汽轮机有限公司
一种基于多维度信号分析的泵机异常工况在线检测方法
东方电气集团东方汽轮机有限公司
智能脊柱外科内镜手术稳定装置及其使用方法
南昌大学第二附属医院
含超声耦合剂的一次性超声探头套头
南昌大学第二附属医院
一种用于溃疡性结肠炎诊断的mRNA标志物及其应用
镇江市第一人民医院
一种适用于小容积流量透平的进气腔室
东方电气集团东方汽轮机有限公司
一种麻醉或手术穿刺用固定器
南昌大学第二附属医院
具有高阻尼高柔性轴承嵌套结构的行星齿轮传动系统
常州工学院
基于LGALS3剪接变体诊断慢粒急变期的试剂及试剂盒
南昌大学第二附属医院
一种燃气轮机机组标高调整组件
东方电气集团东方汽轮机有限公司
一种多功能精准醒麻醉智能医疗护理装置及其使用方法
南昌大学第二附属医院
一种多元无硼高温钎料及封焊应用方法
东方电气集团东方汽轮机有限公司
一种基于城市管理的大数据管理及分析平台系统的技术服务
江西洪图软件技术有限公司
一种高稳定性的微米级立方体钴基普鲁士蓝类似物的制备方法和应用
黑龙江大学
大田牡丹的多样化
菏泽保乾苗木花卉种植合作社
大型复杂镁铝合金铸造关键技术
宁波市科技创新协会
首页
上一页
2836
2837
2838
2839
2840
2841
2842
下一页
尾页
共16046页 转到
页