科创中国
问题分诊室
具身智能与智慧医疗融合创新产业
高性能装备制造产业
智能机器人全产业链产业
中医药产业
人工智能产业
新一代信息技术产业
作物产业
量子科技与先进制造产业
海洋装备产业
煤炭开采及煤化工产业
特殊钢产业
节能环保产业
低空经济产业
光电产业
汽车产业
新能源产业
新材料产业
“以竹代塑”
成果发布厅
新型电力系统
化学领域
现代纺织
低空经济
信息通信
智慧公路
煤炭开采及煤化工
中医药
智能机器人全产业链
海洋装备
新一代信息技术
量子科技与先进制造
人工智能
高性能装备制造
具身智能与智慧医疗融合创新
作物
科创地方
科创北京
科创天津
科创内蒙古
科创辽宁
科创河北
科创湖南
科创宁夏
科创广东
科创江苏
科创广西
科创重庆
科创山东
科创河南
科创福建
科创黑龙江
科创湖北
科创浙江
科创山西
科创资讯
科创头条
科协活动
通知公告
科技政策
技术经理人
科技服务团
资源中心
项目库
问题库
案例库
开源库
会议展览
品牌栏目
院士开讲
解码新质生产力
金融服务云课堂
企创云课堂
有问题想咨询
有成果想转化
我的交易
我的会议
我报名的路演会议
我的资讯
我的消息
我的动态
我的需求
我的成果
我的
个人资料编辑
退出登录
登录/注册
科创中国
需求发布
成果发布
科创案例库
揭榜挂帅
技术经理人
会议展览
科创联合体
科技服务团
科创资讯
科技政策
院士开讲
学术资源
城市站点
协作站点
搜索
问题库
项目库
开源库
English
我的交易
我的会议
我报名的路演会议
我的资讯
我的消息
我的动态
我的需求
我的成果
我的
个人资料编辑
退出登录
登录/注册
组织入驻
隐藏工作区
全国
在线展厅
切换展厅
全国
北京市
天津市
河北省
山西省
内蒙古
辽宁省
吉林省
黑龙江省
上海市
江苏省
浙江省
安徽省
福建省
江西省
山东省
河南省
湖北省
湖南省
广东省
广西
海南省
重庆市
四川省
贵州省
云南省
西藏
陕西省
甘肃省
青海省
宁夏
新疆
新疆兵团
路演活动
科技成果
参观
人数
0
0
0
0
0
0
0
点赞
人数
0
0
0
0
0
0
0
技术领域
全部
新兴行业
|
新基建
|
电子信息
|
高端产业
|
生物医药
|
石化与新材料
|
智能机械与光机电一体化
|
节能环保
|
新能源
|
现代农业
|
高端技术服务业
|
农林牧副渔
|
城建规划
|
文化创意
|
矿山工程
|
冶金工程
|
企业管理
|
知识产权
|
智库咨询
|
旅游休闲娱乐
|
企业发展服务
|
电子商务
|
纺织
|
其他
|
更多
一种组织培养用器具处理装置
湖南循证生物科技有限公司
一种血浆脂质成份吸附分离聚合物多孔膜材料、制备及其应用
宁波市科技创新协会
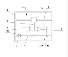
一种用于瘫痪病人床的洗浴装置
常州大学
特信超导技术
深圳特信超导技术有限公司
用于癌症转移检测的光学探针
宁波市科技创新协会
一种用于缓解青少年社交焦虑的装置
南昌大学第二附属医院
以萘四羧酸二酰亚胺为核的硫杂共轭化合物、制法和应用
宁波市科技创新协会
一种便于生物样本检测的生物实验箱
湖南循证生物科技有限公司
基于CAD的建筑三维建模平台
宁波益加科创服务有限公司
一种可固定引流管的敷贴及引流管固定结构
南昌大学第二附属医院
硫杂环稠合的萘四羧酸二酰亚胺衍生物、及制法和应用
宁波市科技创新协会
聚联烯氮氧自由基
宁波市科技创新协会
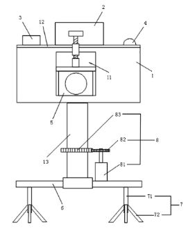
一种具有麻醉效果反馈功能的小儿吸入麻醉装置
南昌大学第二附属医院
一种具有烘干功能的离心管清洗装置
湖南循证生物科技有限公司
含有全氟环丁基芳基醚单元的功能丙烯酸酯类单体、制备方法和用途
宁波市科技创新协会
一种心身医学科心理健康教育用便携箱
南昌大学第二附属医院
全氟环丁基芳基醚齐聚物、用迭代偶联反应的制备方法和用途
宁波市科技创新协会
一类9,9-双(三苯胺基)芴衍生物、制备及其用途
宁波市科技创新协会
外泌体DNA转运用试管存储盒
南昌大学第二附属医院
基于中红外光源的无创血糖监测设备(电子学院 )
宁波市科技创新协会
首页
上一页
2737
2738
2739
2740
2741
2742
2743
下一页
尾页
共16046页 转到
页