科创中国
问题分诊室
具身智能与智慧医疗融合创新产业
高性能装备制造产业
智能机器人全产业链产业
中医药产业
人工智能产业
新一代信息技术产业
作物产业
量子科技与先进制造产业
海洋装备产业
煤炭开采及煤化工产业
特殊钢产业
节能环保产业
低空经济产业
光电产业
汽车产业
新能源产业
新材料产业
“以竹代塑”
成果发布厅
新型电力系统
化学领域
现代纺织
低空经济
信息通信
智慧公路
煤炭开采及煤化工
中医药
智能机器人全产业链
海洋装备
新一代信息技术
量子科技与先进制造
人工智能
高性能装备制造
具身智能与智慧医疗融合创新
作物
科创地方
科创北京
科创天津
科创内蒙古
科创辽宁
科创河北
科创湖南
科创宁夏
科创广东
科创江苏
科创广西
科创重庆
科创山东
科创河南
科创福建
科创黑龙江
科创湖北
科创浙江
科创山西
科创资讯
科创头条
科协活动
通知公告
科技政策
技术经理人
科技服务团
资源中心
项目库
问题库
案例库
开源库
会议展览
品牌栏目
院士开讲
解码新质生产力
金融服务云课堂
企创云课堂
有问题想咨询
有成果想转化
我的交易
我的会议
我报名的路演会议
我的资讯
我的消息
我的动态
我的需求
我的成果
我的
个人资料编辑
退出登录
登录/注册
科创中国
需求发布
成果发布
科创案例库
揭榜挂帅
技术经理人
会议展览
科创联合体
科技服务团
科创资讯
科技政策
院士开讲
学术资源
城市站点
协作站点
搜索
问题库
项目库
开源库
English
我的交易
我的会议
我报名的路演会议
我的资讯
我的消息
我的动态
我的需求
我的成果
我的
个人资料编辑
退出登录
登录/注册
组织入驻
隐藏工作区
全国
在线展厅
切换展厅
全国
北京市
天津市
河北省
山西省
内蒙古
辽宁省
吉林省
黑龙江省
上海市
江苏省
浙江省
安徽省
福建省
江西省
山东省
河南省
湖北省
湖南省
广东省
广西
海南省
重庆市
四川省
贵州省
云南省
西藏
陕西省
甘肃省
青海省
宁夏
新疆
新疆兵团
路演活动
科技成果
参观
人数
0
0
0
0
0
0
0
点赞
人数
0
0
0
0
0
0
0
技术领域
全部
新兴行业
|
新基建
|
电子信息
|
高端产业
|
生物医药
|
石化与新材料
|
智能机械与光机电一体化
|
节能环保
|
新能源
|
现代农业
|
高端技术服务业
|
农林牧副渔
|
城建规划
|
文化创意
|
矿山工程
|
冶金工程
|
企业管理
|
知识产权
|
智库咨询
|
旅游休闲娱乐
|
企业发展服务
|
电子商务
|
纺织
|
其他
|
更多
一种多台TOF相机抗干扰同步器装置的制作方法
中国指挥与控制学会
马匹防蚊虫马衣设计
吉林大学
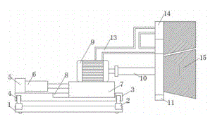
一种具有刀具防护功能的钻床
牡丹区王浩屯镇人民政府
一种蓝牙模组工作异常的恢复方法及装置与流程
中国指挥与控制学会
一种基于光子神经网络的自适应波束形成方法及装置与流程
中国指挥与控制学会
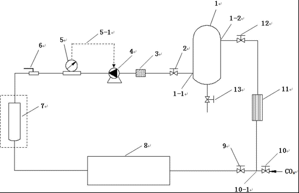
模拟有机物污染地下水原位修复的实验装置
中国科学院生态环境研究中心
威双物联网涉案财物管理系统V1.0
广西威双科技有限公司
一种治疗腰椎间盘突出及骨质增生的口服散剂中药配方
宁波启迪科技园
一种智慧消防系统集成平台数据传输系统的制作方法
中国指挥与控制学会
一种有除烟功能的五金配件生产用电火花机
牡丹区王浩屯镇人民政府
威双文书签名捺印系统V1.0
广西威双科技有限公司
DLH模块化高精减速机
宁波东力传动设备有限公司
一种TDD系统的测试系统、方法、介质及设备与流程
中国指挥与控制学会
一种废活性炭高温再生回转炉
两山(宁夏)环保科技有限公司
利用人工智能自动修复安全问题的技术的制作方法
中国指挥与控制学会
JE54 1E级热质式流量计国产化
山东核电有限公司
用于受约束UE与MSGIN5G服务器通信的方法和无约束UE与流程
中国指挥与控制学会
脑机接口智能康复机器人
西安臻泰智能科技有限公司
一种基于脑波控制的智能LED变色灯及其智能控制方法
常州大学
通过VR广播流的远程呈现的制作方法
中国指挥与控制学会
首页
上一页
2345
2346
2347
2348
2349
2350
2351
下一页
尾页
共16046页 转到
页