汽车投影灯
宁波福尔达智能科技股份有限公司
智测皓微Supreium ADR检测技术
适创科技有限公司
汽车条形氛围灯可无限延伸技术
宁波福尔达智能科技股份有限公司
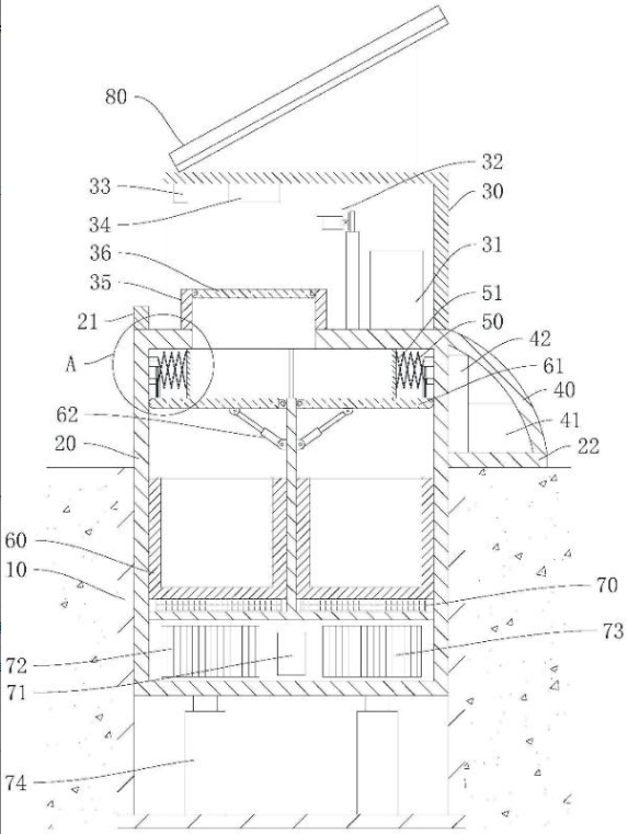
方便使用的中药材种植用施肥装置
温州科技大市场
超薄防水新式 LED 灯
广东天一照明科技有限公司
一种安全带调高器的支撑架及安全带调高器
慈溪市汽车零部件行业协会
一种高度调节器疲劳试验装置
慈溪市汽车零部件行业协会
雷达传感人体检测自动开关灯具
广东天一照明科技有限公司
汽车顶灯--触摸LED照明
宁波福尔达智能科技股份有限公司
基于天然岩沥青条件下的废旧沥青混合料回收利用关键技术研究与示范
中国公路学会
一种用于汽车剪刀门的铰链
慈溪市汽车零部件行业协会
智能X射线缺陷检测技术
适创科技单位名称:适创科技
汽车车灯--LED照明
宁波福尔达智能科技股份有限公司
一种按钮式高度调节器
慈溪市汽车零部件行业协会
汽车顶灯--灯泡照明
宁波福尔达智能科技股份有限公司
LED 双模组隧道照明技术
广东天一照明科技有限公司
一种轻便式安全带高度调节器
慈溪市汽车零部件行业协会
五轴龙门加工中心G-VU1530
广东创世纪智能装备集团股份有限公司
一种车用高度调节器
慈溪市汽车零部件行业协会
一种雨刮器减速箱壳体的制作方法
慈溪市汽车零部件行业协会
共16046页 转到