科创中国
问题分诊室
具身智能与智慧医疗融合创新产业
高性能装备制造产业
智能机器人全产业链产业
中医药产业
人工智能产业
新一代信息技术产业
作物产业
量子科技与先进制造产业
海洋装备产业
煤炭开采及煤化工产业
特殊钢产业
节能环保产业
低空经济产业
光电产业
汽车产业
新能源产业
新材料产业
“以竹代塑”
成果发布厅
新型电力系统
化学领域
现代纺织
低空经济
信息通信
智慧公路
煤炭开采及煤化工
中医药
智能机器人全产业链
海洋装备
新一代信息技术
量子科技与先进制造
人工智能
高性能装备制造
具身智能与智慧医疗融合创新
作物
科创地方
科创北京
科创天津
科创内蒙古
科创辽宁
科创河北
科创湖南
科创宁夏
科创广东
科创江苏
科创广西
科创重庆
科创山东
科创河南
科创福建
科创黑龙江
科创湖北
科创浙江
科创山西
科创资讯
科创头条
科协活动
通知公告
科技政策
技术经理人
科技服务团
资源中心
项目库
问题库
案例库
开源库
会议展览
品牌栏目
院士开讲
解码新质生产力
金融服务云课堂
企创云课堂
有问题想咨询
有成果想转化
我的交易
我的会议
我报名的路演会议
我的资讯
我的消息
我的动态
我的需求
我的成果
我的
个人资料编辑
退出登录
登录/注册
科创中国
需求发布
成果发布
科创案例库
揭榜挂帅
技术经理人
会议展览
科创联合体
科技服务团
科创资讯
科技政策
院士开讲
学术资源
城市站点
协作站点
搜索
问题库
项目库
开源库
English
我的交易
我的会议
我报名的路演会议
我的资讯
我的消息
我的动态
我的需求
我的成果
我的
个人资料编辑
退出登录
登录/注册
组织入驻
隐藏工作区
全国
在线展厅
切换展厅
全国
北京市
天津市
河北省
山西省
内蒙古
辽宁省
吉林省
黑龙江省
上海市
江苏省
浙江省
安徽省
福建省
江西省
山东省
河南省
湖北省
湖南省
广东省
广西
海南省
重庆市
四川省
贵州省
云南省
西藏
陕西省
甘肃省
青海省
宁夏
新疆
新疆兵团
路演活动
科技成果
参观
人数
0
0
0
0
0
0
0
点赞
人数
0
0
0
0
0
0
0
技术领域
全部
新兴行业
|
新基建
|
电子信息
|
高端产业
|
生物医药
|
石化与新材料
|
智能机械与光机电一体化
|
节能环保
|
新能源
|
现代农业
|
高端技术服务业
|
农林牧副渔
|
城建规划
|
文化创意
|
矿山工程
|
冶金工程
|
企业管理
|
知识产权
|
智库咨询
|
旅游休闲娱乐
|
企业发展服务
|
电子商务
|
纺织
|
其他
|
更多
计算机保密检查工具软件系统
山东天大清源信息技术有限公司
小分子活性肽定向酶解和分离关键技术研究及其应用
山东大树达孚特膳食品有限公司
基于RFID物流管理系统的解决方案
重庆邮电大学
罐头瓶(1)
曹县苏集镇人民政府
一种消化内镜视觉重建导航系统及方法
中国科学院深圳先进技术研究院
基于鱼菜共生的可移动式鳜鱼网箱驯化系统
重庆摆渡谷科技发展有限公司
一种油漆分散机自动摇摆装置
曹县苏集镇人民政府
基于RFID仓储解决方案
重庆邮电大学
一种活体组织孵育灌流成像记录装置
中国科学院深圳先进技术研究院
罐头瓶
曹县苏集镇人民政府
阿瑞匹坦注射液
沈阳药科大学
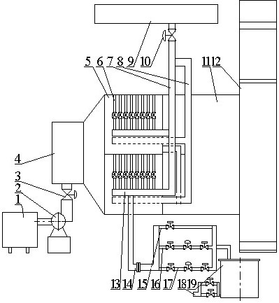
一种污水氨氮吹脱尾气余热回用装置
山东多友科技有限公司
红黑电源隔离转换系统
山东天大清源信息技术有限公司
金属空气电池阴极材料设计方法、系统及计算机设备
中国科学院深圳先进技术研究院
一种废催化剂再生回收系统
山东多友科技有限公司
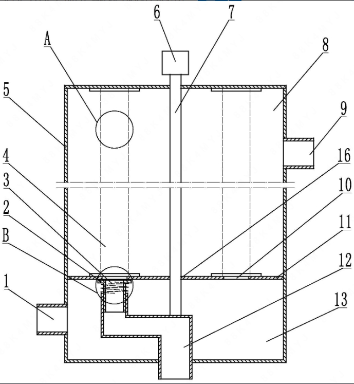
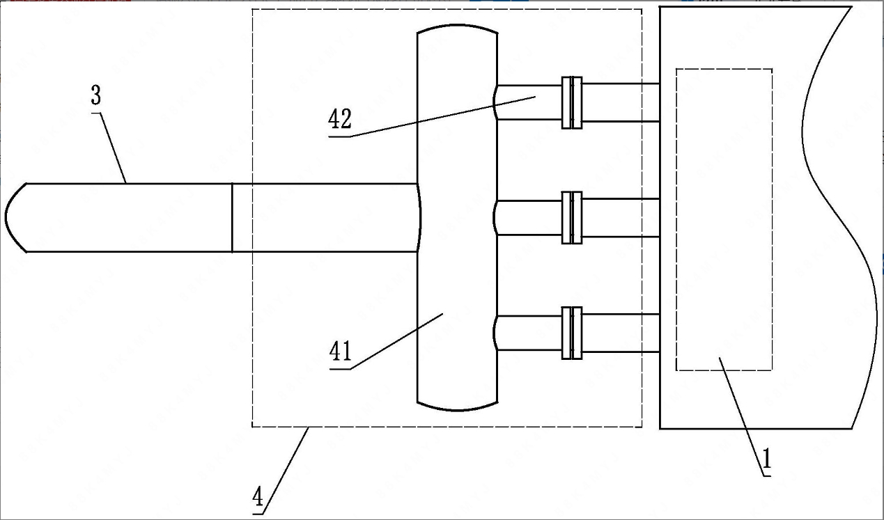
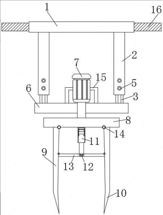
一种农用快速松土机
东明县农业农村局
一种箱体封贴设备
山东华康科技电子有限公司
一种废催化剂再生回收装置
山东多友科技有限公司
一种用于罐头内部的清洗杀菌一体机
巨鑫源有限公司
硫化物固态电解质、制备方法及全固态锂离子电池
中国科学院深圳先进技术研究院
首页
上一页
1894
1895
1896
1897
1898
1899
1900
下一页
尾页
共16046页 转到
页