科创中国
问题分诊室
具身智能与智慧医疗融合创新产业
高性能装备制造产业
智能机器人全产业链产业
中医药产业
人工智能产业
新一代信息技术产业
作物产业
量子科技与先进制造产业
海洋装备产业
煤炭开采及煤化工产业
特殊钢产业
节能环保产业
低空经济产业
光电产业
汽车产业
新能源产业
新材料产业
“以竹代塑”
成果发布厅
新型电力系统
化学领域
现代纺织
低空经济
信息通信
智慧公路
煤炭开采及煤化工
中医药
智能机器人全产业链
海洋装备
新一代信息技术
量子科技与先进制造
人工智能
高性能装备制造
具身智能与智慧医疗融合创新
作物
科创地方
科创北京
科创天津
科创内蒙古
科创辽宁
科创河北
科创湖南
科创宁夏
科创广东
科创江苏
科创广西
科创重庆
科创山东
科创河南
科创福建
科创黑龙江
科创湖北
科创浙江
科创山西
科创资讯
科创头条
科协活动
通知公告
科技政策
技术经理人
科技服务团
资源中心
项目库
问题库
案例库
开源库
会议展览
品牌栏目
院士开讲
解码新质生产力
金融服务云课堂
企创云课堂
有问题想咨询
有成果想转化
我的交易
我的会议
我报名的路演会议
我的资讯
我的消息
我的动态
我的需求
我的成果
我的
个人资料编辑
退出登录
登录/注册
科创中国
需求发布
成果发布
科创案例库
揭榜挂帅
技术经理人
会议展览
科创联合体
科技服务团
科创资讯
科技政策
院士开讲
学术资源
城市站点
协作站点
搜索
问题库
项目库
开源库
English
我的交易
我的会议
我报名的路演会议
我的资讯
我的消息
我的动态
我的需求
我的成果
我的
个人资料编辑
退出登录
登录/注册
组织入驻
隐藏工作区
全国
在线展厅
切换展厅
全国
北京市
天津市
河北省
山西省
内蒙古
辽宁省
吉林省
黑龙江省
上海市
江苏省
浙江省
安徽省
福建省
江西省
山东省
河南省
湖北省
湖南省
广东省
广西
海南省
重庆市
四川省
贵州省
云南省
西藏
陕西省
甘肃省
青海省
宁夏
新疆
新疆兵团
路演活动
科技成果
参观
人数
0
0
0
0
0
0
0
点赞
人数
0
0
0
0
0
0
0
技术领域
全部
新兴行业
|
新基建
|
电子信息
|
高端产业
|
生物医药
|
石化与新材料
|
智能机械与光机电一体化
|
节能环保
|
新能源
|
现代农业
|
高端技术服务业
|
农林牧副渔
|
城建规划
|
文化创意
|
矿山工程
|
冶金工程
|
企业管理
|
知识产权
|
智库咨询
|
旅游休闲娱乐
|
企业发展服务
|
电子商务
|
纺织
|
其他
|
更多
一种胎儿脑MRI组织分析方法、装置和电子设备
中国科学院深圳先进技术研究院
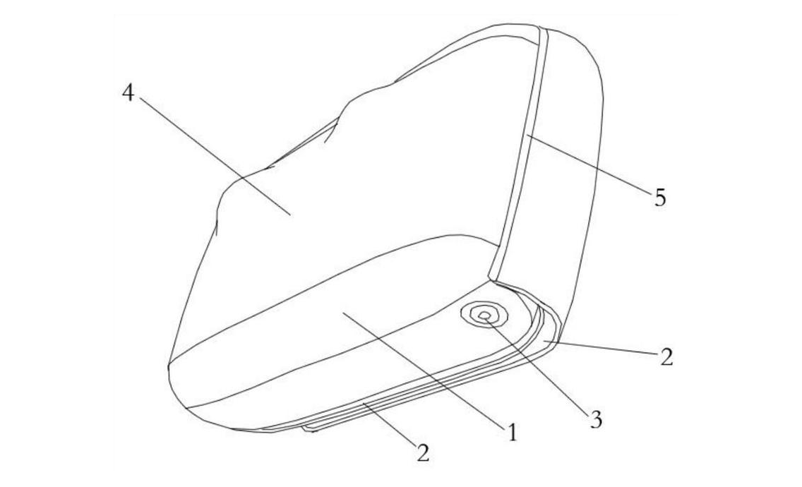
机器人集成护理系统(失能护理机器人)
机器人集成护理系统(失能护理机器人)团队
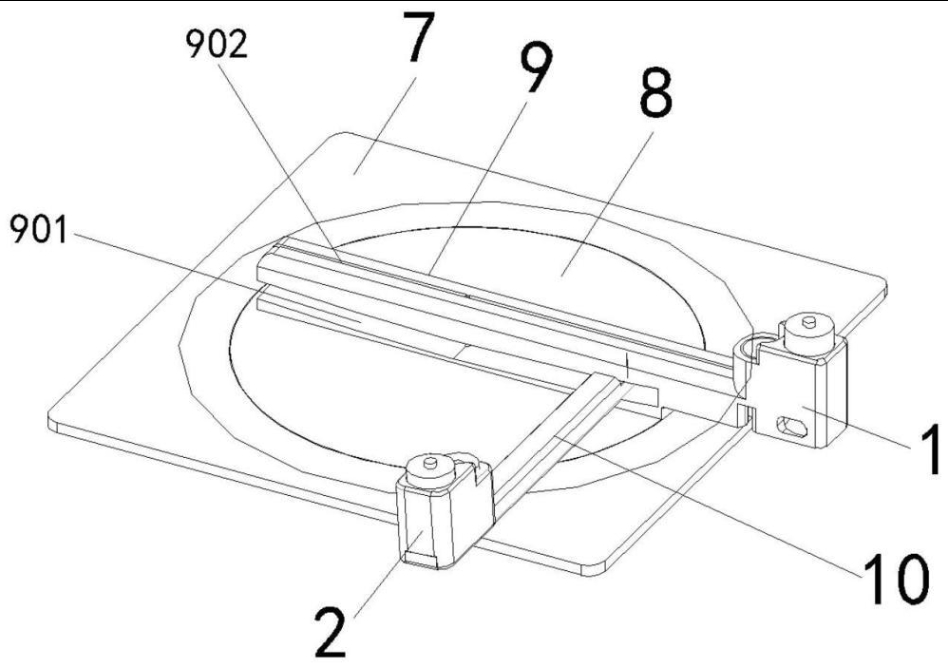
一种多联锁式快开门容器
泰安市金水龙金属容器有限公司
低光图像增强方法、系统、终端以及存储介质
中国科学院深圳先进技术研究院
调节阀设计校核计算和优化
中国煤炭学会
雪浪飞车
雪浪飞车
一种大型焊接件加工用吊装装置
汇佳网(天津)科技有限公司
运动神经肌肉血管耦合功能检测系统
中国科学院深圳先进技术研究院
ED屏幕拼缝区域图像的分割方法、LED屏幕亮暗线校正方法
中国科学院深圳先进技术研究院
加贝喜科技
深圳市加贝喜科技有限公司
展览行业绿色共生链的赋能者
深圳朗晖展示有限公司
热交换器仿真计算系统
中国煤炭学会
低GI多谷物共挤压系列方便产品加工技术
国家粮食与物资储备局科学研究院
枚达软件工厂(零+低+AI+高)
深圳市智道信息科技有限公司
打望映像
深圳市前海打望技术有限公司
设备运行信息数据采集系统
中国煤炭学会
小直科技
深圳市小直科技有限责任公司
泊沙康唑注射液
沈阳药科大学
一站式医护用品供应链平台
广东宝欧特医疗用品有限公司
设备故障三维显示预警平台
中国煤炭学会
首页
上一页
1757
1758
1759
1760
1761
1762
1763
下一页
尾页
共16046页 转到
页