济南市商河县科技型中小企业入库180家,入库企业数量再创历史新高
发布时间: 2024-11-05
今年以来,济南市商河县科技局深入落实国家创新驱动发展战略,推动县内科技型中小企业的快速发展,通过实施一系列有效措施,成功推进了科技型中小企业入库工作。
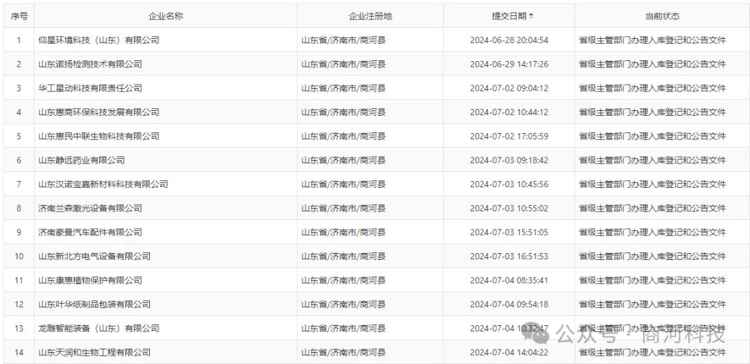
2024年我县科技型中小企业入库180家,入库企业数较上年增加25家,同比增长16%,再创历史新高。企业类型涵盖了高端装备制造、新能源、新材料、生物医药、高技术服务等多个高新技术领域。为促进商河县科技型企业发展,县科技局组织专人入企走访做政策宣讲会和业务培训,提供一对一指导服务,帮助企业解决资料准备、系统操作等方面的难题,确保申报材料的准确性和完整性,有效提升了企业的申报积极性和成功率。推进科小入库的同时兼顾企业梯度培育,引导科技型中小企业申报高企,2024年180家科技型中小企业中共有50家申报高新技术企业。科技型中小企业是创新驱动发展战略的重要力量。下一步,县科技局将不断创新服务模式,优化政策环境,继续深化科技型中小企业入库工作,为科技型中小企业提供更加精准有效的支持,壮大梯度培育基础,助力我县科技型企业队伍不断发展壮大。
济南市科技局商河县科技局

Copyright © 2022 中国科学技术协会 版权所有 | 京ICP备16016202号-20
Copyright © 2022 中国科学技术协会 版权所有 | 京ICP备16016202号-20