海洋应急通信网络智能监控与调度系统设计及实现
发布时间: 2024-08-29
面向单一平台承载特定通信业务的海洋通信网络状态监控与平台调度系统,难以满足日益复杂的海上通信网络的多主体协同、多手段融合与多业务一体化发展需求。本文提出了一种面向海上应急通信网络的智能监控与调度系统的设计方案,针对海上通信应急场景业务需求,设计了基于实时监控信息研判的“天、空、岸、海、潜”的多主体协同调度系统,实现了适配海洋应急通信网络灵活建网、快速补网特点的智能监控与协同调度,解决了海上平台与通信载荷灵活组合导致的异构通信系统间数据获取与传输问题,提升了海上通信网络的保障能力。系统依托国家重大工程“智慧海洋”应急通信试验网络建设项目实现,在海洋应急典型应用场景下通过对实时信息感知、应急响应规划、事件处置、视频会商等业务的应用示范,对智能监控与调度系统进行了验证,满足了海洋通信网络智能化发展需求。
无线通信作为海洋通信网络的主要手段,存在着通信带宽小、通信终端类型多、通信系统间协同能力差等问题,现有的监控与调度系统多以面向单一主体为主,难以满足海洋通信网络的融合发展需求。海洋信息技术近30年的发展分享信息理论的丰富成果,同时突显出传播物理、信号处理及海洋环境的紧密关系,随着海洋信息技术与海洋工程设备的发展,陆地通信网络逐步向海上延伸,相对陆地通信网络,海洋通信网络受海洋环境影响,面临着数据传输带宽小、实时监控延迟、协同调度难度大等问题,极大地制约了海洋通信网络的发展。电力系统基于IP多媒体子系统(IP Multimedia Subsystem,IMS)技术实现了调度电话快捷组会等功能,但IMS无法满足多业务调度需求。以船舶为主体的多业务调度系统以船载主体应用为主,难以实现对其他平台的调度。基于应急通信车建设的多业务融合调度平台,具备多媒体接入功能,实现了跨网络、跨平台的多系统融合互通,但车载动能依赖性强,可移植性不高。针对海洋应急通信网络覆盖范围大、机动能力强、主体多协同的建设需求的监控调度系统仍属空白,亟需具备智能监控、协同调度的智能化自主系统,提升海洋通信网络的应急场景通信服务能力。
1 海洋应急通信网络
1.1 建设目标
海洋应急通信网络针对海上作业安全、海洋自然灾害、海洋权益维护、海洋监测监视和海上突发事件处置对应急通信保障能力建设提出的迫切需求,进一步完善了覆盖天、空、岸、水面和水下的海洋信息通信基础设施,通过融合各类无线通信手段,扬长避短,构建以各类海上通信平台为节点的海洋应急通信网络,形成各类海上活动的信息传输、协同指挥、宽带互联、应急通信能力,为全球海洋和两极的自主通信保障能力建设提供了技术支撑。融合临近空间无人机、船载(系留机、系留球)、灯塔、水下、卫星等平台搭载各类通信载荷构建的“天、空、岸、海、潜”一体化网络体系架构,开展网络技术体制、网络服务能力、建设运行机制的测试与验证,实现与现有通信网络的互联互通、协同工作,具备海洋业务、应急管理等系统横向延展能力。在东海、南海海域开展海洋权益维护、海洋防灾减灾、海上救助等应急通信应用示范,可在3.5h内形成覆盖2万km2范围机动海域的应急通信保障能力,海洋应急通信试验网络规划见图1。

图1 海洋应急通信网络规划
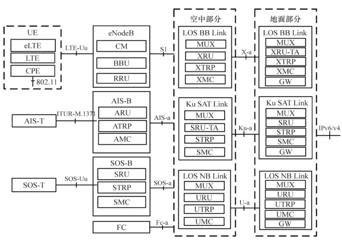
海洋应急通信试验网络的架构设计描述了用户接入、汇聚传输、业务访问、公网互联的全网联通性设计,在服务层实现了业务网络的异构融合与外部联通。打破传统海上天基网络服务到端模式,将海上常用天基网络进一步详细划分,实现海上汇聚—接入—终端的3级网络结构(图2),天基网络提供全天候、大覆盖海上回传链路,汇聚层提供海上局部网络收敛汇聚功能,接入系统为海洋通信终端提供各类接入服务,进一步节省了天基网络经济成本,同时为后续低轨卫星矩阵的海洋应用提供基础。面向近海应急通信自主可控发展需求,验证基于微波视距通信链路,依托高抗毁、宽频段、大容量的优势,可形成离岸100km范围内的经济型近岸覆盖能力,为“天、空、岸、海、潜”各类海上通信平台提供接入服务。海洋应急通信试验网络的成功构建,打破了原有各类通信系统独立隔离的情况,通信系统以通信平台为单位化整为零,随遇接入,大幅度提升了海洋通信网络服务能力,验证了海洋立体通信网络可行,传输可通,服务可用。

图2 海洋应急通信网络架构
1)通信系统异构接入。海洋应急通信网络通过建设卫星应急通信系统、临近空间长航时无人机应急通信系统、小型无人机应急通信系统、船载应急通信系统、灯塔应急通信系统、水下应急通信系统等多套接入系统实现了海上各类通信用户灵活接入。应急指挥中心实现与国家应急中心、运营商、电话局互联互通。岸基通信站通过微波固定站、微波移动站、卫通固定站实现各类通信系统接入。接入系统是应急通信组网业务能力在海上的具体实现,根据部署需求,结合不同平台(无人机、船舶、系留气球等),形成通信能力、覆盖范围各异的通信节点,最终实现一体化海洋应急通信业务能力覆盖。海洋应急通信网络作为公用基础网络平台,支持各行业的用户应用系统。同时,可与电信运营商网络系统以及现存应急通信网络系统对接,实现业务互通。海洋应急通信系统连接见图3。

图3 海洋应急通信系统连接图
2)声光电多手段融合。海上通信网络受自然条件限制以无线通信为主,不同的无线通信手段具备其各自的特点与适用条件,难以通过单一通信手段满足各类海上通信需求。海洋应急通信网络实现了声、光、电等通信手段海上融合组网的首次验证。在海上统筹利用高低轨卫星、LTE、微波、水声等多种传输手段,通信平台可为海上移动用户的机动接入提供服务,也可作为岸海互通的通信中继节点,设计基于多通信平台融合形成的上层业务网的传输架构(图4),实现了广域覆盖、应急保障、机动抗毁的海洋立体化通信传输网络。通过海洋应急通信网络测试验证,各类通信手段融合链路,可以有效实现沿海通信网络向海上大范围延展。各类通信手段取长补短,优势叠加实现的融合网络,弥补了单一通信手段的短板,可以实现业务范围、服务能力的大规模提升。

图4 海上通信网络传输架构
3)多业务一体化运行。创新采取了私有LTE核心网与语音电话网核心节点顶层互联的公网语音服务接入解决方案,打破原有海洋通信网络语音业务与数据传输业务互相隔离的模式,依托数据传输网络的实时传输特点,扩展语音通信业务,业务流程如图5所示,实现了网络可通即语音可达的效果,解决无公网信号或公网信号弱区域语音通信问题,极大地提升公网的海上语音通信覆盖范围,并借此扩展公众呼救范围,增加呼救手段,进一步提升了应急场景下公众基础应对活动能力。针对海洋防灾减灾、救援救助、权益维护等海上突发应急事件决策调度等需求,建设现场通信链路等状态的获取、集成和综合信息分析推演能力,强化任务与应急响应的规划能力和数据、通信、感知设备等资源的调度能力,实现对海洋应急通信中的各类资源及任务进行有效规划、统一管理和调度。

图5 海上通信网络业务流程
在保障我国海洋活动的诸多要素中,海洋应急通信能力的保障是公认的瓶颈。海洋应急通信试验网络多异构平台网络接入、声光电多手段融合、多业务一体化运行的创新特点,对网络的状态实时监控与智能协同调度的能力提出了新的挑战。目前,我国海洋应急通信缺乏业务接入能力和网络交换能力,很难为各类应急通信应用提供服务支撑功能,不易实现对海上应急通信任务的指挥调度。
智能监控与调度系统能够满足海上应急通信业务的功能需求,可以增强管辖海域的应急通信能力。应该具备以下功能:(1)应急通信业务组网功能,能够为任务调度、综合运维、用户服务等业务提供网络层支撑;(2)具备应急通信任务调度功能,能够实现对海上应急任务的规划、组织和分配;(3)具备通信服务功能,能够提供面向各类应急通信应用的服务支撑。
随着我国海路对外贸易规模的快速增长、海洋产业的蓬勃发展、“一带一路”倡议的推进实施、东海、南海主权维护活动的日益常态化,以及各种海洋自然灾害和海上突发事件给海洋交通、海洋运输、海洋渔业、海洋旅游等海洋经济和海洋生产活动造成的危害日益显现,对应急通信业务的性能要求也越来越高,智能监控与调度系统的性能需求如表1所示。

3 智能监控与调度系统设计
3.1 设计思路

图6 应急通信业务系统技术架构
智能监控与调度系统的总体框架主体部分采用应用层、服务层与数据库3层分离的设计架构,总体框架见图7,极大提升了系统整体性能。针对系统首次海上应用,松耦合设计可缩短开发、测试、完善周期,同时可降低因系统局部修改造成的不稳定性。系统可实现各类海上通信系统实时状态信息、AIS、SOS、网络信息的接入,并为用户区的系统调度人员、机构用户、系统管理人员提供服务。

图7 智能监控与调度系统总体架构
1)平台调度设计。平台作为通信载荷的载体是整个调度系统的基础,主要包括无人机、船载、系留无人机、系留气球、灯塔、大浮台、钻井平台、浮标、潜标等。平台调度设计为调度业务区、调度管理区与调度规划区,由调度业务区根据应急场景区域的距离、通信服务时长、现场环境等条件配备平台机动性能、覆盖范围、服务时长等要素,按照天基、空基、岸基、海基、水下进行任务分解。平台任务调度区对平台调度进行计划生成,与平台资源(空域、海域)管理平台进行协调,并调整调度计划,平台指控接收调度计划,完成平台指控,平台调度设计见图8。

图8 平台调度设计图
2)通信调度设计。通信调度设计分为通信调度业务区、通信业务区与通信载荷区,通信调度业务区通过判断通信需求将通信业务分为移动网际互联协议(Internet protocol,IP)数据业务、窄带物联数据业务、水下数据传输业务、AIS数据业务、SOS数据业务、光通信数据传输业务、水下定位业务、海上本地通信业务、水下语音通信业务、公网LTE通信业务、卫星移动通信业务等11项分类,通过应急场景区域用户通信需求确定通信业务,并搭载业务终端,通信载荷实时反馈通信调度情况,通信调度设计见图9。

图9 通信调度设计图
3)协同交互设计。面向海洋防灾减灾、海上溢油、海上搜救、海洋权利维护等应急突发事件,提取应急场景分析与通信要素,匹配通信资源、平台资源、现场资源进行任务分解,协同预案知识库、调度规则集等辅助决策信息生成调度规划,通过平台、通信资源管理协商完成调度规划,调整生成指令集,完成通信平台搭载通信载荷集的协同调度,形成移动IP数据服务、LTE语音通信服务、AIS数据服务、SOS数据服务等服务能力,实现了按照应急场景通信需求组网的多主体协同智能调度,见图10。

图10 智能协同调度设计图
指挥调度分为指挥调度中心、指挥调度基地2级。系统主要分为调度信息、数据信息及状态信息3类。调度信息由平台系统指控人员通过电子工单的形式进行反馈。AIS、SOS数据由云服务平台进行汇聚入库。系统状态实时监控模块负责采集设备状态信息、设备工作参数信息、告警信息等运维信息,信息交互设计见图11。

图11 信息交互设计
4 关键技术
4.1 基于多主体的协同调度技术
开展海上通信多主体的协同调度技术研究,将通信设备与通信平台进行拆分设计,极大地提升了通信主体按需求可塑性,可按需构建围绕特定海洋应急场景的海上通信网络。基于地理信息系统(geographic information system,GIS)平台,在电子地图上分布展示应急通信主体的分布情况,包括超高空无人机、中低空无人机、船载、灯塔、浮标、潜标等应急通信设备当前在海上位置信息和应急通信储备点物资信息等。应急通信调度系统根据应急场景态势进行研判,确定海上通信主体的组合方式,通过接口实现对应急通信主体资源的调度,并通过接口将调度指令进行下达,由通信主体反馈是否执行、何时执行、以何种方式执行。
面向海上通信多异构主体的特点,本系统采用简单网络管理协议(simple network management protocol,SNMP)对异构海上通信系统进行监控信息采集与管理,可以实现海上通信系统设备、网络、告警信息的全面采集,同时基于SNMP协议的通用性,可以极大地降低因设备异构导致的监控信息采集不全的问题。通过在管理信息库(management information base,MIB)节点(对象标识符为1.3.6.1.4.1.201809.1)下建立系统私有MIB数据库,MIB数据库设计见图12,包括公共管理信息库、接入平台管理信息库2部分,实现系统监控信息的全面采集,同时可以高度适应海上应急通信系统的随遇接入带来的变化,极大提升海上通信系统的智能管理程度。

图12 MIB数据库设计
在应急响应预案已制定的条件下,因预案承载内容复杂,单纯的图文的显示缺乏多维表现力。应急响应预案数字化设计,通过预案的结构化,提取预案中关键信息,包括指导思想、目的等,以及应急通信资源、应急决策信息支撑等内容。将结构化的数字化预案与现有的应急资源进行匹配,提供可交互的应急资源检索和不同应急响应与应急资源的匹配情况展示。根据应急响应的演化过程分析,将文本预案进行流程化分解,分析每个关键点,将事件上报、SOS信息接收、预案启动、级别判断、队伍召集、职责分配、资源分析等关键环节按照预案的流程串联,能够智能分析执行预案流程,并可实现具体的应急通信响应。
应急预案规划算法从运维分系统中获取到平台和设备的相关数据信息后,存储在内存中,然后根据应急资源申请单中的数据信息,处理生成相应的应急任务。在需要的数据获取完成后,开始应急预案规划算法的预处理部分,包括统一应急通信任务的格式,更新当前可用的平台及设备列表。在预处理完成后,开始算法求解部分,采用贪心策略,对每一个任务尽可能匹配最为合适的平台及设备,达到更快、更准确覆盖范围最大的应急通信建网的要求。匹配每一个可用的平台及设备,符合约束条件立即使其进行响应,最终对每个应急任务形成相应的应急预案,写入数据库中,算法设计流程,见图13。

图13 应急预案规划算法设计流程
海上平台作为海上核心节点,在海上通信网络中,是承上启下的关键中间环节,海上平台从物理应用的角度可分为采集区、接入区、用户区,以及通信传输信道等重要部分,以船载系统为主体开展区域多业务安全共享技术应用,通信业务与数据业务以船载系统为海上主节点开展区域共享应用,通信业务实现区域内高并发通话,不依赖外部通信网络,抗毁性与灵活性得到极大的提升。
以海上平台为主体开展数据安全防护一体化技术研究,海上平台数据安全防护一体化设计模型,见图14,数据业务在船载通信系统中进行分用户确权,实现了数据的安全共享,数据传输在通信信道中采用虚拟分区,解决海上平台使用单一信道造成数据混淆问题。多通信系统用户鉴权使用数据,单一业务数据使用虚拟通道,实现了数据安全共享的一体化防护功能。预留的国产商密应用接口,可为下一步国产商密海上应用提供验证平台。

图14 海上平台数据安全防护一体化设计模型
5 典型场景应用
5.1 场景描述
通过对浙江舟山、海南三沙等地涉海科研单位、海洋职能单位、渔船等典型海上通信用户进行的海洋应急通信网络需求调研,按照海洋应急通信网络的应用场景分为海上搜救与救援、海洋安全生产管理、危化品监管及事故应急救援、水下设施应急维护、海洋权益维护、防灾减灾应急保障等几大类典型应用场景(图15)。

图15 海上搜救与典型应用场景示意
海上搜救与救援场景通信需求:一是海面救援,即船只发生撞击事故,渔民通过卫通终端发出求救信号,搜救中心接收求救信号,出动无人机通信系统快速抵达出事海域,接收SOS呼救信号,并提供通信保障,若是大规模救助场景,同时派出船载应急通信系统对事故现场提供应急通信保障及协同指挥保障;二是水下搜救,如在海底沉船等水下救助,出动水下应急通信系统,精确定位沉船海底位置,并在现场勘察阶段实时定位跟踪水下打捞设备及人员的位置,以便指挥中心做出决策,并制定打捞方案,保障打捞工作的顺利开展。同时,上述2种场景的救援行动都需要卫星应急通信系统协助进行话音通信、数据回传等业务。
应急指挥中心负责响应应急通信需求,跟踪救援态势,并进行协调、指挥、调度。渔业局等涉海管理部门提供应急通信保障服务,包括为其提供通信保障服务的申请、状态反馈、服务评价等业务。搜救船、无人机、遇险船、海上平台等在海上搜救与救援场景下,搭载各类应急通信载荷,提供语音、视频、图片、数据通信、AIS、SOS、水下通信、水下定位、水下导航等服务,服务对象与业务需求见表2。

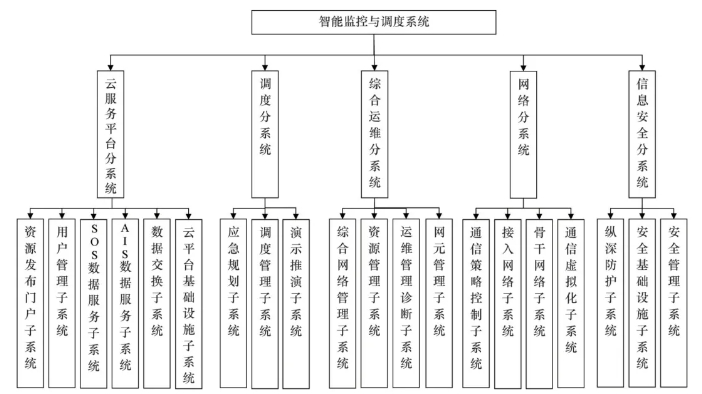
智能监控与调度系统针对环境事件、维权事件等突发应急事件决策调度等需求,配备业务接入网、骨干网,具备与运营商网络和外部业务网络的网络交换能力,以及规划能力和资源的调度能力,能够实现对海上应急通信中的各类资源及任务进行有效规划和统一调度。同时,智能监控与调度系统结合涉海部门对通信服务的实际需要,提供定制的通信链路资源,形成以用户为中心的资源服务和管理能力。智能监控与调度系统分为云服务平台分系统、调度分系统、综合运维分系统、网络分系统和信息安全分系统,如图16所示。

图16 智能监控与调度系统组成
云服务平台分系统为用户提供应急资源使用申请、资源审核、AIS数据、SOS数据、用户管理等多用服务统一的服务门户。
调度分系统针对应急资源使用申请、或其他渠道获得的突发应急事件通信保障需求进行智能规划,形成应急通信保障预案,可为各级指挥调度中心建立统一的管理平台、交互平台,保障应急预案全程受控、有效实施。
综合运维分系统实现海洋应急通信网络监测数据、设备监测数据、业务流量监测数据的交互与处理,实现全网资源的运维管理与故障诊断。
网络分系统实现接入网、骨干网动态展示,通信策略控制与虚拟资源规划。信息安全分系统实现全网安全防护。
海上搜救与救援场景下的业务流程主要包括服务申请、服务响应、服务开通、服务态势、服务结束等5部分。
1)服务申请。当海上船只撞击事故发生后,生成搜救任务,渔业局、海事局、搜救指挥调度中心等海上管理部门依据其自身业务流程制定海上搜救行动计划,并向应急通信调度系统提交应急通信保障服务申请。系统接收该申请,通过云平台按照任务能力与任务需求进行匹配,形成应急通信任务规划,向平台指控系统下达调度指令,根据平台能力初步判断能否满足需求,并反馈申请确认信息。
2)服务响应。云平台接收申请后,根据海上搜救与救应急响应预案,从渔业局、海事局、搜救指挥中心等搜救任务申请部门获取事故发生的海域、时间、待救援船只及待搜救人员数量等信息,结合无人机应急通信系统、船载应急通信系统、水下应急通信系统、卫星应急通信系统的实际状态,开展任务规划。期间通过视频会商、态势推演等手段,形成任务方案,并分解为任务指令下发给平台指控系统。
3)服务开通。无人机到达任务空域,开通LTE、AIS/SOS通信载荷业务,为覆盖区域提供应急通信能力。通信保障船携带通信方舱、系留无人机方舱和系留气球方舱到达任务海域,放飞系留无人机或系留气球,开通LTE通信业务,实现应急海域无线通信覆盖、数据采集、信息服务、回岸宽带链路、求救信号搜索、应急任务多媒体集群调度、水下应急通信系统通过浮潜标实现水下话音、定位数据回传等服务,形成海上机动应急通信网络。
4)服务态势。各系统通过与智能监控与调度系统间的接口,将无人机、保障船、各型方舱、浮潜标的状态信息回传,并集中在综合运维平台中展示(图17)。海上救援人员将各应急通信平台的接入状态、网络状态、实时性能等信息集中在指挥调度平台中展示。综合上述2个方面,形成完整的现场服务态势,提供给平台指控调度人员,并提供给应急通信保障服务申请的涉海部门。

图17 综合运维平台效果展示
5)服务结束。应急通信保障服务申请的涉海部门向云平台提交应急通信保障服务结束申请,结束本次应急通信保障服务。无人机返回机场,通信保障船搭载综合信息方舱、系留气球、系留无人机等设备驶回基地,浮潜标等水声通信与定位设备回收,进行既定的维护保养,等待下一次任务。
在应用过程中,智能监控与调度系统可以实现平台、设备状态实时监控,关键设备异常报警,应急场景下的通信响应、规划、展示功能,微波链路汇聚净负荷速率60.6Mbps,卫通链路汇聚上行速率与下行速率之和为3.8~4.2Mbps,可以满足通信系统接入需求。在此基础上,通过测试脚本模拟数据开展系统边界性能测试。主要性能测试结果见表3。
通过模拟场景测试结果分析,智能监控与调度系统的功能满足设计需求,监控告警生产场景下的平均响应时间为0.324s,单用户新增场景下的平均响应时间为0.049s,单用户数据交换场景下的平均响应时间为0.008s,可以满足应急场景下的通信需求。
海洋应急通信网络智能监控与调度系统解决了海上多主体信息同步壁垒问题,按照平台调度、通信调度、协同设计3个层次对调度功能进行了设计与实现,通过实时信息的反馈调整实现了全系统数据同步,为海洋应急通信网络“空、天、岸、海、潜”多主体协同、多手段融合、多业务运行提供了基础条件,为海洋应急通信网络的高机动、大覆盖的通信保障能力提升奠定了技术基础。但是,由于海洋环境的不稳定性,面向海洋应急通信网络的智能监控与调度系统响应效率面临着高速率海洋平台指控需求的挑战,对多维空间平台协同调度时延提出了更高的要求,因此应在实现多主体协同通信的调度基础功能上,进一步开展海上平台服务效能提升方法研究,提升海洋应急通信网络的突发事件响应能力,赋能海洋信息新型基础设施建设,推动海洋产业高质量发展。
本文作者:周雪、金上玺、谢硕、闫建峰、王晓瑞、孟俊峰、欧阳照红、黄宛宁
作者简介:周雪,国家海洋信息中心,高级工程师,研究方向为海洋通信网络规划;黄宛宁(通信作者),中国科学院空天信息创新研究院,高级工程师,研究方向为空间信息网络,多浮空器组网通信。