助力专利转化||助力“一种路桥边坡绿化浇灌装置”完成科技成果转化分级验证
发布时间: 2024-06-22
恭喜江苏华淼电子科技有限公司“一种路桥边坡绿化浇灌装置—— CN202010303686.7 ”,进行了科技成果转化的验证及服务。
专利摘要
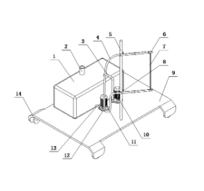
本发明一种路桥边坡绿化浇灌装置公开了一种通过抽水管将汇入集水沟中的灌溉流水重新抽取进行再利用,降低水资源的浪费的浇灌装置,其特征在于水箱置于底座上,所述底座底部置有至少四个脚轮,所述水箱上置有加水管,增压泵置于底座上,抽水泵置于底座上,所述抽水泵的出水端通过进水管和水箱相连接,所述抽水泵的进水端和抽水管相连接,所述增压泵的进水端通过出水管和水箱相连接,所述增压泵的出水端置有三通,支撑杆垂直置于底座上,两个转动杆的一端可转动的置于支撑杆上,且分别通过锁紧螺栓固定,连杆的两端分别和两个转动杆的另一端相连接,所述转动杆上等距置有至少两个管扣爪,两个喷水管的一端分别和三通相连接。
专利原始图:

1. 技术特征不明显
2. 专利成果不易直观理解
3. 无法判断应用前景和商业价值
专利转化使用场景图

1.对个人:促进专利转化,便于寻找投资机构,参与创业大赛及发明类比赛。
2.对高校:可以直观查看专利技术特征,便于高校梳理并分析内部专利技术情况,展示专利的商业化潜力,促进与企业的技术合作。
3.对企业:可以让企业直观地掌握专利的创新点和技术特点,作为研发支撑,让技术人员清晰看到技术的可视化样本,全方位地清楚其设计结构,减少成果转化的成本投入,促进产品后续的进一步改进创新,促进企业融资。
技术优势:
1.水资源再利用:该专利通过抽水管将汇入集水沟中的灌溉流水重新抽取进行再利用,有效降低了水资源的浪费。这一点在节中明确提到,能够将灌溉流水重新再利用,减少浪费。
2.喷灌角度自由调节:装置能够根据边坡斜角自由调整喷灌角度,提高了喷灌的效果。这一点在节中提到,能够根据边坡斜角自由调整喷灌角度,提高喷灌效果。
3.多层喷灌结构:通过至少两个转动杆的设计,增加了多层喷管,使得浇灌更加均细,提高了对边坡喷灌的均细度。这一点在节中提到,双层喷灌结构提高了对边坡喷灌的均细度。
4.支撑杆可伸缩:支撑杆可伸缩的设计,允许对转动盖的高度进行调整,进而对灌溉高度进行调整,增加了使用的灵活性。
5.转动杆角度支撑稳定性:通过固定杆和支撑柱的设计,提高了转动杆的角度支撑稳定性,确保了浇灌的稳定性和效果。
图文来源:徐州创之社通用技术产业研究院

Copyright © 2022 中国科学技术协会 版权所有 | 京ICP备16016202号-20
Copyright © 2022 中国科学技术协会 版权所有 | 京ICP备16016202号-20