科创九江第七十三期 | 科技引进之智能制造篇⑲
发布时间: 2023-01-29
01
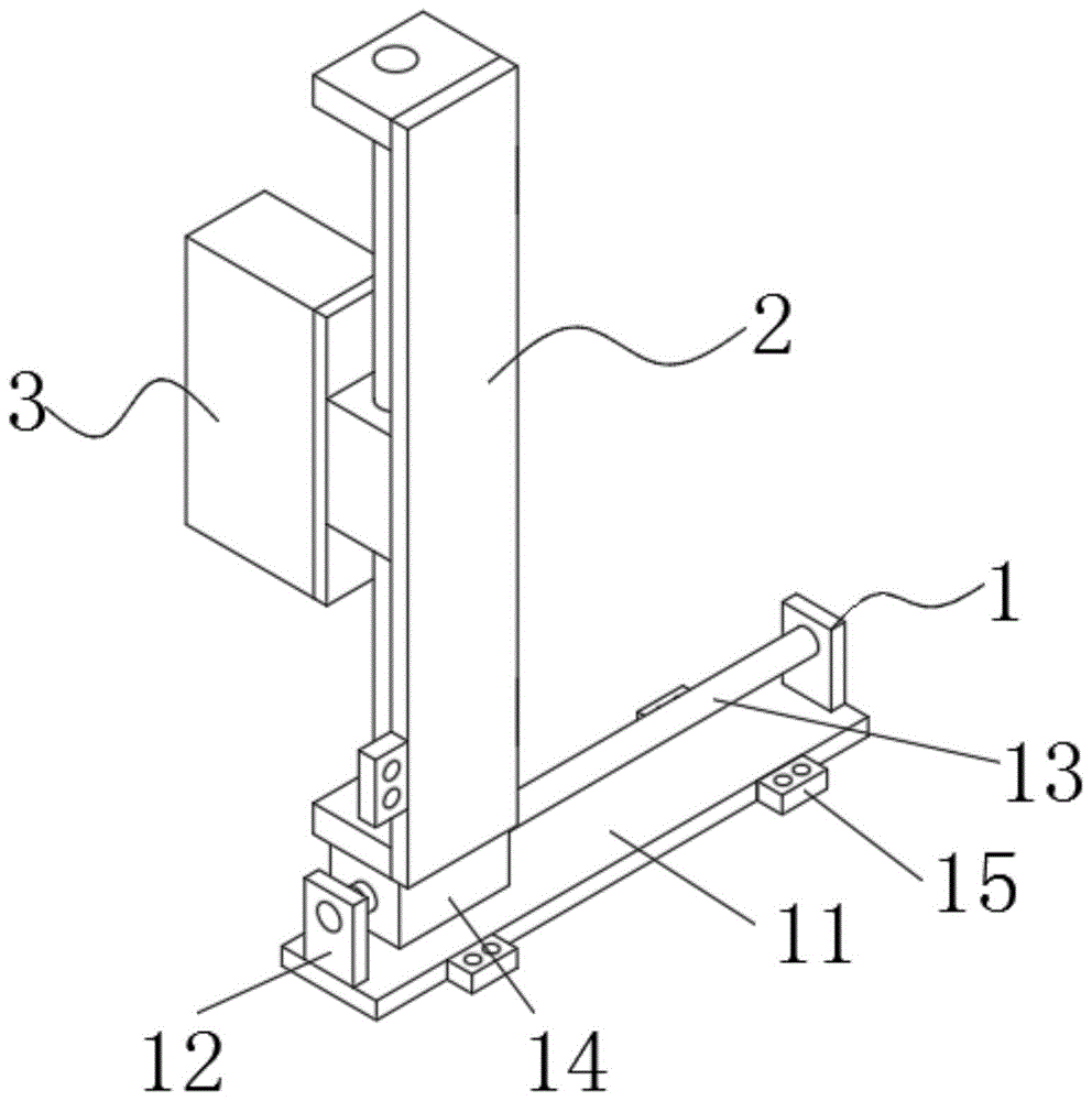
机械式抓取定位装置
所述抓取定位装置包括水平定位组件、连接于所述水平定位组件的竖直定位组件及连接于所述竖直定位组件的抓取组件,所述水平定位组件及所述竖直定位组件分别用于调节所述抓取组件的水平位置及竖直位置。该机械式抓取定位装置,通过水平定位组件和竖直定位组件调整抓取组件的水平或竖直方向上的位置,运行稳定,同时利用抓取组件实现物品的抓取,抓取牢固,利于使用。
☆该机械式抓取定位装置通过水平定位组件和竖直定位组件调整抓取组件的水平或竖直方向上的位置,运行稳定,同时利用抓取组件实现物品的抓取,抓取牢固,利于使用。
☆滚珠丝杠的两端分别通过轴承与所述抓取壳体相对的两个内壁相连接,保证了所述滚珠丝杠与所述抓取壳体的连接处的转动灵活性。
☆销轴的支座安装在所述抓取壳体的内壁上,以保证所述第一滑杆及所述第二滑杆的稳定性。
☆防滑垫所在的平面与所述滚珠丝杠的轴向相互平行,以保证抓取的牢固性。
02
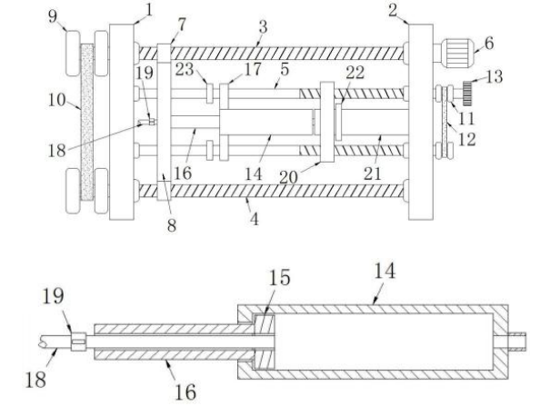
高分子材料制备用双螺杆挤压成型装置
成果介绍
一种高分子材料制备用双螺杆挤压成型装置,包括第一安装板、第二安装板、第一螺杆、第二螺杆和两个滑杆,所述第一螺杆和第二螺杆均设置于第一安装板和第二安装板之间且两端分别通过第一轴承与第一安装板和第二安装板转动连接,所述第二安装板的右侧固定设有电机,所述第一螺杆的右端杆壁贯穿第二安装板并与电机的输出轴固定连接,所述第一螺杆和第二螺杆通过第一传动机构传动连接,两个所述滑杆均设置于第一安装板和第二安装板之间且两端杆壁分别通过第二轴承与第一安装板和第二安装板转动连接。实现了对高分子材料的快速挤压,提高了工作效率和质量。
成果创新点
☆天然高分子是存在于动物、植物及生物体内的高分子物质,可分为天然纤维、天然树脂、天然橡胶、动物胶等,合成高分子材料主要是指塑料、合成橡胶和合成纤维三大合成材料。 ☆目的是为了解决现有技术中工作效率低下,一旦需要较多成品时,工作人员需要花费较多的时间工作,影响其工作进度的问题,而提出的一种高分子材料制备用双螺杆挤压成型装置。
03
X射线衍射仪薄膜测试样品台
用于X射线衍射仪的薄膜测试样品台,由一个固定支架、三根弹簧、一个平板型样品架、一个调节螺丝组成。所述的固定支架为直角“Z”字形,在固定支架下方平板中央开有螺丝孔,及三个弹簧钩孔,平板型样品架也开有三个弹簧拉钩孔,平板型样品架通过三个弹簧分别通过拉钩孔与固定支架相联接,调节螺丝穿过固定支架的螺丝孔与样品架下底面接触,通过调节螺丝,可以自由调节样品架的高度,最终使样品表面与固定支架上表面在同一平面内。
☆采用调节螺丝自由调节样品架高度,适合不同衬底厚度薄膜样品的测量,不需要根据不同的薄 膜样品厚度加工不同的样品架,不但提高了测量效率,同时也避免重复加工样品台带来的浪费;
☆适用性强,不但适合薄膜样品的测量,同时也适用粉末样品的测量;
☆样品架表面可以增加吸盘,防止样品的滑落;
☆样品架可以是加热板或制冷片,实现样品的变温测量。
图文来源:科创中国

Copyright © 2022 中国科学技术协会 版权所有 | 京ICP备16016202号-20
Copyright © 2022 中国科学技术协会 版权所有 | 京ICP备16016202号-20