特斯拉的热泵空调,败给了加拿大的冬天?
发布时间: 2022-01-30

来源:车东西
作者 | James
编辑 | 晓寒
数九寒冬,你的纯电动车体验如何?
续航打折可能还不是最糟心的事。近期就有十几名加拿大的特斯拉车主反馈,冬季连空调都使用不了,不仅仅车冻得续航打折,人冻得也是一把鼻涕一把泪。
并且,这些冬季无法制热的基本都是热泵空调。
这就非常奇怪了,热泵空调的高效省电优势没能发挥出来,反而无法制热了,引来加拿大部分车主的质疑,也引起了特斯拉研发团队的重视。马斯克都说,这是特斯拉高度优先要解决的问题。
但更奇怪的是,马斯克说热泵空调的故障竟然是一个软件问题,通过固件更新就能完成。或许很多人从来还没听说过,空调还需要OTA。不过,了解完特斯拉热泵空调的结构和工作原理之后,就能发现这一套硬件竟然能实现12种不同的功能,并且所有功能的实现都依靠软件控制。
所以说,特斯拉热泵空调的问题可能真的就是个软件问题。
那么,特斯拉的热泵空调究竟有多神奇?为什么会出现极寒条件下无法制冷的情况,业内能不能解决这个问题呢?在看过特斯拉热泵空调专利,并且和美的威灵工程师进行了一次对话后,车东西找到了问题的答案。
本文福利:特斯拉不仅重新定义汽车,还在改进生产制造革命。分享报告《特斯拉生产制造革命》,公众号对话框回复[车东西0303]下载。
01
加拿大车主热泵失灵 竟能通过固件更新解决
本月,位于北半球的各国迎来了冬季以来最冷的时间,电动汽车也进入了一年里最不好用的阶段。
近期,就有加拿大特斯拉车主反映,他们在极寒环境下开车,热泵空调竟然不能用了。
推特用户@TSelvig说道,当天出行时,气温已经降至-40℃。在这种极寒天气下,他驾驶特斯拉Model Y时,热泵空调却无法使用。在尝试重启车辆、给特斯拉客服打电话后,仍无法解决这个问题,并且车主距离最近的服务中心也有几小时的车程,没有空调根本无法开车。
▲用户在-40℃环境下热泵空调无法工作
最终,一家人改用燃油车出行。
另一位Model Y车主@paateach的经历则更加丰富,他的Model Y已经连续两个冬天没有暖风了。
▲有用户更换了空调零部件仍然失效
他在推文中说,自己住在加拿大南部的萨斯喀彻温省,去年2月就遇到了热泵空调无法使用的情况,整整一个月都没有暖风。后来,特斯拉为他更换了一组超岐管,当时热泵空调就能使用了。但是,到今年冬天,气温下降到-30℃时,他再次遇到了热泵空调无法使用的情况。
当时,他拍下了车机屏幕上的提示:座舱气候调节系统需要维修,制热、制冷系统将被限制或无法使用。
▲热泵空调失灵时车机上的显示
两位车主对特斯拉发出了质疑:为什么特斯拉的热泵空调会在极寒天气下失灵?特斯拉已经维修几次,为什么维修方案还是无效?
甚至有车主说,经历过这个冬天之后,希望卖掉自己的特斯拉换回燃油车,至少不会出现空调制热故障。
特斯拉车主社群Tesla Owner’s Club在加拿大阿尔伯塔省的主席Angie Dean表示:“在加拿大阿尔伯塔省和萨斯喀彻温省,已经有十余名特斯拉车主出现了热泵空调无法使用的问题。”
▲马斯克称已经更新固件修复问题
就在上周,车主社群Drive Tesla Canada在推特上@马斯克,要求他对热泵问题发表评论,马斯克5分钟内就回复了推文,并称维修热泵空调具有非常高的优先级。40分钟后,马斯克称热泵空调的新固件已经向用户推出。
令人相当好奇的是,热泵空调出现故障为什么能通过固件更新修复?另外,当固件更新完成后,仍有车主反馈无法制热,固件更新到底有没有用?
02。
极寒出行需提前预热电池 热泵可能还有硬件缺陷
在一份特斯拉2019年公开的专利文件中,就展示了热泵空调系统的结构和运作方式。2020年初,伴随着Model Y车型的量产,这项专利也转化为了特斯拉的量产应用。
如果打开特斯拉的前备箱,就能看到热泵空调和多条管道、线束,实际上这只是热泵系统的“冰山一角”。从专利图上看,特斯拉的热泵空调拥有11个主要组件,并且负责整车的热循环,能够通向座舱、电池包、电机等车辆不同的部位。
▲箭头所指位置为特斯拉热泵空调
这些主要部件有压缩机、座舱冷凝器、座舱蒸发器、电池系统冷却装置、座舱鼓风机、电机液冷冷凝器、蓄电池、三向压缩机出气口、低压电动座舱加热器(PTC)、再循环空调、暖气。
在这11个主要部件中,特斯拉并没有直接取消传统PTC加热,而仍然配备了一个低压PTC加热。但是,由于功率不足,这个PTC加热装置并不能直接向座舱内供暖,而是当热泵系统制热不足时,提供辅助加热。
▲特斯拉热泵空调系统结构
比较令人惊讶的是,特斯拉的这套硬件能够实现12种不同的工作模式,通过不同的软件调度完成。
这12种工作模式中,热泵参与的模式并不多,只有三种。热泵参与加热可以分为纯热泵模式和混合加热模式。当热泵效率较高的时候,就启用纯热泵模式,当效率较低时,就启用混合加热模式,热泵可以和PTC加热混合,还能加入蒸发器共同加热。
▲特斯拉热泵空调的12种工作模式和功能
另外,单纯使用压缩机、蒸发器也能加热座舱、电池系统。并且车内热循环系统还能实现座舱除雾、除霜、除湿等功能。
这里就能得出一个结论:热泵空调的问题通过固件更新修复,确实是可行的。
当热泵空调系统硬件没有问题时,调整不同环境下的软件调度,就能实现对热泵空调系统的调整。
单就热泵系统而言,加热座舱的效率和热泵的效率有很强的联系。因为热泵空调的工作原理就是交换车内外的热能。
通过蒸发器,冷媒能够从外界环境中吸热,到车内冷媒液化后释放出热量,就可以向座舱内供暖。
不过,如果外界环境温度越低,冷媒从外界环境中获取热量也就越难,这就导致热泵空调在极寒环境下制热效率不高。
特斯拉也知晓这一显而易见的问题,因此在热泵空调之外还加入了辅助加热器件。
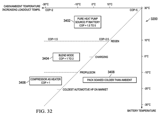
特斯拉在专利中绘制了一张图表,可以解释热泵空调在不同温度条件下的效率。热泵空调的效率系数用COP(Coefficient of Performance)表示,当COP=1时,表示消耗电能和产生的热能相等;当COP>1时,热泵空调处于高效区,代表消耗较少的电能能够得到更多的热能。
▲车内环境温度和电池温度对热泵空调效率的影响
从特斯拉的图表中可以看到,当环境温度和电池温度同时低于-20℃时,热泵空调的效率将非常低下,这一温度也被特斯拉认为是极寒温度,在这个温度以下已经没有解决方案了。但此时,只需要为电池加热,COP值就会随之升高,制热系统也就能够正常使用了。
当COP=1时,热泵空调不工作,依靠蒸发实现加热,当COP≥1时,热泵空调才会参与制热,而此时温度则需要在-10℃以上。
这里能得出第二个结论:如果外界天气极度寒冷,即便更新了热泵空调固件,制热效果仍会较差。解决方法是加热电池,或者说出行之前为电池预热。
不过,在马斯克回复已经更新固件的推文下,还有不少用户反馈车辆仍无法制热。
那么,这很有可能出现了硬件问题。
特斯拉车主@paateach在推特上说,他的特斯拉Model Y已经更换了两次超岐管,其中包括热泵空调的传感器、膨胀阀和冷媒管线。制热系统暂时能用,但自己非常担心可能再次损坏。
▲车主更换两次零部件后仍担心再次损坏
推特用户特斯拉车主在线透露了热泵空调的研发故事。近期,特斯拉在美国加利福尼亚洲和阿拉斯加州的工程师都在测试热泵空调,测试结果发现低于-30℃时,特斯拉的热泵空调能够正常工作,其原因是热泵空调拥有两个冷媒的循环。
▲车主俱乐部称特斯拉已经发现硬件问题
同时,工程师也发现了问题:在极寒天气下,前进气口盖板会被冻坏,导致行驶过程中吸入冷风。由于冷风温度过低,传感器感知后会向系统报错,此时压缩机会停止工作,制热也就停止了。
为了快速解决这一问题,特斯拉可能通过软件强制启动压缩机,暂时避免了极寒天气下制热失灵。但要彻底解决这个问题,后期特斯拉可能还需更新部分硬件。
03
混合加热可应对低温 部分公司还在探索新冷媒
对于汽车行业来说,热泵空调还是个新鲜事物,2020年初特斯拉Model Y才量产搭载。在此之前,纯电动车普遍采用PTC方式为车内制热。但即便在理想条件下,PTC的COP也就是1。效率不高导致PTC加热用电量非常大,进而成为影响电动车冬季续航的一大因素。
热泵空调的高效表现吸引了电动车企的目光,2021年新上市的纯电动车,基本都从此前的PTC加热升级为热泵空调。但是,由于冷媒的限制,通常情况下气温低于-10℃时,热泵的效率就会大幅降低,此时还得依靠PTC加热为车辆供暖。
例如,小鹏P5搭载了热泵空调,实现高效制热,但同时也搭载了PTC,在温度低于-10℃时,车辆就会启用PTC加热,为车内供暖。
可以说,小鹏P5在一定程度上解决了热泵空调的短板,但是还没有彻底解决。
而另一家新晋汽车零部件厂商威灵则解决了极寒天气下的制热问题。说到威灵,可能很多汽车圈内的朋友并不陌生,威灵就是国内家电头部企业美的集团的子公司。
去年,威灵宣布投产的几款汽车零部件中,就包括车用热泵空调。
目前,热泵空调通常采用的冷媒有R134a(CH2FCF3,四氟乙烷),但是在外界温度较低时,制热量衰减十分明显。因此,业内有混合冷媒的探索,但也无法明显的性能提升。
▲美的威灵电动压缩机
威灵零部件的工程师另辟蹊径,采用二氧化碳作为冷媒,在极寒温度下制热效率有了明显提升。
威灵的转子式CO2电动压缩机能够在-30℃条件下,实现COP=2的制热效率。同时,其运转过程中噪音低、整体设计更加轻量化。
威灵工程师介绍,在极寒天气下,用户不需要“盖着被子”开车,同时相比传统热泵空调,二氧化碳作为冷媒的热泵,最多能够让车辆的续航里程提升20%。
仅仅是CO2电动压缩机,就拥有220项国内发明专利,和14项国际发明专利,并且拥有完全的自主知识产权。同时,CO2作为常见的温室气体,收集用作冷媒,也为“碳中和”贡献了一份力量。
去年,美的集团威灵零部件的热泵空调产品已经在小鹏、蔚来等纯电品牌车型上搭载,成为国内零部件企业快速向电动化转型的一个缩影。
04
结语:电动汽车还有巨大创新空间
2020年,特斯拉将热泵空调装进纯电动车,带动了电动汽车行业向着高效方向再进了一步。仅仅一年的时间,到2021年,热泵空调已经成为高端电动汽车的标配。
显然,燃油车时代不会使用的技术,在电动汽车时代可能就是巨大的创新。在全球电动汽车竞争愈加激烈的今天,电动汽车领域仍有巨大的创新空间。