科创中国
问题分诊室
具身智能与智慧医疗融合创新产业
高性能装备制造产业
智能机器人全产业链产业
中医药产业
人工智能产业
新一代信息技术产业
作物产业
量子科技与先进制造产业
海洋装备产业
煤炭开采及煤化工产业
特殊钢产业
节能环保产业
低空经济产业
光电产业
汽车产业
新能源产业
新材料产业
“以竹代塑”
成果发布厅
新型电力系统
化学领域
现代纺织
低空经济
信息通信
智慧公路
煤炭开采及煤化工
中医药
智能机器人全产业链
海洋装备
新一代信息技术
量子科技与先进制造
人工智能
高性能装备制造
具身智能与智慧医疗融合创新
作物
科创地方
科创北京
科创天津
科创内蒙古
科创辽宁
科创河北
科创湖南
科创宁夏
科创广东
科创江苏
科创广西
科创重庆
科创山东
科创河南
科创福建
科创黑龙江
科创湖北
科创浙江
科创山西
科创资讯
科创头条
科协活动
通知公告
科技政策
技术经理人
科技服务团
资源中心
项目库
问题库
案例库
开源库
学术资源
会议展览
品牌栏目
院士开讲
解码新质生产力
金融服务云课堂
企创云课堂
有问题想咨询
有成果想转化
我的交易
我的会议
我报名的路演会议
我的资讯
我的消息
我的动态
我的需求
我的成果
我的
个人资料编辑
退出登录
登录/注册
科创中国
需求发布
成果发布
科创案例库
揭榜挂帅
技术经理人
会议展览
科创联合体
科技服务团
科创资讯
科技政策
院士开讲
学术资源
城市站点
协作站点
搜索
问题库
项目库
开源库
English
我的交易
我的会议
我报名的路演会议
我的资讯
我的消息
我的动态
我的需求
我的成果
我的
个人资料编辑
退出登录
登录/注册
组织入驻
“科创中国”咸宁大健康、智能机电专业科技服务团
2023
专业科技服务团
“科创中国”咸宁大健康、智能机电科技服务团由湖北香城智能机电研究院牵头组建,汇聚中国自动化学会、中国林学会、湖北科技学院、咸宁职业技术学院等一批国家级学会、高校、企业专家组成科技服务团,针对咸宁市大健康、智能机电产业实际问题和发展需求实地调研对接,辨析凝练形成高质量的技术需求清单,联合开展技术攻关和技术合作,助推咸宁科技创新和经济转型升级,打造科技经济融合发展咸宁样板间。服务团合作单位:中国自动化学会、中国林学会、咸宁市科协技术学会、湖北科技学院、咸宁职业技术学院;服务产业:大健康(侧重康养、桂花研究、中药材、茶业)、智能机电;服务内容:1.组建科创中国湖北区域创新服务团;2.建立上下联动的服务对接机制;3.构建人才库、成果库,实现与“科创中国”平台资源互通、 共建共享;4.开展高质量产业服务需求挖掘匹配、跟踪对接;5.围绕大健康、智能机电产业开展产学融合创新服务。服务城市:湖北咸宁。
收起
工作进展
活动开展
智库报告
宣讲培训
高端研讨
转化对接
组织机构
科技成果
专家人才
技术需求
服务需求
人才需求
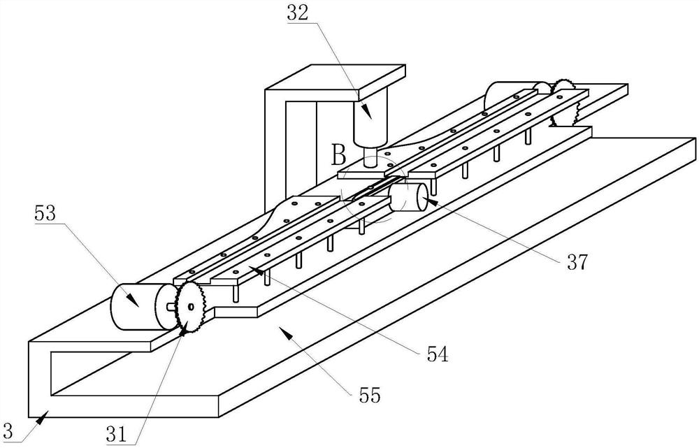
一种下沉式元器件贴片的PCB板组件
湖北***********公司
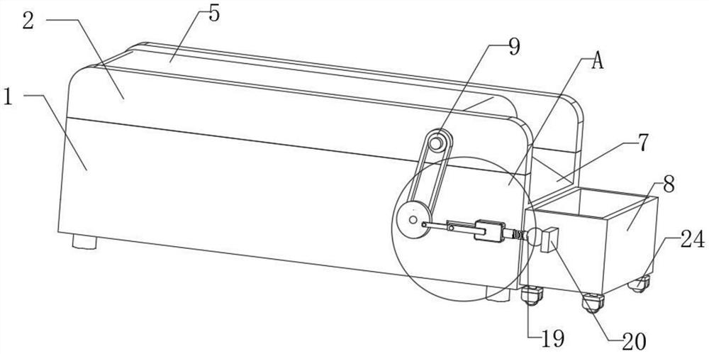
一种安全使用pH试纸套装
咸宁***********公司
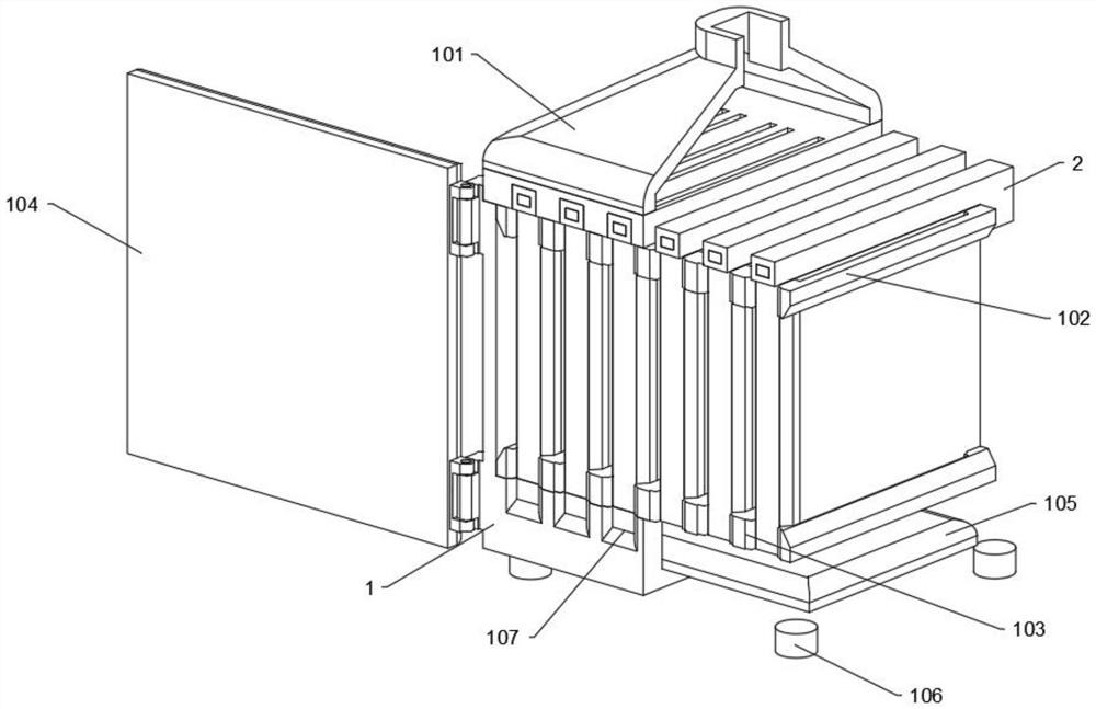
预制电缆排管节段及装配式电缆排管
国网*************公司
一种改善水冷效果的隔热条挤出模具
湖北******公司
一种固体矿产勘查中用远程探测装置
湖北************************站)
一种可多角度调节的妇科检查灯
咸宁***医院
用于高密度纤维板干燥的烘干设备
澳森********公司
一种玻璃输送链上支撑块的铆接设备
咸宁********公司
一种新型洗布机
湖北********公司
一种无纺布生产用具有自动调节加湿角度的超声波加湿机
赤壁*********公司
一种可降解塑料编织袋加工用转运装箱装置
湖北********公司
一种导热性能好的复合木地板
湖北*******公司
首页
上一页
3
4
5
6
7
8
9
下一页
尾页
共65页 转到
页