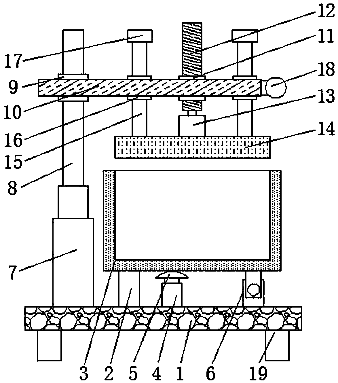
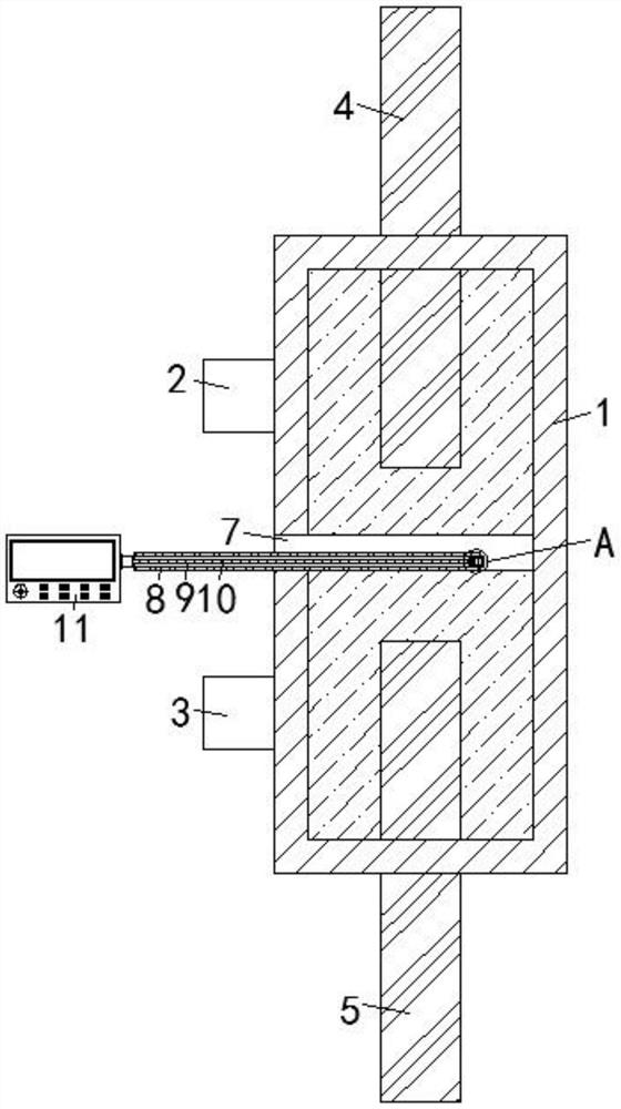
共65页 转到