科创中国
问题分诊室
具身智能与智慧医疗融合创新产业
高性能装备制造产业
智能机器人全产业链产业
中医药产业
人工智能产业
新一代信息技术产业
作物产业
量子科技与先进制造产业
海洋装备产业
煤炭开采及煤化工产业
特殊钢产业
节能环保产业
低空经济产业
光电产业
汽车产业
新能源产业
新材料产业
“以竹代塑”
成果发布厅
新型电力系统
化学领域
现代纺织
低空经济
信息通信
智慧公路
煤炭开采及煤化工
中医药
智能机器人全产业链
海洋装备
新一代信息技术
量子科技与先进制造
人工智能
高性能装备制造
具身智能与智慧医疗融合创新
作物
科创地方
科创北京
科创天津
科创内蒙古
科创辽宁
科创江苏
科创广西
科创广东
科创重庆
科创宁夏
科创河北
科创山东
科创河南
科创福建
科创湖南
科创黑龙江
科创湖北
科创浙江
科创山西
科创资讯
科创头条
科协活动
通知公告
科技政策
技术经理人
科技服务团
资源中心
项目库
问题库
案例库
开源库
学术资源
会议展览
品牌栏目
院士开讲
解码新质生产力
金融服务云课堂
企创云课堂
有问题想咨询
有成果想转化
我的交易
我的会议
我报名的路演会议
我的资讯
我的消息
我的动态
我的需求
我的成果
我的
个人资料编辑
退出登录
登录/注册
科创中国
需求发布
成果发布
科创案例库
揭榜挂帅
技术经理人
会议展览
科创联合体
科技服务团
科创资讯
科技政策
院士开讲
学术资源
城市站点
协作站点
搜索
问题库
项目库
开源库
English
我的交易
我的会议
我报名的路演会议
我的资讯
我的消息
我的动态
我的需求
我的成果
我的
个人资料编辑
退出登录
登录/注册
组织入驻
“科创中国”贵州科技服务团
示范项目
2023
区域科技服务团
贵州省计算机学会成立于1992年7月,成立了以李祥、李坚石、张明义等老一辈国内知名计算机专家为核心的第一届理事会。学会旨在为贵州省计算机、大数据等相关学科的发展和人才培养,助推贵州省大数据战略的实施和产业的发展作出积极的贡献。2022年,学会推动了CCF贵阳分部落地贵州。 在贵州省科学技术协会、贵阳市的大力支持和指导下,2021年、2022年连续获得“科创中国”贵州大数据区域科技服务团并圆满完成,并获中国科协 2021年度“优秀服务团”。通过高校专家与企业联动,优势互补,专家团累计为企业服务200余人次,利用科创中国平台,帮助相关企业获得政府科技资金支持5000万余元,成果转化10余项。学会联合贵阳市科学技术协会、有关企业,整合政产学研界专家学者,形成了“科企融合”的大数据发展产业链,服务团工作多次获贵州日报、贵阳日报、贵州电视台等媒体的宣传报道。
收起
工作进展
活动开展
智库报告
宣讲培训
高端研讨
转化对接
组织机构
科技成果
专家人才
技术需求
服务需求
人才需求
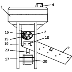
一种自动撒播机
贵州*******公司
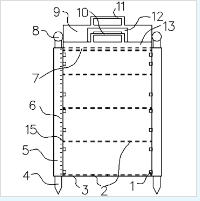
一种牛羊饮水设备
贵州*******公司
一种亲水型聚砜/二氧化硅共混中空纤维膜及其制备方法
贵州*******公司
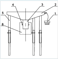
一种适用于喀斯特地区的土壤测试仪器的放置装置
贵州*******公司
轻便式新型家用花生脱果机
贵州*******公司
一种适用于喀斯特地区的土壤测试仪器保护装置
贵州*******公司
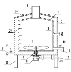
一种简易自动洗瓶器
贵州*******公司
一种用于土壤剖面一次多层取土的装置
贵州*******公司
一种土样接收装置
贵州*******公司
一种径流池水土分离和混合收集一体化装置
贵州*******公司
一种剪力墙与填充墙连接结构
贵州*******公司
全方位气动旋转挤压3D打印混凝土装置
贵州*******公司
首页
上一页
33
34
35
36
37
38
39
下一页
尾页
共126页 转到
页