科创中国
问题分诊室
具身智能与智慧医疗融合创新产业
高性能装备制造产业
智能机器人全产业链产业
中医药产业
人工智能产业
新一代信息技术产业
作物产业
量子科技与先进制造产业
海洋装备产业
煤炭开采及煤化工产业
特殊钢产业
节能环保产业
低空经济产业
光电产业
汽车产业
新能源产业
新材料产业
“以竹代塑”
成果发布厅
新型电力系统
化学领域
现代纺织
低空经济
信息通信
智慧公路
煤炭开采及煤化工
中医药
智能机器人全产业链
海洋装备
新一代信息技术
量子科技与先进制造
人工智能
高性能装备制造
具身智能与智慧医疗融合创新
作物
科创地方
科创北京
科创天津
科创内蒙古
科创辽宁
科创江苏
科创广西
科创广东
科创重庆
科创宁夏
科创河北
科创山东
科创河南
科创福建
科创湖南
科创黑龙江
科创湖北
科创浙江
科创山西
科创资讯
科创头条
科协活动
通知公告
科技政策
技术经理人
科技服务团
资源中心
项目库
问题库
案例库
开源库
学术资源
会议展览
品牌栏目
院士开讲
解码新质生产力
金融服务云课堂
企创云课堂
有问题想咨询
有成果想转化
我的交易
我的会议
我报名的路演会议
我的资讯
我的消息
我的动态
我的需求
我的成果
我的
个人资料编辑
退出登录
登录/注册
科创中国
需求发布
成果发布
科创案例库
揭榜挂帅
技术经理人
会议展览
科创联合体
科技服务团
科创资讯
科技政策
院士开讲
学术资源
城市站点
协作站点
搜索
问题库
项目库
开源库
English
我的交易
我的会议
我报名的路演会议
我的资讯
我的消息
我的动态
我的需求
我的成果
我的
个人资料编辑
退出登录
登录/注册
组织入驻
“科创中国”工程智能建造与智慧运维技术产业科技服务团
示范项目
2022
产业科技服务团
工程智能建造与智慧运维技术服务团由山东大学、中国人民解放军陆军工程大学、石家庄铁道大学、河海大学、中国电建集团昆明勘测设计研究院、东南大学、西南交通大学、武汉大学、同济大学、中铁第一勘察设计院集团有限公司、中交第一公路勘察设计研究院、广州地铁设计研究院有限公司、中铁第四勘察设计院集团有限公司、济南轨道交通集团有限公司等国内知名高校、科研院所和生产单位牵头,汇聚中国工程院院士、全国工程勘察设计大师、长江学者、国家杰青等担任科技服务团技术顾问,坚持“深入工程一线、理论联系实际、多学科交叉融合”原则,深入开展了工程智能建造与智慧运维的基础理论、关键技术与核心装备研究,建立了地下工程智能建造与智慧运维机器人装备技术体系,形成了突出的技术优势。工程智能建造与智慧运维技术服务团将立足智能建造与智慧工程学科领域,以及全国首个智能建造与智慧交通本科专业,发挥平台和专业优势,以加快建设交通强国、制造强国战略实施为主线,利用已有的研究基础和已积累的新技术,进一步加强成果的转移转化,依托川藏铁路、胶州湾第二海底隧道、穿黄隧道、临滕高速等在建工程及未来陆续上马的渤海湾跨海通道等工程,服务国家重大战略实施。
收起
工作进展
活动开展
智库报告
宣讲培训
高端研讨
转化对接
组织机构
科技成果
专家人才
技术需求
服务需求
人才需求
一种移动工棚的智能化控制系统及方法
济南********公司
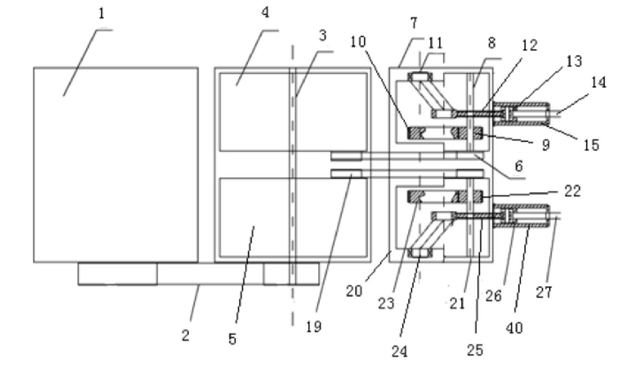
一种管片抗弯、抗渗两用试验装置及方法
济南********公司
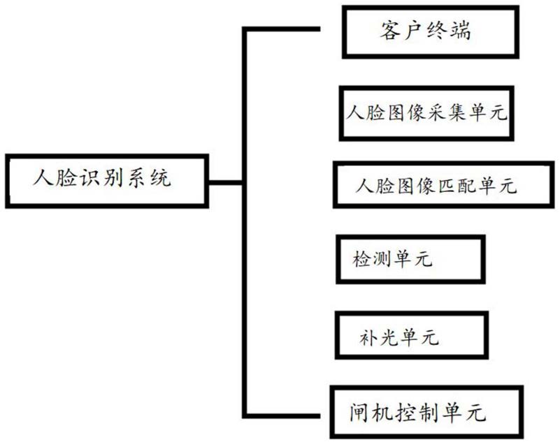
一种轨道交通使用的人脸识别系统及方法
济南********公司
用于岩土工程均匀围压下的假三轴蠕变装置及方法
山东**
一种组合式自动布设雷达天线轨道设备
山东**
一种无人机航拍像控点标识装置及使用方法
山东**
一种车载式隧道全断面形状检测装置及方法
山东**
针对封闭充水溶洞的体积测量系统及方法
山东**
一种智能双液注浆泵及工作方法
山东**
一种用于岩溶管道动水封堵的注浆材料、制备方法及应用
山东**
一种盾构隧道地质评价用气动触发装置及方法
山东**
一种搭载于盾构机的不良地质探测系统及方法
山东**
首页
上一页
1
2
3
4
5
6
下一页
尾页
共7页 转到
页