科创中国
问题分诊室
具身智能与智慧医疗融合创新产业
高性能装备制造产业
智能机器人全产业链产业
中医药产业
人工智能产业
新一代信息技术产业
作物产业
量子科技与先进制造产业
海洋装备产业
煤炭开采及煤化工产业
特殊钢产业
节能环保产业
低空经济产业
光电产业
汽车产业
新能源产业
新材料产业
“以竹代塑”
成果发布厅
新型电力系统
化学领域
现代纺织
低空经济
信息通信
智慧公路
煤炭开采及煤化工
中医药
智能机器人全产业链
海洋装备
新一代信息技术
量子科技与先进制造
人工智能
高性能装备制造
具身智能与智慧医疗融合创新
作物
科创地方
科创北京
科创天津
科创内蒙古
科创辽宁
科创江苏
科创广西
科创广东
科创重庆
科创宁夏
科创河北
科创山东
科创河南
科创福建
科创湖南
科创黑龙江
科创湖北
科创浙江
科创山西
科创资讯
科创头条
科协活动
通知公告
科技政策
技术经理人
科技服务团
资源中心
项目库
问题库
案例库
开源库
学术资源
会议展览
品牌栏目
院士开讲
解码新质生产力
金融服务云课堂
企创云课堂
有问题想咨询
有成果想转化
我的交易
我的会议
我报名的路演会议
我的资讯
我的消息
我的动态
我的需求
我的成果
我的
个人资料编辑
退出登录
登录/注册
科创中国
需求发布
成果发布
科创案例库
揭榜挂帅
技术经理人
会议展览
科创联合体
科技服务团
科创资讯
科技政策
院士开讲
学术资源
城市站点
协作站点
搜索
问题库
项目库
开源库
English
我的交易
我的会议
我报名的路演会议
我的资讯
我的消息
我的动态
我的需求
我的成果
我的
个人资料编辑
退出登录
登录/注册
组织入驻
“科创中国”智能家电专业科技服务团
2023
专业科技服务团
海创汇,是海尔集团打造的面向全球创业者的加速器平台,以海尔集团行业优势和智能家电产业资源为背景,聚焦科技创新,开放大企业资源搭建产融精准对接桥梁,开展科技创新专项服务,打通产业链、创新链、资金链、人才链,实现资源精准对接。搭建“产业对接平台”“融资路演平台”“科技服务平台”,帮助中小企业解决发展过程中遇到的资金、产业场景、人才和科技的等瓶颈问题,提升创业成功率,现已逐步形成大中小企业融通发展生态。先后获评全国首批双创示范基地、国家中小企业公共服务示范平台等,在全球12个国家布局了40个加速器,汇聚了来自全球的4000多个创业项目,其中重点加速项目360余个,A轮成功率是行业的5倍,达到50%。 在智能家电及技术创新领域,无论是科技研发、专利共享,还是在生产设备、实验设备等生产资源的开放方面,在海创汇均可实现在创新创业领域的深度融合,为智能家电领域的创客提供从引入创意,到提供生产装备等多种资源服务,再到产品的最终产业化全产业链的一站式孵化服务,充分发挥大企业双创带动中小微企业的发展带动作用。
收起
工作进展
活动开展
智库报告
宣讲培训
高端研讨
转化对接
组织机构
科技成果
专家人才
技术需求
服务需求
人才需求
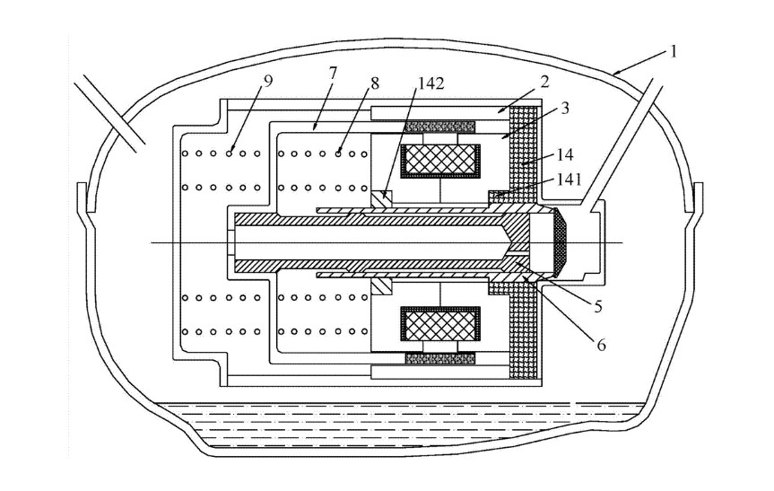
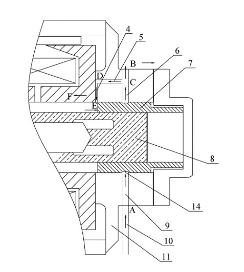
直线压缩机及其气缸固定结构
青岛**********公司
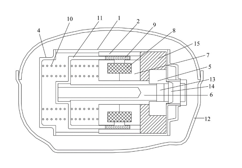
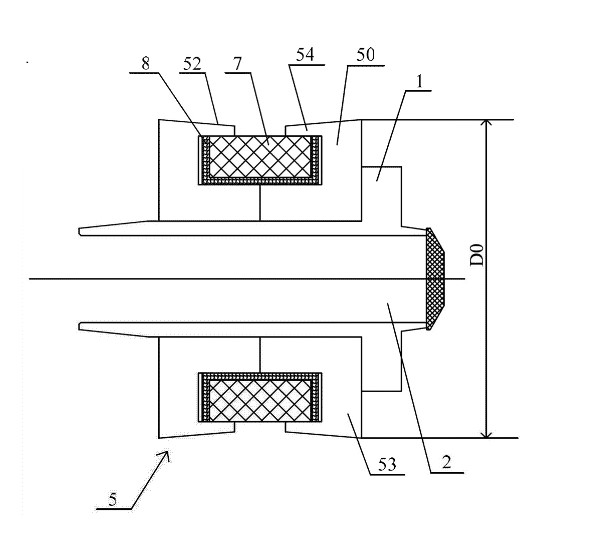
线性压缩机及其电机固定结构
青岛**********公司
洗衣控制方法和洗衣机
青岛**********公司
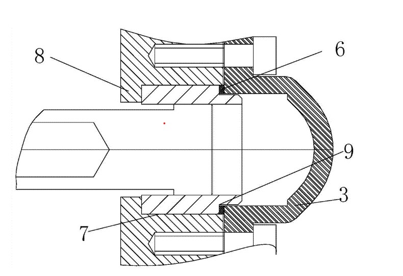
直线压缩机及直线压缩机的活塞
青岛**********公司
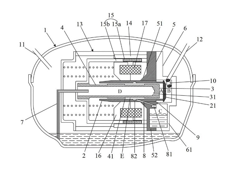
直线压缩机的定子、直线电机及直线压缩机
青岛**********公司
线性压缩机及其供油润滑方法
青岛**********公司
供油装置及包含有该供油装置的直线压缩机
青岛**********公司
一种直线压缩机及其润滑方法
青岛**********公司
用于线性电机的装配线圈的定子片、定子以及压缩机
青岛**********公司
线性压缩机
青岛**********公司
定子叠片的固定结构和方法、电机及线性压缩机
青岛**********公司
用于直线压缩机电机的内定子及相应的电机和直线压缩机
青岛**********公司
首页
上一页
15
16
17
18
19
20
21
下一页
尾页
共33页 转到
页