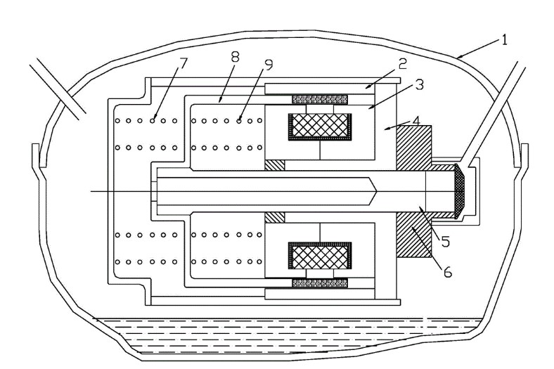
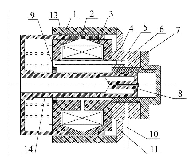
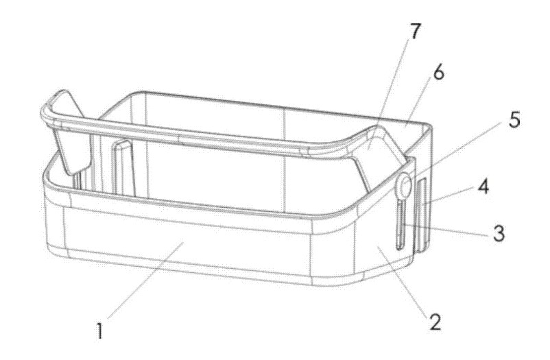
共33页 转到