科创中国
问题分诊室
具身智能与智慧医疗融合创新产业
高性能装备制造产业
智能机器人全产业链产业
中医药产业
人工智能产业
新一代信息技术产业
作物产业
量子科技与先进制造产业
海洋装备产业
煤炭开采及煤化工产业
特殊钢产业
节能环保产业
低空经济产业
光电产业
汽车产业
新能源产业
新材料产业
“以竹代塑”
成果发布厅
新型电力系统
化学领域
现代纺织
低空经济
信息通信
智慧公路
煤炭开采及煤化工
中医药
智能机器人全产业链
海洋装备
新一代信息技术
量子科技与先进制造
人工智能
高性能装备制造
具身智能与智慧医疗融合创新
作物
科创地方
科创北京
科创天津
科创内蒙古
科创辽宁
科创河北
科创湖南
科创宁夏
科创广东
科创江苏
科创广西
科创重庆
科创山东
科创河南
科创福建
科创黑龙江
科创湖北
科创浙江
科创山西
科创资讯
科创头条
科协活动
通知公告
科技政策
技术经理人
科技服务团
资源中心
项目库
问题库
案例库
开源库
会议展览
品牌栏目
院士开讲
解码新质生产力
金融服务云课堂
企创云课堂
有问题想咨询
有成果想转化
我的交易
我的会议
我报名的路演会议
我的资讯
我的消息
我的动态
我的需求
我的成果
我的
个人资料编辑
退出登录
登录/注册
科创中国
需求发布
成果发布
科创案例库
揭榜挂帅
技术经理人
会议展览
科创联合体
科技服务团
科创资讯
科技政策
院士开讲
学术资源
城市站点
协作站点
搜索
问题库
项目库
开源库
English
我的交易
我的会议
我报名的路演会议
我的资讯
我的消息
我的动态
我的需求
我的成果
我的
个人资料编辑
退出登录
登录/注册
组织入驻
“科创中国”重庆区域科技服务团
示范项目
2023
区域科技服务团
“科创中国”重庆区域科技服务团以习近平新时代中国特色社会主义思想为指导,贯彻落实《“科创中国”三年行动计划(2021—2023)》《2021年“科创中国”工作要点》工作部署,切实推动“科创中国”科技服务团各项工作“往下走、往实走、靠岸走”,发挥好组织、团结、引领广大科技工作者参与现代产业经济实践的组织载体与桥梁纽带作用,服务高质量发展,着力推动“科创中国”品牌建设。本服务团是在2020年已组建的13支重庆市级科技经济融合专家服务队基础上,由重庆市科协牵头,联合相关国家级学会和重庆市级学会共同组建“科创中国”重庆区域科技服务团。服务团以服务本市永川区和重庆高新区2个“科创中国”全国试点城市为重点,聚焦12个市级试点区县,辐射全市其他区县,以服务区域产业发展需求为目的,通过探索产学融合新模式,培育融合创新新生态,推动科技经济的深度融合,为重庆经济社会高质量发展提供科技支撑。本服务团秘书处设在重庆市菁英科技经济融合发展服务中心,负责科技服务团日常联络工作。
收起
工作进展
活动开展
智库报告
宣讲培训
高端研讨
转化对接
组织机构
科技成果
专家人才
技术需求
服务需求
人才需求
一种具备能量防护功能的吸透一体超宽带隐身表面结构
重庆*********公司
一种警用多功能手电筒
重庆*********公司
一种建筑物二维矢量图构建方法、系统、设备及存储介质
重庆*********公司
反恐阻车器
重庆*********公司
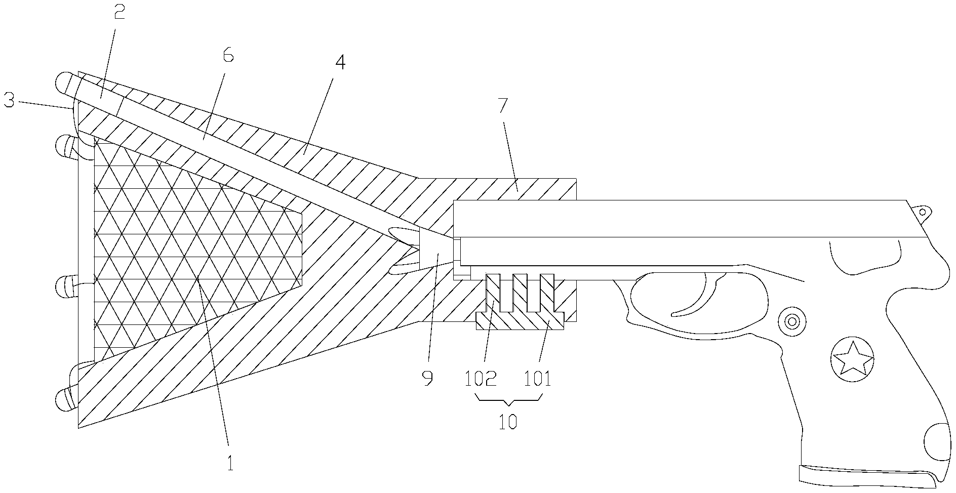
一种基于92G式手枪的外挂式网弹捕捉器
重庆*********公司
一种高度有序排列的纤维素薄膜及其制备方法和应用
重庆*********公司
一种干式变压器绝缘老化状态评估方法
重庆*********公司
一种多防护功能的警用腰带
重庆*********公司
一种基于柔性直流牵引供电系统的容量优化方法
重庆*********公司
一种飞翼式倾转旋翼无人机
重庆*********公司
可控方向式车载多功能智能警灯
重庆*********公司
一种高速列车制动粘滑试验模拟装置
重庆*********公司
首页
上一页
154
155
156
157
158
159
160
下一页
尾页
共328页 转到
页