科创中国
问题分诊室
具身智能与智慧医疗融合创新产业
高性能装备制造产业
智能机器人全产业链产业
中医药产业
人工智能产业
新一代信息技术产业
作物产业
量子科技与先进制造产业
海洋装备产业
煤炭开采及煤化工产业
特殊钢产业
节能环保产业
低空经济产业
光电产业
汽车产业
新能源产业
新材料产业
“以竹代塑”
成果发布厅
新型电力系统
化学领域
现代纺织
低空经济
信息通信
智慧公路
煤炭开采及煤化工
中医药
智能机器人全产业链
海洋装备
新一代信息技术
量子科技与先进制造
人工智能
高性能装备制造
具身智能与智慧医疗融合创新
作物
科创地方
科创北京
科创天津
科创内蒙古
科创辽宁
科创江苏
科创广西
科创广东
科创重庆
科创宁夏
科创河北
科创山东
科创河南
科创福建
科创湖南
科创黑龙江
科创湖北
科创浙江
科创山西
科创资讯
科创头条
科协活动
通知公告
科技政策
技术经理人
科技服务团
资源中心
项目库
问题库
案例库
开源库
学术资源
会议展览
品牌栏目
院士开讲
解码新质生产力
金融服务云课堂
企创云课堂
有问题想咨询
有成果想转化
我的交易
我的会议
我报名的路演会议
我的资讯
我的消息
我的动态
我的需求
我的成果
我的
个人资料编辑
退出登录
登录/注册
科创中国
需求发布
成果发布
科创案例库
揭榜挂帅
技术经理人
会议展览
科创联合体
科技服务团
科创资讯
科技政策
院士开讲
学术资源
城市站点
协作站点
搜索
问题库
项目库
开源库
English
我的交易
我的会议
我报名的路演会议
我的资讯
我的消息
我的动态
我的需求
我的成果
我的
个人资料编辑
退出登录
登录/注册
组织入驻
隐藏工作区
全国
在线展厅
切换展厅
全国
北京市
天津市
河北省
山西省
内蒙古
辽宁省
吉林省
黑龙江省
上海市
江苏省
浙江省
安徽省
福建省
江西省
山东省
河南省
湖北省
湖南省
广东省
广西
海南省
重庆市
四川省
贵州省
云南省
西藏
陕西省
甘肃省
青海省
宁夏
新疆
新疆兵团
路演活动
科技成果
参观
人数
0
0
0
0
0
0
0
点赞
人数
0
0
0
0
0
0
0
技术领域
全部
新兴行业
|
新基建
|
电子信息
|
高端产业
|
生物医药
|
石化与新材料
|
智能机械与光机电一体化
|
节能环保
|
新能源
|
现代农业
|
高端技术服务业
|
农林牧副渔
|
城建规划
|
文化创意
|
矿山工程
|
冶金工程
|
企业管理
|
知识产权
|
智库咨询
|
旅游休闲娱乐
|
企业发展服务
|
电子商务
|
纺织
|
其他
|
更多
ABI:细胞存活冷冻技术CAS(日本)
北京悌希捷科技有限公司
高品质太阳能吸热膜设计、制造技术
中国建筑材料科学研究总院玻璃科学研究院
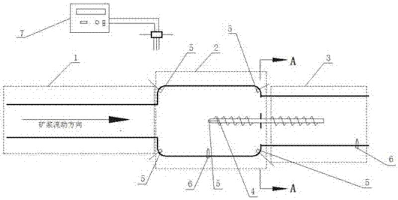
一种摩擦电选的非线性电场自动调节装置
中国矿业大学
烧结烟气与焦炉烟气高炉一体化处理技术
北京科技大学
循环水复合管膜高效过滤净化技术
北京科技大学
科凤脱冰液(一种物体与冰的分离液)
新疆和静科凤科技研究所
中科院—新型耐微生物腐蚀管线钢
天津联创科技发展有限公司
污染河湖底泥诊断与处置技术
天津联创科技发展有限公司
水体生态修复相关技术
天津联创科技发展有限公司
水污染治理、水体修复生态工程技术
天津联创科技发展有限公司
置物架LED灯
广州来盈电子科技有限公司
高炉热风炉模型及操控优化策略研究
北京科技大学
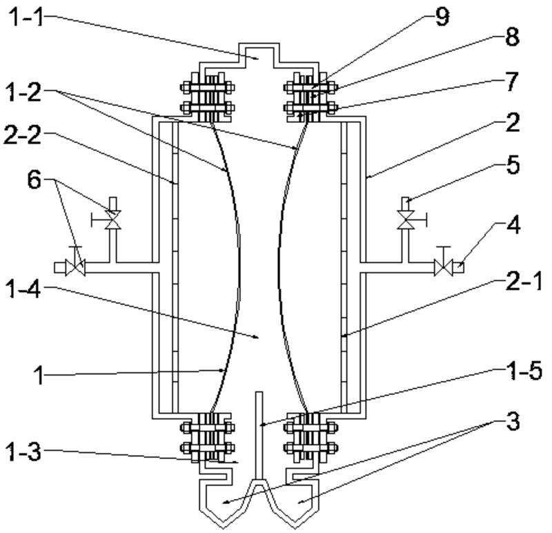
旋流-静态微泡浮选柱超声强化管流段矿化装置
中国矿业大学
新型高效超磁分离一体化污水处理技术
浙江理工大学瓯海研究院
一种计及铁损耗的开关磁阻电机相电感估测方法
中国矿业大学
一种用于恶劣环境下混凝土结构的修复加固方法
中国矿业大学
中国核学会获得标准创新贡献奖二等奖团体标准应用案例二
中国核学会
中国核学会获得标准创新贡献奖二等奖团体标准应用案例一
中国核学会
环保型淋洗剂修复重金属污染土壤研究及工程应用
浙江理工大学瓯海研究院
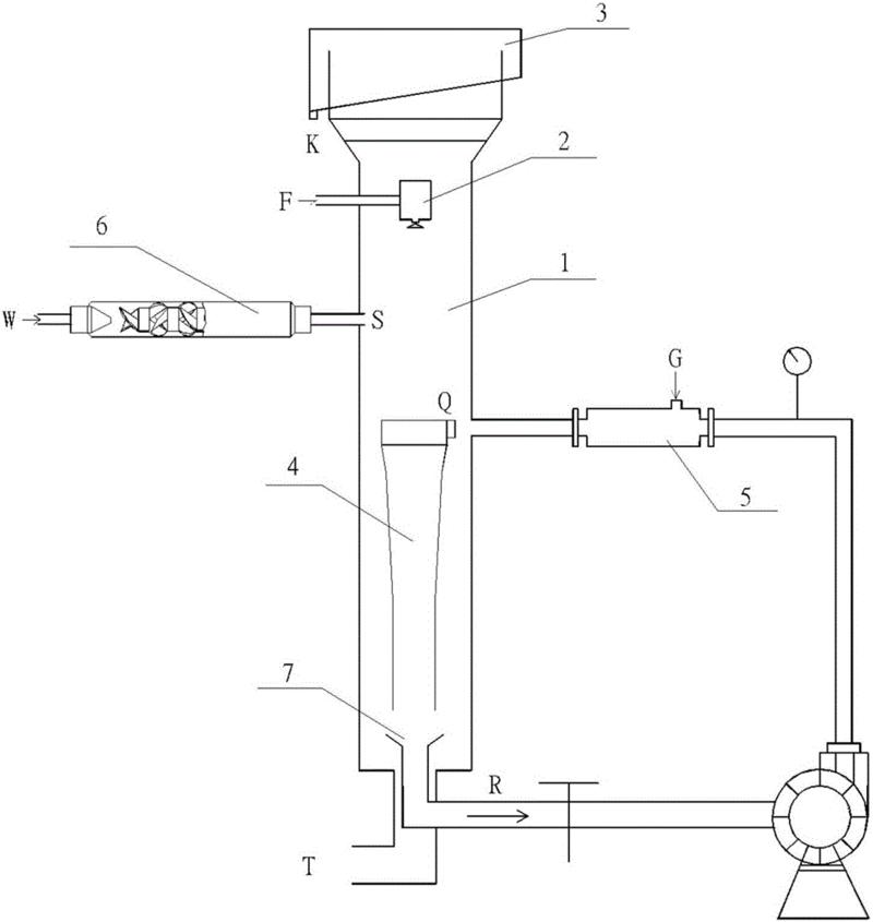
一种含油污水的净化装置及分离方法
中国矿业大学
首页
上一页
48
49
50
51
52
53
54
下一页
尾页
共114页 转到
页