科创中国
问题分诊室
具身智能与智慧医疗融合创新产业
高性能装备制造产业
智能机器人全产业链产业
中医药产业
人工智能产业
新一代信息技术产业
作物产业
量子科技与先进制造产业
海洋装备产业
煤炭开采及煤化工产业
特殊钢产业
节能环保产业
低空经济产业
光电产业
汽车产业
新能源产业
新材料产业
“以竹代塑”
成果发布厅
新型电力系统
化学领域
现代纺织
低空经济
信息通信
智慧公路
煤炭开采及煤化工
中医药
智能机器人全产业链
海洋装备
新一代信息技术
量子科技与先进制造
人工智能
高性能装备制造
具身智能与智慧医疗融合创新
作物
科创地方
科创北京
科创天津
科创内蒙古
科创辽宁
科创河北
科创湖南
科创宁夏
科创广东
科创江苏
科创广西
科创重庆
科创山东
科创河南
科创福建
科创黑龙江
科创湖北
科创浙江
科创山西
科创资讯
科创头条
科协活动
通知公告
科技政策
技术经理人
科技服务团
资源中心
项目库
问题库
案例库
开源库
学术资源
会议展览
品牌栏目
院士开讲
解码新质生产力
金融服务云课堂
企创云课堂
有问题想咨询
有成果想转化
我的交易
我的会议
我报名的路演会议
我的资讯
我的消息
我的动态
我的需求
我的成果
我的
个人资料编辑
退出登录
登录/注册
科创中国
需求发布
成果发布
科创案例库
揭榜挂帅
技术经理人
会议展览
科创联合体
科技服务团
科创资讯
科技政策
院士开讲
学术资源
城市站点
协作站点
搜索
问题库
项目库
开源库
English
我的交易
我的会议
我报名的路演会议
我的资讯
我的消息
我的动态
我的需求
我的成果
我的
个人资料编辑
退出登录
登录/注册
组织入驻
隐藏工作区
全国
在线展厅
切换展厅
全国
北京市
天津市
河北省
山西省
内蒙古
辽宁省
吉林省
黑龙江省
上海市
江苏省
浙江省
安徽省
福建省
江西省
山东省
河南省
湖北省
湖南省
广东省
广西
海南省
重庆市
四川省
贵州省
云南省
西藏
陕西省
甘肃省
青海省
宁夏
新疆
新疆兵团
路演活动
科技成果
参观
人数
0
0
0
0
0
0
0
点赞
人数
0
0
0
0
0
0
0
技术领域
全部
新兴行业
|
新基建
|
电子信息
|
高端产业
|
生物医药
|
石化与新材料
|
智能机械与光机电一体化
|
节能环保
|
新能源
|
现代农业
|
高端技术服务业
|
农林牧副渔
|
城建规划
|
文化创意
|
矿山工程
|
冶金工程
|
企业管理
|
知识产权
|
智库咨询
|
旅游休闲娱乐
|
企业发展服务
|
电子商务
|
纺织
|
其他
|
更多
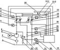
一种防治巷道掘进面粉尘的细水雾与液氮雾联动系统
徐州工程学院
利用风力驱动飞轮蓄能的污泥干化系统
徐州工程学院
一种基于光伏逆变器的太阳能发电、供热系统
徐州工程学院
带有分离支座的便携式折叠风扇
徐州工程学院
一种具有曲面扫描功能的巡检装置
徐州工程学院
单执行元件负载口独立控制液压实验系统
徐州工程学院
一种地下工程废水处理集成设备中样品夹持装置
徐州工程学院
一种三轴式木地板切割装置及其关键部件的制作方法
徐州工程学院
一种竖直式快速净水装置及其净水方法
徐州工程学院
一种伞型智能控制雨水弃流系统
徐州工程学院
一种基于频域分段的高分辨率最小方差超声成像方法
重庆大学
居家老人无线监测报警系统及方法
徐州工程学院
一种基于储能型柔性开关的配电网故障恢复方法
重庆大学
基于自发辐射抑制的超窄线宽激光器
重庆大学
一种用于二氧化钛光催化剂生产设备中制冷系统
徐州工程学院
通过磁集成抑制功率波动的电动汽车动态无线充电系统
重庆大学
一种聚光加热两段螺旋式污泥干化热解系统及方法
徐州工程学院
一种基于无人机的土地固化喷洒装置及其喷洒方法
重庆大学
四氯化碳岩溶水积物涂胶轧辊维修装置及其操作方法
徐州工程学院
一种并网PV光伏逆变器中的分数阶滑模控制方法
重庆大学
首页
上一页
87
88
89
90
91
92
93
下一页
尾页
共260页 转到
页