一种快速检测黑心片的方法
盛询科技集团
一种无风机助燃的甲醇燃烧器
盛询科技集团
一种换气暖风炉
盛询科技集团
一种多功能采暖装置
盛询科技集团
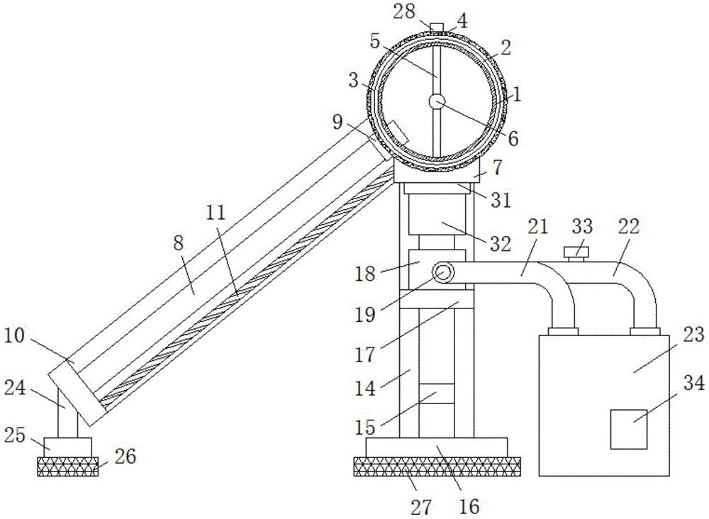
一种自动跟踪太阳的光伏发电装置
盛询科技集团
一种自动清煤机
盛询科技集团
液体分层取样器
宁夏大学
一种实现逆变器参考电压相位快速调整的相位切换方法
西南交通大学
铝合金铸造用直流电磁泵系统
中北大学
LED贴片机
常州先进制造技术研究所
宝亿机械-陶瓷复合刹车盘项目
莱州宝亿机械有限公司
联投工具-数字可变阻(DVR)电机产业化项目
山东联投工具股份有限公司
云端智能机器人的研发及应用
深圳达闼科技控股有限公司
燃气计量表电子计数器传感组件筛选仪 发明专利
宁夏大学
X射线三维显微成像检测设备及应用
天津三英精密仪器股份有限公司
特种机器人等无人车产品研发
广西博锐恩科技有限公司
金属电解质等离子抛光机床
哈尔滨安泽科技有限公司
移动变电站铁芯固定装置
盛询科技集团
高频内触发圆弧电极照明灯
盛询科技集团
高频控制器外触发电极网式照明灯
盛询科技集团
共260页 转到