一种用于迈克尔逊干涉仪的激光光源装置
江南大学
一种带可移动上圆盘的三线摆
江南大学
一种格栅式絮凝沉降装置
中国矿业大学
一种无机改性高分子复合球吸湿材料及其制备方法
中国矿业大学
一种傅里叶变换红外光谱原位漫反射谱图的三级校正方法
中国矿业大学
专业桌面飞行训练器
四川翔步科技有限公司
一体化自交联携砂压裂液乳液
四川申和新材料科技有限公司
一种高温粒子加热的鼓泡式甲烷裂解反应装置
中国矿业大学
空气动力钛雷弹智能驱鸟系统
二重德阳特种装备有限公司
石油开采树生产力末端动力油嘴装置
广汉川亿石油科技有限公司
一种利用乏风或低浓度瓦斯的直接发电方法及系统
中国矿业大学
快钻复合桥塞技术应用中碎屑捕集器管汇
广汉川亿石油科技有限公司
一种与液压支架配合使用的超声波激励放顶煤装置及其使用方法
中国矿业大学
一种基于片簧的可变刚度柔性关节及其控制方法
中国矿业大学
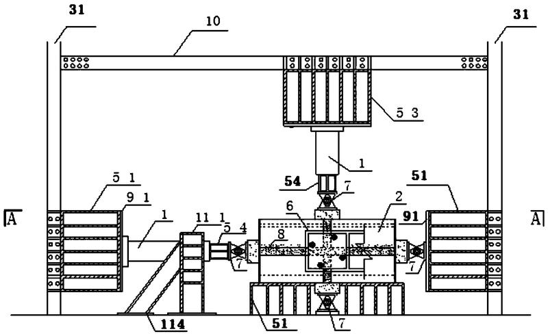
一种钢性梁柱和混凝土梁柱多节点疲劳破坏试验装置
中国矿业大学
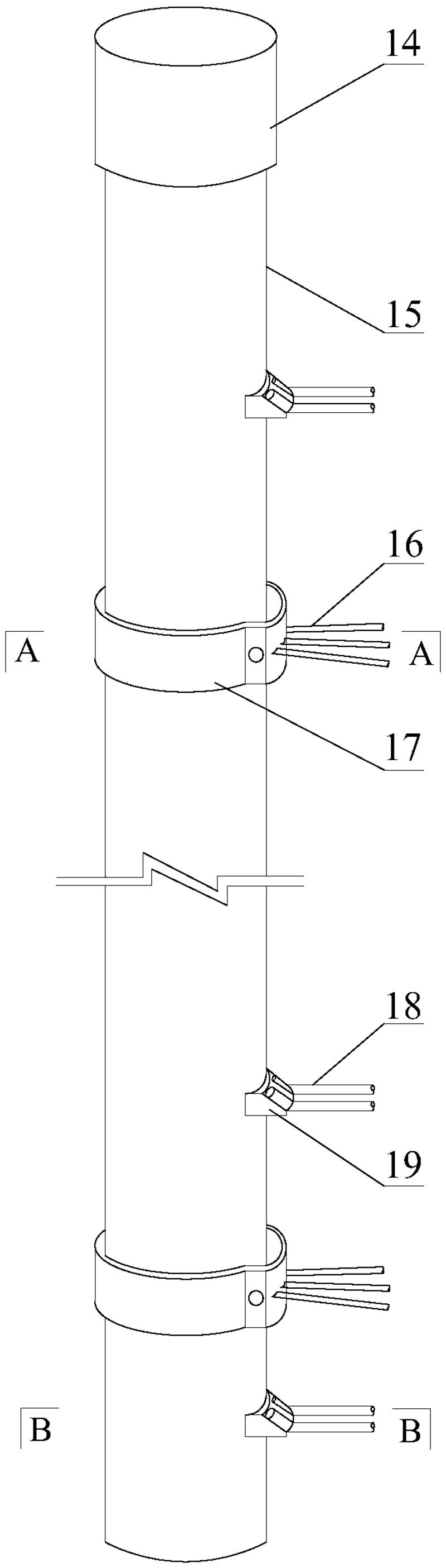
一种矿山多用途立井管道式物料输送系统
中国矿业大学
一种矿山多用途立井螺旋式物料输送系统
中国矿业大学
一种顺层钻孔防漏风瓦斯抽采方法
中国矿业大学
一种充填采场矿压弱化表征方法
中国矿业大学
一种柔索驱动的光学加工试验机控制系统及方法
中国矿业大学
共260页 转到