科创中国
问题分诊室
具身智能与智慧医疗融合创新产业
高性能装备制造产业
智能机器人全产业链产业
中医药产业
人工智能产业
新一代信息技术产业
作物产业
量子科技与先进制造产业
海洋装备产业
煤炭开采及煤化工产业
特殊钢产业
节能环保产业
低空经济产业
光电产业
汽车产业
新能源产业
新材料产业
“以竹代塑”
成果发布厅
新型电力系统
化学领域
现代纺织
低空经济
信息通信
智慧公路
煤炭开采及煤化工
中医药
智能机器人全产业链
海洋装备
新一代信息技术
量子科技与先进制造
人工智能
高性能装备制造
具身智能与智慧医疗融合创新
作物
科创地方
科创北京
科创天津
科创内蒙古
科创辽宁
科创河北
科创湖南
科创宁夏
科创广东
科创江苏
科创广西
科创重庆
科创山东
科创河南
科创福建
科创黑龙江
科创湖北
科创浙江
科创山西
科创资讯
科创头条
科协活动
通知公告
科技政策
技术经理人
科技服务团
资源中心
项目库
问题库
案例库
开源库
学术资源
会议展览
品牌栏目
院士开讲
解码新质生产力
金融服务云课堂
企创云课堂
有问题想咨询
有成果想转化
我的交易
我的会议
我报名的路演会议
我的资讯
我的消息
我的动态
我的需求
我的成果
我的
个人资料编辑
退出登录
登录/注册
科创中国
需求发布
成果发布
科创案例库
揭榜挂帅
技术经理人
会议展览
科创联合体
科技服务团
科创资讯
科技政策
院士开讲
学术资源
城市站点
协作站点
搜索
问题库
项目库
开源库
English
我的交易
我的会议
我报名的路演会议
我的资讯
我的消息
我的动态
我的需求
我的成果
我的
个人资料编辑
退出登录
登录/注册
组织入驻
隐藏工作区
全国
在线展厅
切换展厅
全国
北京市
天津市
河北省
山西省
内蒙古
辽宁省
吉林省
黑龙江省
上海市
江苏省
浙江省
安徽省
福建省
江西省
山东省
河南省
湖北省
湖南省
广东省
广西
海南省
重庆市
四川省
贵州省
云南省
西藏
陕西省
甘肃省
青海省
宁夏
新疆
新疆兵团
路演活动
科技成果
参观
人数
0
0
0
0
0
0
0
点赞
人数
0
0
0
0
0
0
0
技术领域
全部
新兴行业
|
新基建
|
电子信息
|
高端产业
|
生物医药
|
石化与新材料
|
智能机械与光机电一体化
|
节能环保
|
新能源
|
现代农业
|
高端技术服务业
|
农林牧副渔
|
城建规划
|
文化创意
|
矿山工程
|
冶金工程
|
企业管理
|
知识产权
|
智库咨询
|
旅游休闲娱乐
|
企业发展服务
|
电子商务
|
纺织
|
其他
|
更多
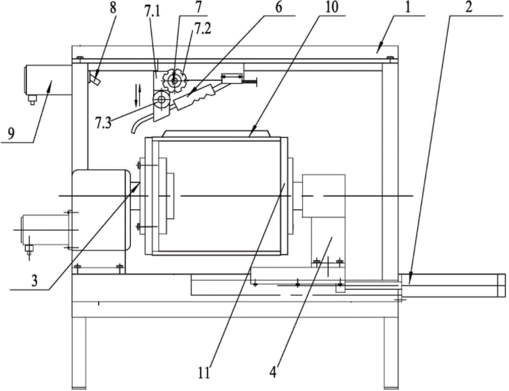
一种带标签安装装置的药盘面板结构
无锡市美景医用设备有限公司
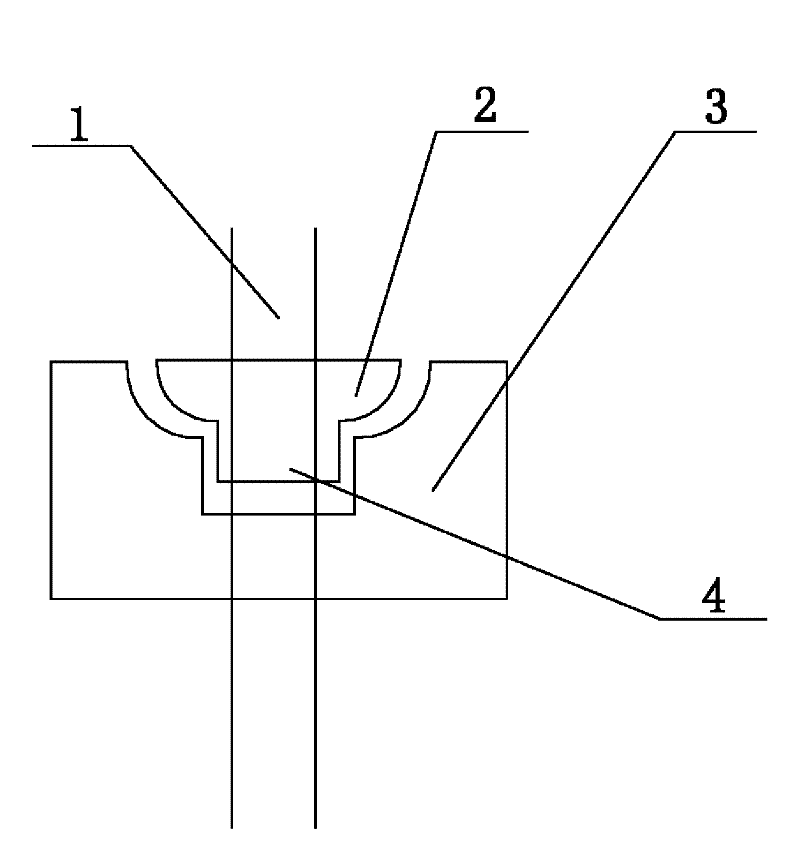
一种旋转药盘架的旋转装置
无锡市美景医用设备有限公司
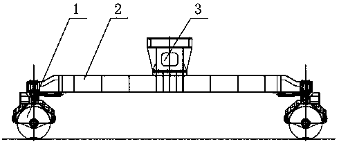
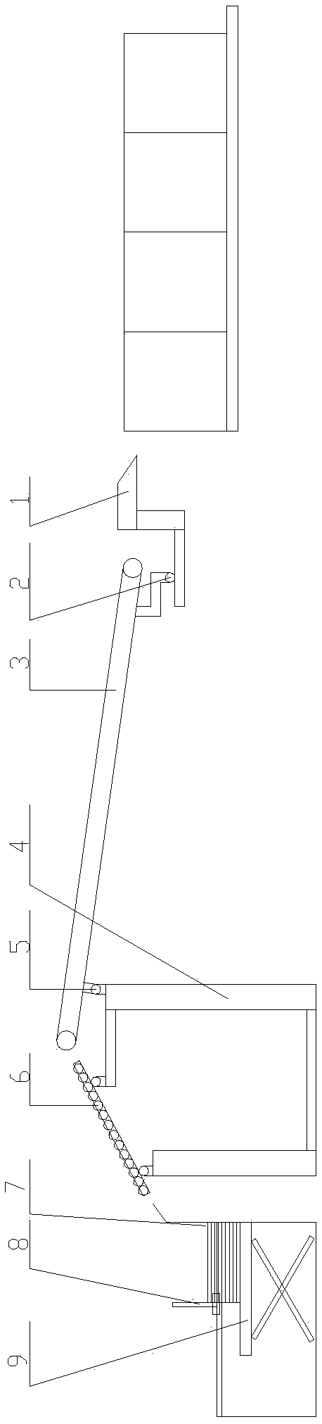
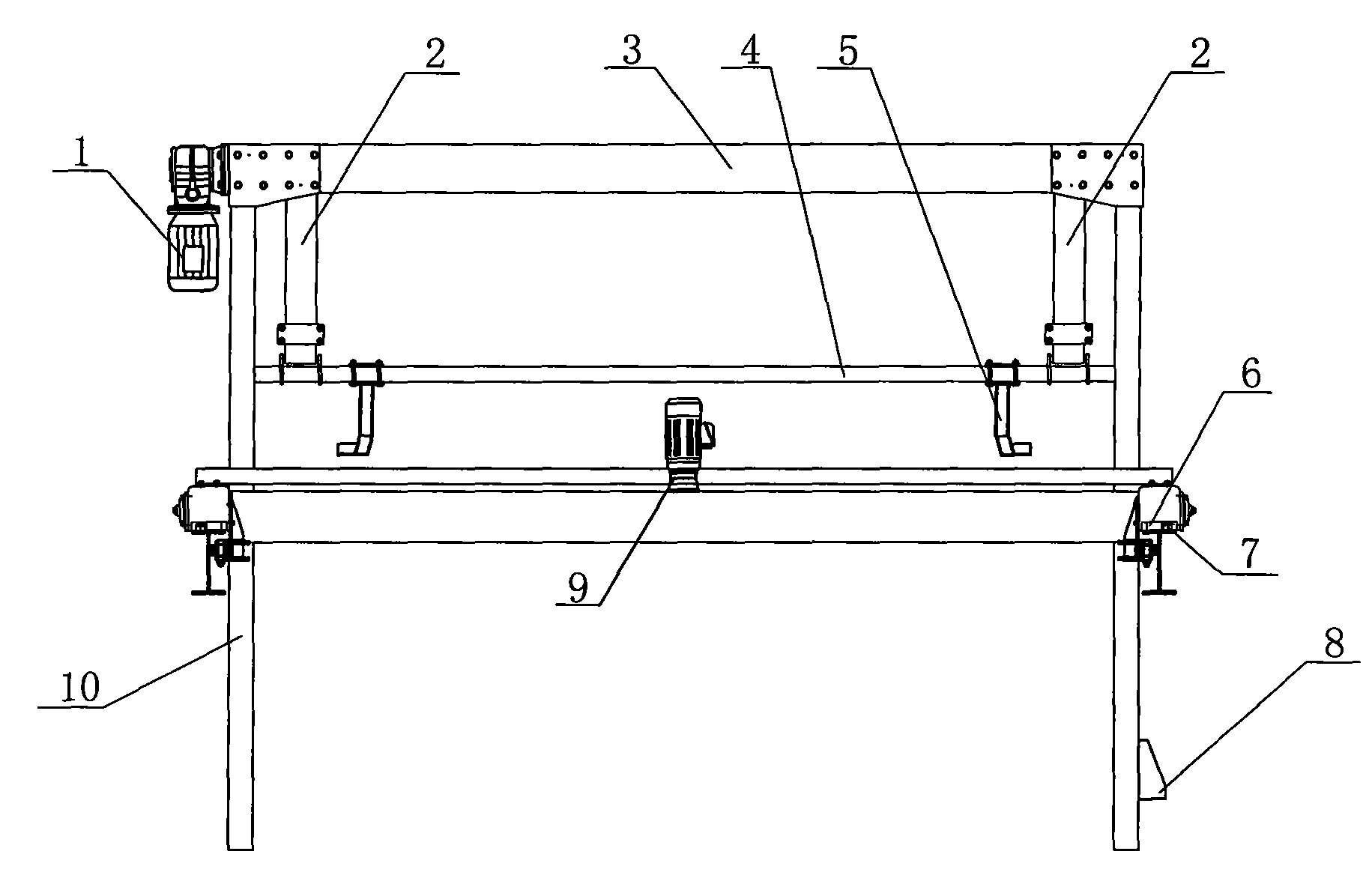
起重设备用横梁机构
无锡派乐科技有限公司
球面滚子磨床用砂轮修整器
无锡市飞象精密机床制造有限公司
环保式喷砂房
无锡朗特机械设备有限公司
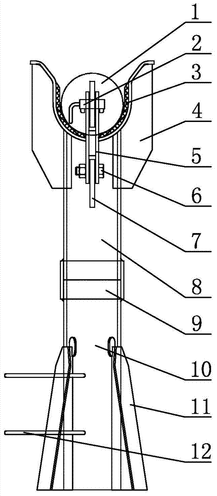
克令吊用吊臂搁架结构
无锡起岸重工机械有限公司
兼容多尺寸显示器的ECDIS设备
无锡挪瑞电子技术有限公司
自主移动机器人焊缝视觉跟踪系统及跟踪方法
湖北文理学院
电动机钢板机壳散热片卧式自动焊接机
无锡锡山安达防爆电气设备有限公司
一种造纸压型辊辊头的排油结构
无锡市洪成造纸机械有限公司
一种焊管焊缝刮刀装置
无锡中瑞知识产权代理有限公司
PU自动出料齐料装置
无锡吉兴木桥高分子材料科技有限公司
可调式电容安装工装
无锡市大元广盛电气有限公司
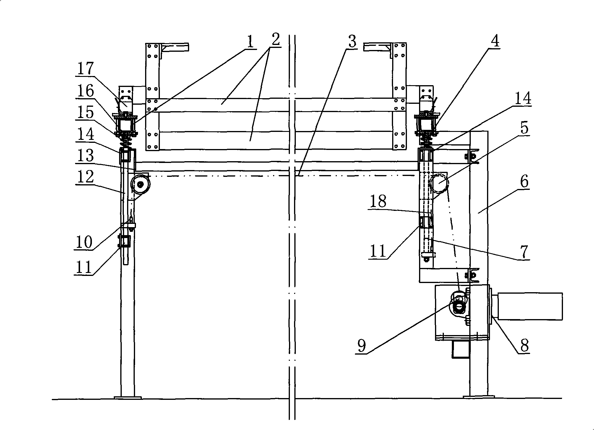
一种用于堆垛机的水平导向轮组支架
无锡中鼎物流设备有限公司
迷宫漏丸板式丸料密封装置
无锡朗特机械设备有限公司
一种电镀生产用自动搬运车
无锡星亿智能环保装备股份有限公司
一种硅片往复切割工艺
无锡尚品太阳能电力科技有限公司
一种电镀设备用阴极杆移动装置
无锡星亿智能环保装备股份有限公司
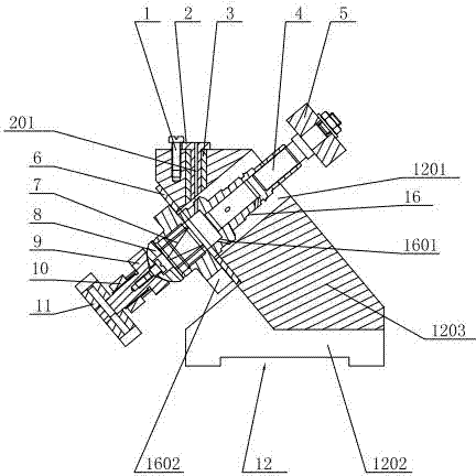
一种用于加工柱塞套上斜孔的钻模结构
无锡威孚马山油泵油嘴有限公司
一种自动化机械旋转式气泡产生器、生活用水净化系统
江苏师范大学
首页
上一页
131
132
133
134
135
136
137
下一页
尾页
共260页 转到
页