离心管结构
无锡耐思生物科技有限公司
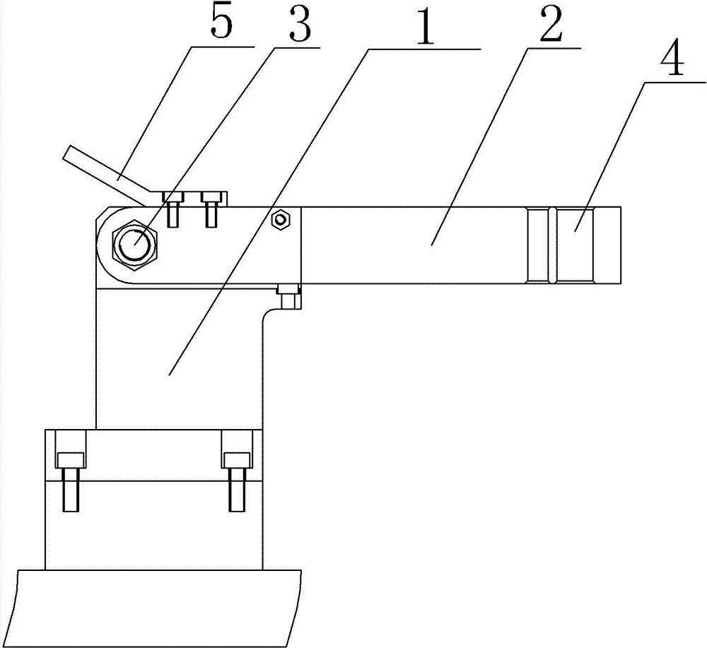
钣金件焊接装配夹具
柳州沪信汽车科技有限公司
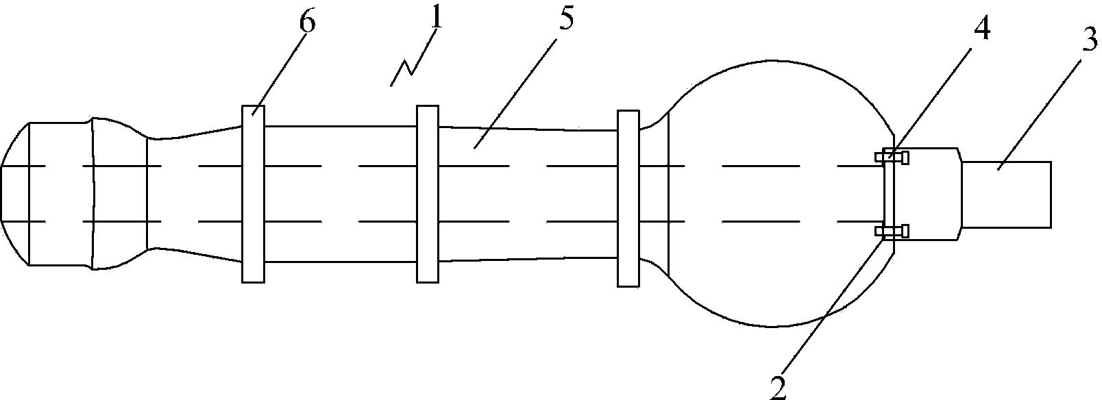
一种快速连接机构
湖北文理学院
一种电机控制器的冷却密封装置
湖北文理学院
自控降落型航空器及落伞装置
湖北文理学院
磁吸附机床热测温装置及测温方法
湖北文理学院
新型移动消毒防疫智能化喷洒机器人
湖北文理学院
一种免充气空心轮胎内部结构缺陷自动检测系统
江苏师范大学
一种中国学龄儿童健康饮食教具
江苏师范大学
一种利用蒸汽剥离技术制备单层Mxene纳米片的方法
江苏师范大学
双信号超级三明治电化学传感器检测基因甲基化的方法
江苏师范大学
中心轴结构
无锡市锡达摩擦材料厂
一种改进的轴安装座上的油润滑装置
无锡明珠增压器制造有限公司
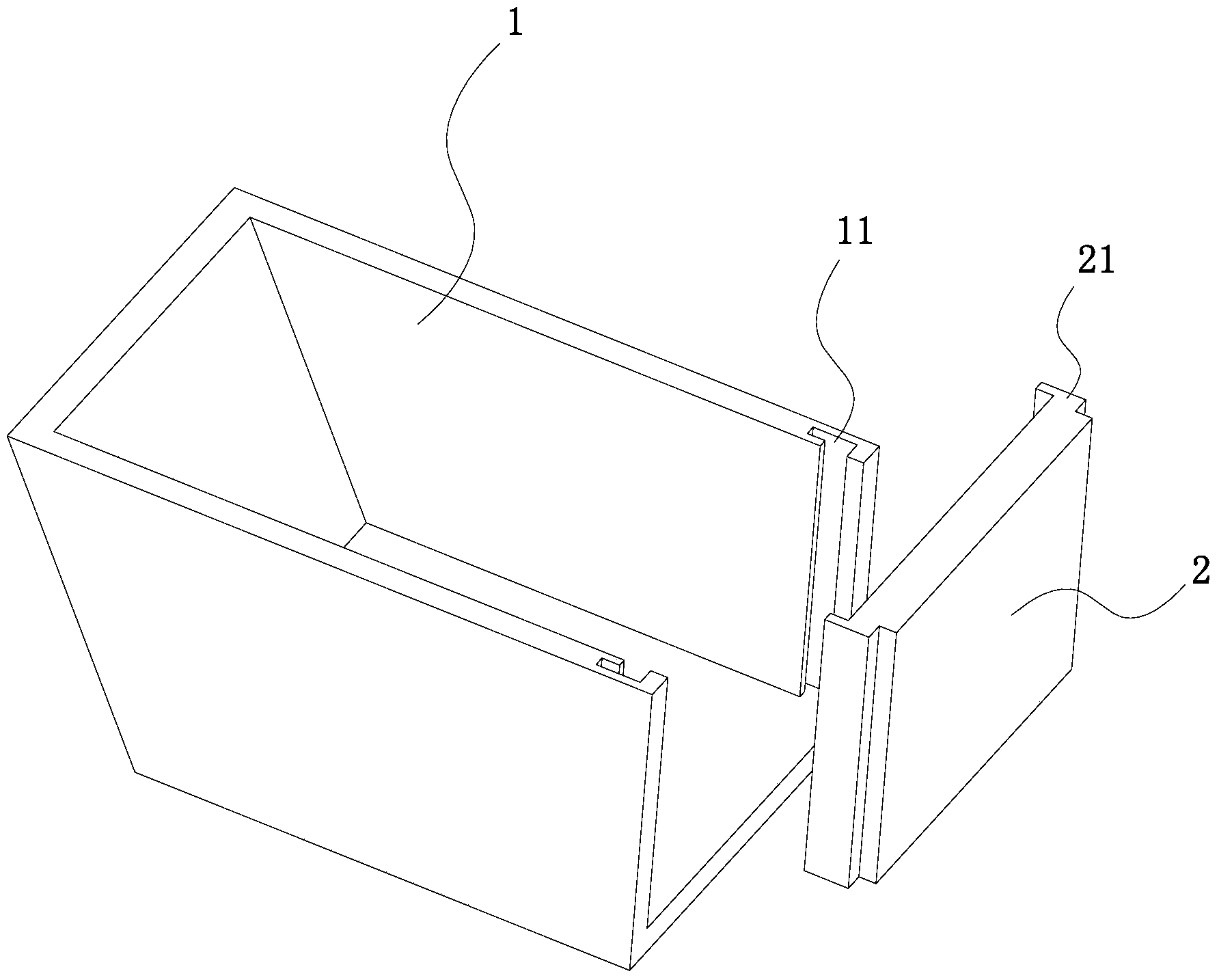
带开口结构的洗砂斗
无锡市洗选设备厂
船用分离机的滤筒结构
无锡市金港分离机械有限公司
模具架的面板
无锡市福曼科技有限公司
改良的模具架面板
无锡市福曼科技有限公司
加固型连杆结构
无锡市锡达摩擦材料厂
一种活动检测架结构
无锡麦铁精密机械制造有限公司
气缸盖罩与罩盖连接结构
无锡市贝尔机械有限公司
共260页 转到