科创中国
问题分诊室
具身智能与智慧医疗融合创新产业
高性能装备制造产业
智能机器人全产业链产业
中医药产业
人工智能产业
新一代信息技术产业
作物产业
量子科技与先进制造产业
海洋装备产业
煤炭开采及煤化工产业
特殊钢产业
节能环保产业
低空经济产业
光电产业
汽车产业
新能源产业
新材料产业
“以竹代塑”
成果发布厅
新型电力系统
化学领域
现代纺织
低空经济
信息通信
智慧公路
煤炭开采及煤化工
中医药
智能机器人全产业链
海洋装备
新一代信息技术
量子科技与先进制造
人工智能
高性能装备制造
具身智能与智慧医疗融合创新
作物
科创地方
科创北京
科创天津
科创内蒙古
科创辽宁
科创江苏
科创广西
科创广东
科创重庆
科创宁夏
科创河北
科创山东
科创河南
科创福建
科创湖南
科创黑龙江
科创湖北
科创浙江
科创山西
科创资讯
科创头条
科协活动
通知公告
科技政策
技术经理人
科技服务团
资源中心
项目库
问题库
案例库
开源库
学术资源
会议展览
品牌栏目
院士开讲
解码新质生产力
金融服务云课堂
企创云课堂
有问题想咨询
有成果想转化
我的交易
我的会议
我报名的路演会议
我的资讯
我的消息
我的动态
我的需求
我的成果
我的
个人资料编辑
退出登录
登录/注册
科创中国
需求发布
成果发布
科创案例库
揭榜挂帅
技术经理人
会议展览
科创联合体
科技服务团
科创资讯
科技政策
院士开讲
学术资源
城市站点
协作站点
搜索
问题库
项目库
开源库
English
我的交易
我的会议
我报名的路演会议
我的资讯
我的消息
我的动态
我的需求
我的成果
我的
个人资料编辑
退出登录
登录/注册
组织入驻
隐藏工作区
全国
在线展厅
切换展厅
全国
北京市
天津市
河北省
山西省
内蒙古
辽宁省
吉林省
黑龙江省
上海市
江苏省
浙江省
安徽省
福建省
江西省
山东省
河南省
湖北省
湖南省
广东省
广西
海南省
重庆市
四川省
贵州省
云南省
西藏
陕西省
甘肃省
青海省
宁夏
新疆
新疆兵团
路演活动
科技成果
参观
人数
0
0
0
0
0
0
0
点赞
人数
0
0
0
0
0
0
0
技术领域
全部
新兴行业
|
新基建
|
电子信息
|
高端产业
|
生物医药
|
石化与新材料
|
智能机械与光机电一体化
|
节能环保
|
新能源
|
现代农业
|
高端技术服务业
|
农林牧副渔
|
城建规划
|
文化创意
|
矿山工程
|
冶金工程
|
企业管理
|
知识产权
|
智库咨询
|
旅游休闲娱乐
|
企业发展服务
|
电子商务
|
纺织
|
其他
|
更多
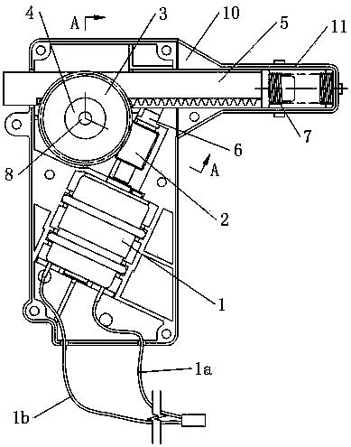
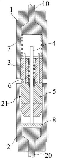
一种自锁机械连接装置及连接方法
江苏师范大学
水岩作用下煤岩压缩热辐射温度时空分布及预测的方法
江苏师范大学
一种方便维修的太阳能白光LED路灯、信息传输中继装置
江苏师范大学
智能晒谷装置
湖北文理学院
横移切割组件、自动分苗装置及覆膜移栽机
湖北文理学院
一种淬火铝合金板的拉伸系统及拉伸方法
湖北文理学院
一种可快速换向的上料机构
湖北文理学院
一种桁架式自主移动送餐机器人
湖北文理学院
QFN封装工艺的塑封料上料架
无锡红光微电子有限公司
洗碗机的自动开门组件
无锡麻德克斯精机有限公司
多媒体智能照明及灯光系统
江苏新广联绿色照明工程有限公司
一种快速连续制备大尺寸石墨烯薄膜的装置及其应用
无锡第六元素高科技发展有限公司
碳纳米管复合材料宏观性能评估方法
华中科技大学专利中心
自供电式压力传感器
华中科技大学专利中心
形成于晶圆上的修调单元
无锡中星微电子有限公司
一种断纱自动抬升机构
无锡市华文机电有限公司
一种低烟密度无卤阻燃电缆料的制备方法
无锡哈威新材料科技有限公司
汽车顶衬的聚氨酯复合废料类材料的回收工艺
无锡吉兴汽车部件有限公司
减摇水舱液压泵站液位控制装置
无锡市海联舰船附件有限公司
一种无线二合一鼠标端芯片的批量测试方法
江苏钜芯集成电路技术有限公司
首页
上一页
127
128
129
130
131
132
133
下一页
尾页
共260页 转到
页