一种托盘拆垛码垛机
湖北文理学院
一种轮胎漏气速度的检测装置
湖北文理学院
一种汽车轮胎支撑性好的两用抓取装置
湖北文理学院
一种汽车轮胎两用的抓取装置
湖北文理学院
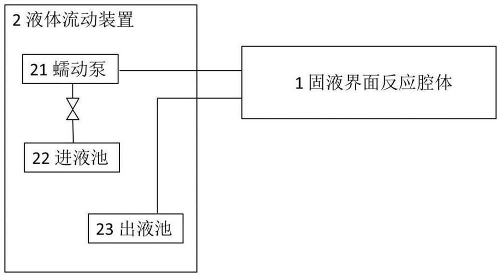
固液界面反射式原位测试装置及原位探测层间结构的方法
江南大学
一种基于滑窗的汽轮机运行工况划分的方法
无锡融合大数据创新中心有限公司
一种辅助训练的直升机飞行仿真平台
江苏桦林石化装备有限公司
一种固态锂硫电池正极及全固态锂硫电池
蜂巢能源科技(无锡)有限公司
气体冷却容器
江苏师范大学
一种标量孤子雨激光器及标量孤子雨产生方法
江苏师范大学
一种适用于干旱区FVC估算的像元二分模型参数率定方法
江苏师范大学
一种机械电气定位装置
江阴兴澄特种钢铁有限公司
用于物料自动化搬运的视觉自动导引车AGV系统
常州市武进区科技成果转移中心
可移动式安全检测消毒装置
湖北文理学院
一种可视化传感阵列芯片及其制备方法
江苏师范大学
一种基于互联网的双通道脑电信号采集设备
江苏师范大学
基于无酶级联循环信号放大的血清中循环miRNA的电化学检测方法
江苏师范大学
垃圾分拣机器人
广东弓叶科技有限公司
T型钢叠钢机构
江阴市虎踞冶金设备有限公司
一种顶穿试验的检测装置
江苏澄信检验检测认证有限公司
共260页 转到