一种清除血液毒素、改善血液粘度的中药组合
泰一和浦(北京)中医药研究院有限公司
一种治疗心慌气短病证的中药组合物及其制备
泰一和浦(北京)中医药研究院有限公司
一种治疗心肌缺血、心悸怔仲病证的中药组合
泰一和浦(北京)中医药研究院有限公司
各种酚甲醚脱甲基
宜春学院
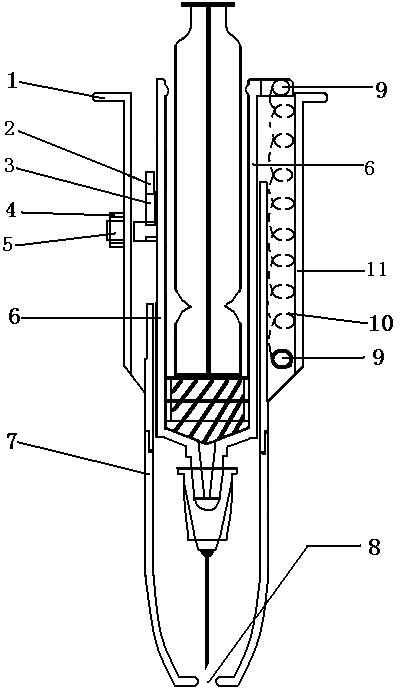
无痛注射器
宁波高新区清水绿山环保科技有限公司
一种治疗性病的中药制剂:屏风克淋胶囊
用于治疗烧烫伤的五黄软膏
河南登封市少林寺武术学院
一种治疗肺气不宣、胸闷气短病证的中药组合
泰一和浦(北京)中医药研究院有限公司
一种治疗胃癌的中药组合物及其制备方法
泰一和浦(北京)中医药研究院有限公司
一种治疗肺癌的中医组合物及其制备方法
泰一和浦(北京)中医药研究院有限公司
一种治疗肾功能衰竭病证的中药组合物及其制
泰一和浦(北京)中医药研究院有限公司
一种治疗脾胃虚弱、消化不良病证的中药组合物
泰一和浦(北京)中医药研究院有限公司
一种治疗心力衰竭病证的中药组合物及其制备
泰一和浦(北京)中医药研究院有限公司
一种治疗十二指肠溃疡的中药组合物及其制备
泰一和浦(北京)中医药研究院有限公司
一种治疗中耳炎的中药拔毒散
音乐辅助治疗输液提示器
河北农业大学
治疗烧烫伤的中药软膏
河南登封市少林寺武术学院
一种医用输液保温护套
一种蛇和药材熬制的专门治疗关节疼痛的蛇膏
中国海洋石油湛江分公司
养生益肾酒
共1012页 转到