合作开发:一种毛牙线
厦门市高层次人才发展中心
技术提供:表皮细胞生长因子
厦门市高层次人才发展中心
中药提取 东革阿里提取物的新用途
西安知宝知识产权
治疗毒虫叮咬的制剂及方法和在治疗腰腿疼,扭伤药物中应用
大同县西坪镇西坪村
一种医用防刺手套
人民医院
人自体表皮干细胞储存技术及美容抗衰制剂
河南青春源生物技术有限公司
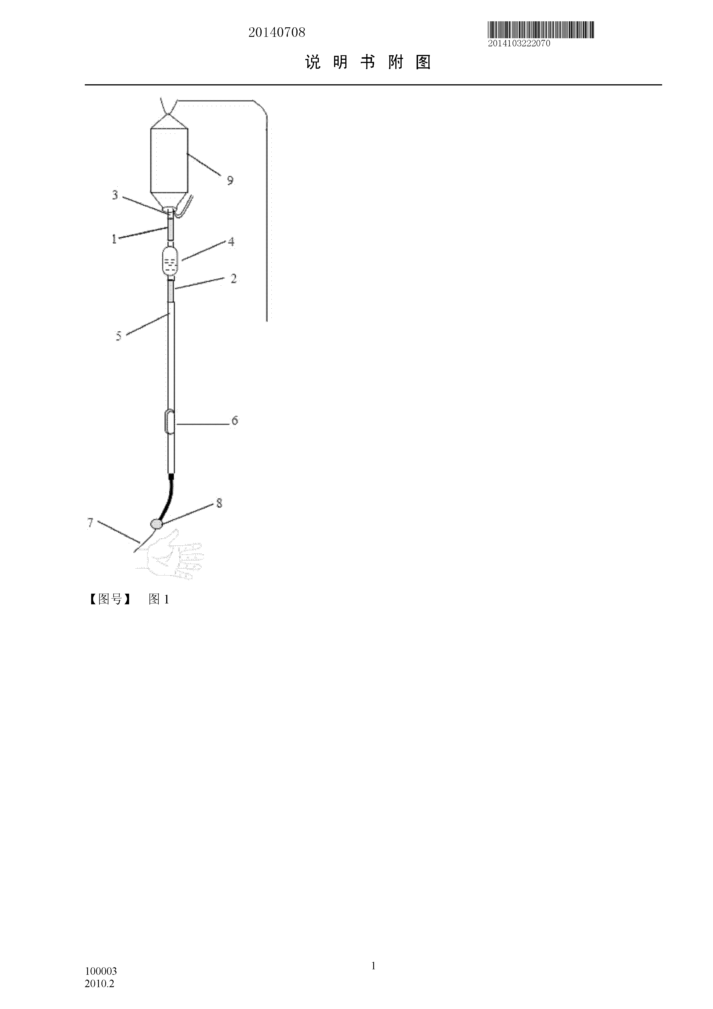
一种零能耗自止式安全输液报警系统
广州鼎瀚电子科技公司
一种配合人眼运动的眼疗仪
原武汉裕大华股份公司
一种带底座的注射器针帽
乐山市人民医院
唑来膦酸(Zometa, Zoledronic acid)
南京工业大学化学与分子工程学院
4-溴-5-甲基靛红(盐酸诺拉曲塞关键中间体)
南京工业大学化学与分子工程学院
7-溴-2-氧代庚酸(西司他丁钠关键中间体)
南京工业大学化学与分子工程学院
一种可以彻底治愈痔疮病的祖传外用中药粉
诚信手脚病痔疮病诊所
连续管式气相催化反应制备咪唑的方法
南京师范大学
利用鱼下脚料制备鱼油乙酯微胶囊的方法
华企众信商标专利事务所
中药超微粉技术;长效氟苯尼考注射剂生产技术
江西新天地药业有限公司
痔疮外用药物
个体经营户
一种高效分离茶多酚的逆流提取装置
江西富之源生物科技有限公司
微生物发酵法生产新型食品防腐剂ε-聚赖氨酸
苏州科技大学
2-(丙烯-2-基)-2,3-二氢-4-苯并呋喃酚及其制备方法与应用
华企众信商标专利事务所
共1012页 转到