科创中国
问题分诊室
具身智能与智慧医疗融合创新产业
高性能装备制造产业
智能机器人全产业链产业
中医药产业
人工智能产业
新一代信息技术产业
作物产业
量子科技与先进制造产业
海洋装备产业
煤炭开采及煤化工产业
特殊钢产业
节能环保产业
低空经济产业
光电产业
汽车产业
新能源产业
新材料产业
“以竹代塑”
成果发布厅
新型电力系统
化学领域
现代纺织
低空经济
信息通信
智慧公路
煤炭开采及煤化工
中医药
智能机器人全产业链
海洋装备
新一代信息技术
量子科技与先进制造
人工智能
高性能装备制造
具身智能与智慧医疗融合创新
作物
科创地方
科创北京
科创天津
科创内蒙古
科创辽宁
科创江苏
科创广西
科创广东
科创重庆
科创宁夏
科创河北
科创山东
科创河南
科创福建
科创湖南
科创黑龙江
科创湖北
科创浙江
科创山西
科创资讯
科创头条
科协活动
通知公告
科技政策
技术经理人
科技服务团
资源中心
项目库
问题库
案例库
开源库
学术资源
会议展览
品牌栏目
院士开讲
解码新质生产力
金融服务云课堂
企创云课堂
有问题想咨询
有成果想转化
我的交易
我的会议
我报名的路演会议
我的资讯
我的消息
我的动态
我的需求
我的成果
我的
个人资料编辑
退出登录
登录/注册
科创中国
需求发布
成果发布
科创案例库
揭榜挂帅
技术经理人
会议展览
科创联合体
科技服务团
科创资讯
科技政策
院士开讲
学术资源
城市站点
协作站点
搜索
问题库
项目库
开源库
English
我的交易
我的会议
我报名的路演会议
我的资讯
我的消息
我的动态
我的需求
我的成果
我的
个人资料编辑
退出登录
登录/注册
组织入驻
隐藏工作区
全国
在线展厅
切换展厅
全国
北京市
天津市
河北省
山西省
内蒙古
辽宁省
吉林省
黑龙江省
上海市
江苏省
浙江省
安徽省
福建省
江西省
山东省
河南省
湖北省
湖南省
广东省
广西
海南省
重庆市
四川省
贵州省
云南省
西藏
陕西省
甘肃省
青海省
宁夏
新疆
新疆兵团
路演活动
科技成果
参观
人数
0
0
0
0
0
0
0
点赞
人数
0
0
0
0
0
0
0
技术领域
全部
新兴行业
|
新基建
|
电子信息
|
高端产业
|
生物医药
|
石化与新材料
|
智能机械与光机电一体化
|
节能环保
|
新能源
|
现代农业
|
高端技术服务业
|
农林牧副渔
|
城建规划
|
文化创意
|
矿山工程
|
冶金工程
|
企业管理
|
知识产权
|
智库咨询
|
旅游休闲娱乐
|
企业发展服务
|
电子商务
|
纺织
|
其他
|
更多
碳化硅基氮化镓半导体集成电路芯片(氮化镓0.25μm HEMT晶圆)
四川省科技协同创新促进会
超分辨、高灵敏度、高特异性超级光学显微镜
天津联创科技发展有限公司
分布式光纤传感预警系统及装备
天津市联创科技发展有限公司
基于IP库的通用MEMS器件可视化仿真与验证工具
天津联创科技发展有限公司
一种多段式频谱资源分配方法
湖北文理学院
一种基于知识图谱的个性化学习特征模型的建构方法
江苏师范大学
无人机农村三级邮政体系
国科元科技
面向自动驾驶的超高速量子成像关键技术研发及产业化
国科元科技
一种基于两层架构的传感器网络事件检测方法
湖北文理学院
一种基于稀疏表示的体域网节点休眠方法
湖北文理学院
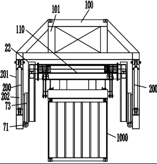
SPECIAL SPREADER FOR OVER-THE-AIR TURNOVER AND UNL
无锡开云信息技术有限公司
MATERIAL BOXING DEVICE AND MATERIAL FEEDING APPARA
无锡开云信息技术有限公司
FEED ADDITIVE FOR PREVENTING DIARRHEA AND IMPROVIN
河北科星药业有限公司
HEATING CONTROL METHOD AND APPARATUS, LAUNDRY TREA
无锡小天鹅电器有限公司
ADAPTIVE DATA DECODING CIRCUIT AND LED UNIT CIRCUI
无锡德芯微电子有限公司
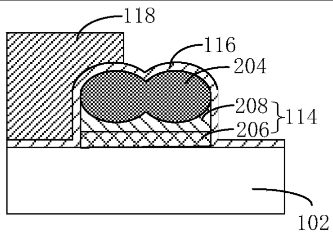
SPLIT-GATE FLASH MEMORY DEVICE AND PREPARATION MET
无锡华润上华科技有限公司
一种基于图论的裂隙网络连通性及渗流计算的方法
江苏师范大学
新能源汽车运行安全性能检验技术与装备研究
国科元科技
一种道路事件取证方法、装置、电子设备及存储介质——深圳云天励飞技术有限公司;成都云天励飞技术有限公司
成都芯谷
人脸识别方法及装置——深圳云天励飞技术有限公司;成都云天励飞技术有限公司
成都芯谷
首页
上一页
148
149
150
151
152
153
154
下一页
尾页
共356页 转到
页