科创中国
问题分诊室
具身智能与智慧医疗融合创新产业
高性能装备制造产业
智能机器人全产业链产业
中医药产业
人工智能产业
新一代信息技术产业
作物产业
量子科技与先进制造产业
海洋装备产业
煤炭开采及煤化工产业
特殊钢产业
节能环保产业
低空经济产业
光电产业
汽车产业
新能源产业
新材料产业
“以竹代塑”
成果发布厅
新型电力系统
化学领域
现代纺织
低空经济
信息通信
智慧公路
煤炭开采及煤化工
中医药
智能机器人全产业链
海洋装备
新一代信息技术
量子科技与先进制造
人工智能
高性能装备制造
具身智能与智慧医疗融合创新
作物
科创地方
科创北京
科创天津
科创内蒙古
科创辽宁
科创河北
科创湖南
科创宁夏
科创广东
科创江苏
科创广西
科创重庆
科创山东
科创河南
科创福建
科创黑龙江
科创湖北
科创浙江
科创山西
科创资讯
科创头条
科协活动
通知公告
科技政策
技术经理人
科技服务团
资源中心
项目库
问题库
案例库
开源库
学术资源
会议展览
品牌栏目
院士开讲
解码新质生产力
金融服务云课堂
企创云课堂
有问题想咨询
有成果想转化
我的交易
我的会议
我报名的路演会议
我的资讯
我的消息
我的动态
我的需求
我的成果
我的
个人资料编辑
退出登录
登录/注册
科创中国
需求发布
成果发布
科创案例库
揭榜挂帅
技术经理人
会议展览
科创联合体
科技服务团
科创资讯
科技政策
院士开讲
学术资源
城市站点
协作站点
搜索
问题库
项目库
开源库
English
我的交易
我的会议
我报名的路演会议
我的资讯
我的消息
我的动态
我的需求
我的成果
我的
个人资料编辑
退出登录
登录/注册
组织入驻
隐藏工作区
全国
在线展厅
切换展厅
全国
北京市
天津市
河北省
山西省
内蒙古
辽宁省
吉林省
黑龙江省
上海市
江苏省
浙江省
安徽省
福建省
江西省
山东省
河南省
湖北省
湖南省
广东省
广西
海南省
重庆市
四川省
贵州省
云南省
西藏
陕西省
甘肃省
青海省
宁夏
新疆
新疆兵团
路演活动
科技成果
参观
人数
0
0
0
0
0
0
0
点赞
人数
0
0
0
0
0
0
0
技术领域
全部
新兴行业
|
新基建
|
电子信息
|
高端产业
|
生物医药
|
石化与新材料
|
智能机械与光机电一体化
|
节能环保
|
新能源
|
现代农业
|
高端技术服务业
|
农林牧副渔
|
城建规划
|
文化创意
|
矿山工程
|
冶金工程
|
企业管理
|
知识产权
|
智库咨询
|
旅游休闲娱乐
|
企业发展服务
|
电子商务
|
纺织
|
其他
|
更多
一种无线门票系统
江南大学
一种实时隧道数据传输技术
江南大学
电磁仿真技术及其应用
济南优诺机电有限公司
高动态范围mini背光新型显示模组
阿尔泰(山东)显示科技有限公司
车载电子装置以及电子信息输出控制方法
山东神戎电子股份有限公司
基于 PIC 的实验系统、业务应用与评测技术
济南网泽信息技术有限公司
人工智能驱动的工况感知和识别
东北大学
基于大数据技术的制造业高质量发展综合评价方法和系统
济南智恩信息技术有限公司
未来超高速毫米波网络下的高效传输机制研究
济南辉创信息技术有限公司
网络系统、管理计算机、集群管理方法以及计算机程序
创恩(济南)信息技术有限公司
传感系统芯片平台
中科德诺微电子(深圳)有限公司
新一代窄带物联网技术 — TurMass™ 芯片和系统解决方案
上海道生物联技术有限公司
分布式驱动无人驾驶物流车/接驳车
浙江亚太智能网联汽车创新中心有限公司
电路匠人——新能源汽车互动式电路查询系统
浙江经济职业技术学院
制茶过程精准控制及设备研发
孟州市远弘干燥设备研发有限公司
《智慧门诊自助服务终端》 团体标准
浙江省标准化协会
一种基于图像处理的管道液体泄漏监测方法
武汉科技大学
基于LED的普适光通信
中国科学院半导体研究所
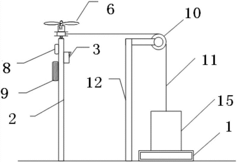
一种四旋翼飞行器参数测量及建模方法
武汉科技大学
衣车灯
温州大学
首页
上一页
117
118
119
120
121
122
123
下一页
尾页
共356页 转到
页