生物可降解塑料/淀粉复合材料
江南大学
聚乙烯醇热塑加工技术
江南大学
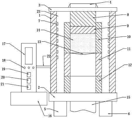
一种检测饱和土孔隙率装置及方法
太原理工大学
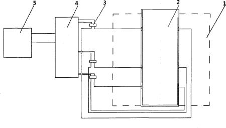
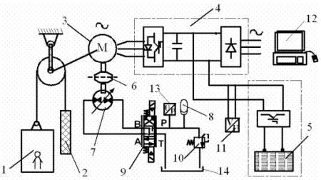
一种节能电梯及其运行的控制方法
太原理工大学
一种钯铜锡三元合金纳米催化剂的制备方法
太原理工大学
一种充填膏体料浆初凝时间的测试方法及其测试装置
太原理工大学
基于纳米氧化硅颗粒的环氧树脂复合材料的制备方法
太原理工大学
一种挤压铝基陶瓷复合材料的模具
太原理工大学
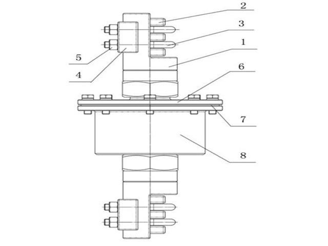
一种钢丝绳防扭转连接装置
太原理工大学
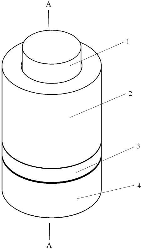
液压阻尼托辊
太原理工大学
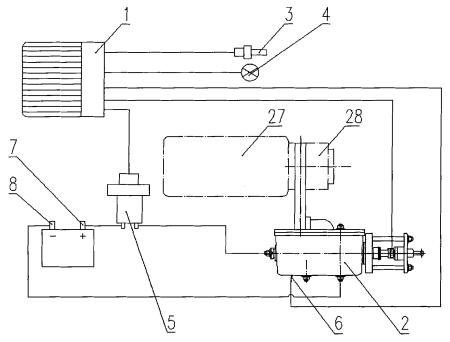
一种M100甲醇发动机冷启动装置及其冷启动方法
太原理工大学
一种连续炭催化CH4-CO
太原理工大学
石墨烯/氧化锌纳米复合材料的制备方法及其应用
太原理工大学
一种用于核燃料贮存运输的中子吸收板的制备方法
太原理工大学
玻璃纤维针织布玻纤网格设备制造及生产技术
张家港市凤凰镇新创针织机械商行
一种熄焦并带副产合成气及水蒸气的装置及其工艺
太原理工大学
一种无源光网络故障检测装置及其检测方法
太原理工大学
一种高效固体蓄能器
河北省承德市林木种苗管理站
蓄能式立体车库
河北省承德市林木种苗管理站
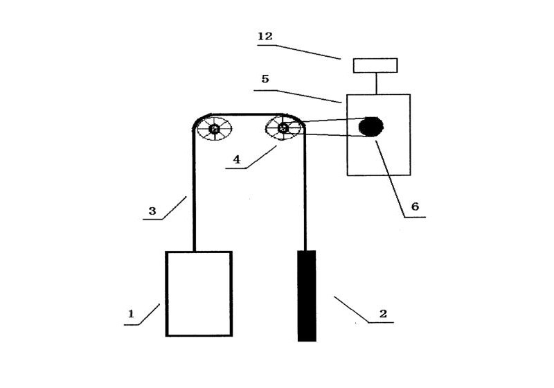
链条式蓄能电梯
河北省承德市林木种苗管理站
共1490页 转到