复合材料新技术(澳大利亚国立大学)
澳中技术资源交易有限公司
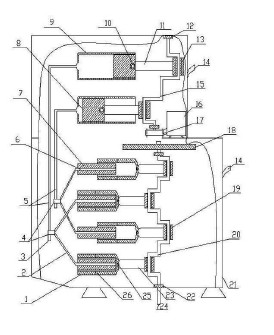
裤袜自动包装机
东华大学
棉麻纤维纱线物理晶变改性加工成套装备与工艺
东华大学
簇绒地毯织机系列成套装备技术及其产业化
东华大学
多尺度功能化复合型过滤袋关键技术及产业化
东华大学
石墨烯低成本新型制备技术
上海交通大学
纳米结构银绿色制备技术
上海交通大学
难加工材料高效高精度成形磨削技术
上海交通大学
光伏材料切割固定用胶粘剂
同济大学
蛋白-多糖复合纳来纤维组织工程皮肤
东华大学
印刷线路板制作的离子阱质量分析器
复旦大学
纳米纤维神经导管
东华大学
汽车车灯用高性能热熔胶
复旦大学
碳包覆纳米钛酸锂电极材料
复旦大学
基于纳米材料与纳米结构的全固态薄膜电池
复旦大学
一种户LA纤维及其制品染色技术
东华大学
地毯喷墨印花工艺
东华大学
柴油桩重型模锻锤技术
一种卷帘式伸缩平台系统
zhangxiqing
一种不用汽油,不用电的发动机(实用新型专利)
共1490页 转到